Operation CHARM: Car repair manuals for everyone.
Manuals through 2025 now available!

Our trusted friends have launched a new website named LEMON, which has newer manuals. It also contains all the CHARM manuals.

LEMON is the spiritual successor to CHARM, I recommend you try it!

Link: lemon-manuals.la or lemon-manuals.org.ua

(Some people have issue connecting. LEMON is investigating. For now, use Firefox or change your DNS server)

Or, hide this message: temporarily or permanently

Oil Pan, Engine

NOTICE:
- Remove any oil from the contact surface.
- Install the crankcase within 3 minutes of applying the seal packing.
- Do not start the engine for at least 2 hours after installation.


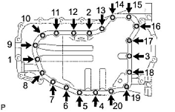
OIL PAN SUB-ASSEMBLY





- Loosely install the oil pan with the 16 bolts and 2 nuts.

HINT: Bolt length:
20 mm (0.79 in.) for bolt A,
40 mm (1.57 in.) for bolt B

- Uniformly tighten the 16 bolts and 2 nuts in the sequence shown in the illustration.
Torque: 26 Nm (265 kgf-cm, 19 ft-lbf)


NO. 2 OIL PAN SUB-ASSEMBLY





- Provisionally install the oil pan with the 18 bolts and 2 nuts.
- Uniformly tighten the 18 bolts and 2 nuts in the sequence shown in the illustration.
Torque: 9.0 Nm (92 kgf-cm, 80 in-lbf)