Operation CHARM: Car repair manuals for everyone.
Manuals through 2025 now available!

Our trusted friends have launched a new website named LEMON, which has newer manuals. It also contains all the CHARM manuals.

LEMON is the spiritual successor to CHARM, I recommend you try it!

Link: lemon-manuals.la or lemon-manuals.org.ua

(Some people have issue connecting. LEMON is investigating. For now, use Firefox or change your DNS server)

Or, hide this message: temporarily or permanently

Circuit Opening Relay








1GR-FE ENGINE CONTROL SYSTEM: CIRCUIT OPENING RELAY:

ON-VEHICLE INSPECTION

1. DISCONNECT CABLE FROM NEGATIVE BATTERY TERMINAL

NOTICE:
- Some systems need to be initialized after the cable is reconnected (Repair Instruction - Initialization).
- After the ignition switch is turned OFF, the navigation system requires approximately 90 seconds to record various types of memory and settings. As a result, after turning the ignition switch OFF, wait 90 seconds or more before disconnecting the cable from the negative (-) battery terminal.

2. REMOVE CIRCUIT OPENING RELAY (C/OPN)
(a) Remove the engine room relay block cover.
(b) Remove the circuit opening relay from the engine room relay block.
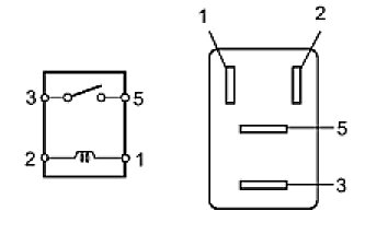
3. INSPECT CIRCUIT OPENING RELAY





(a) Measure the resistance according to the value(s) in the table below.
Standard resistance:





If the result is not as specified, replace the relay.
4. INSTALL CIRCUIT OPENING RELAY
5. CONNECT CABLE TO NEGATIVE BATTERY TERMINAL

NOTE: Some systems need to be initialized after the cable is reconnected (Repair Instruction - Initialization).