Operation CHARM: Car repair manuals for everyone.
Manuals through 2025 now available!

Our trusted friends have launched a new website named LEMON, which has newer manuals. It also contains all the CHARM manuals.

LEMON is the spiritual successor to CHARM, I recommend you try it!

Link: lemon-manuals.la or lemon-manuals.org.ua

(Some people have issue connecting. LEMON is investigating. For now, use Firefox or change your DNS server)

Or, hide this message: temporarily or permanently

Alignment: Service and Repair








NOTICE: For Zero Point Calibration information, please refer to: TSB T-SB-0020-8 (3/25/08).

SUSPENSION: FRONT WHEEL ALIGNMENT: ADJUSTMENT

ADJUSTMENT

1. INSPECT TIRE
2. MEASURE VEHICLE HEIGHT





(a) Measure the vehicle height.

Vehicle height:

2WD Except air suspension





2WD Air suspension





4WD Except air suspension





4WD Air suspension





Measuring points:
A
Ground clearance of front wheel center
B
Ground clearance of lower suspension arm No. 2 set bolt center
C
Ground clearance of rear wheel center
D
Ground clearance of strut rod set bolt center

NOTE:
Before inspecting the wheel alignment, adjust the vehicle height to the specified value.
If the vehicle height is not the specified value, try to adjust it by pushing down on or lifting the body.

3. INSPECT TOE-IN





(a) Inspect the toe-in.





If the toe-in is not within the specified value, adjust it at the rack ends.
4. ADJUST TOE-IN
(a) Remove the rack boot set clips.
(b) Loosen the tie rod end lock nuts.
(c) Turn the right and left rack ends by an equal amount to adjust the toe-in.

HINT: Try to adjust the toe-in to the center of the specified value.





(d) Make sure that the lengths of the right and left rack ends are the same.
(e) Torque the tie rod end lock nuts.
Torque: 88 Nm (897 kgf-cm, 65 ft-lbf)
(f) Place the boots on the seats and install the clips.

HINT: Make sure that the boots are not twisted.

(g) Perform VSC system calibration
5. INSPECT WHEEL ANGLE





(a) Turn the steering wheel fully, and measure the turning angle.

Wheel angle:

2WD





4WD





If the wheel angles differ from the standard of the specification, inspect the toe-in.
6. INSPECT CAMBER, CASTER AND STEERING AXIS INCLINATION





(a) Install the camber-caster-kingpin gauge or position vehicle on wheel alignment tester.
(b) Inspect the camber, the caster and the steering axis inclination.

Camber, caster and steering axis inclination:

2WD Except air suspension





2WD Air suspension





4WD Except air suspension





4WD Air suspension





If the steering axis inclination is not as specified after camber and caster have been correctly adjusted, recheck the steering knuckle and front wheel for distortion or looseness.
7. ADJUST CAMBER AND CASTER

NOTE: After the camber has been adjusted, inspect the toe-in.

(a) Loosen the nut and bolt.
(b) Turn the camber adjust cam No. 2 and toe adjust plate No. 2 in the circumference direction, and adjust the camber and the caster.

HINT: Try to adjust the camber and caster to the center value.





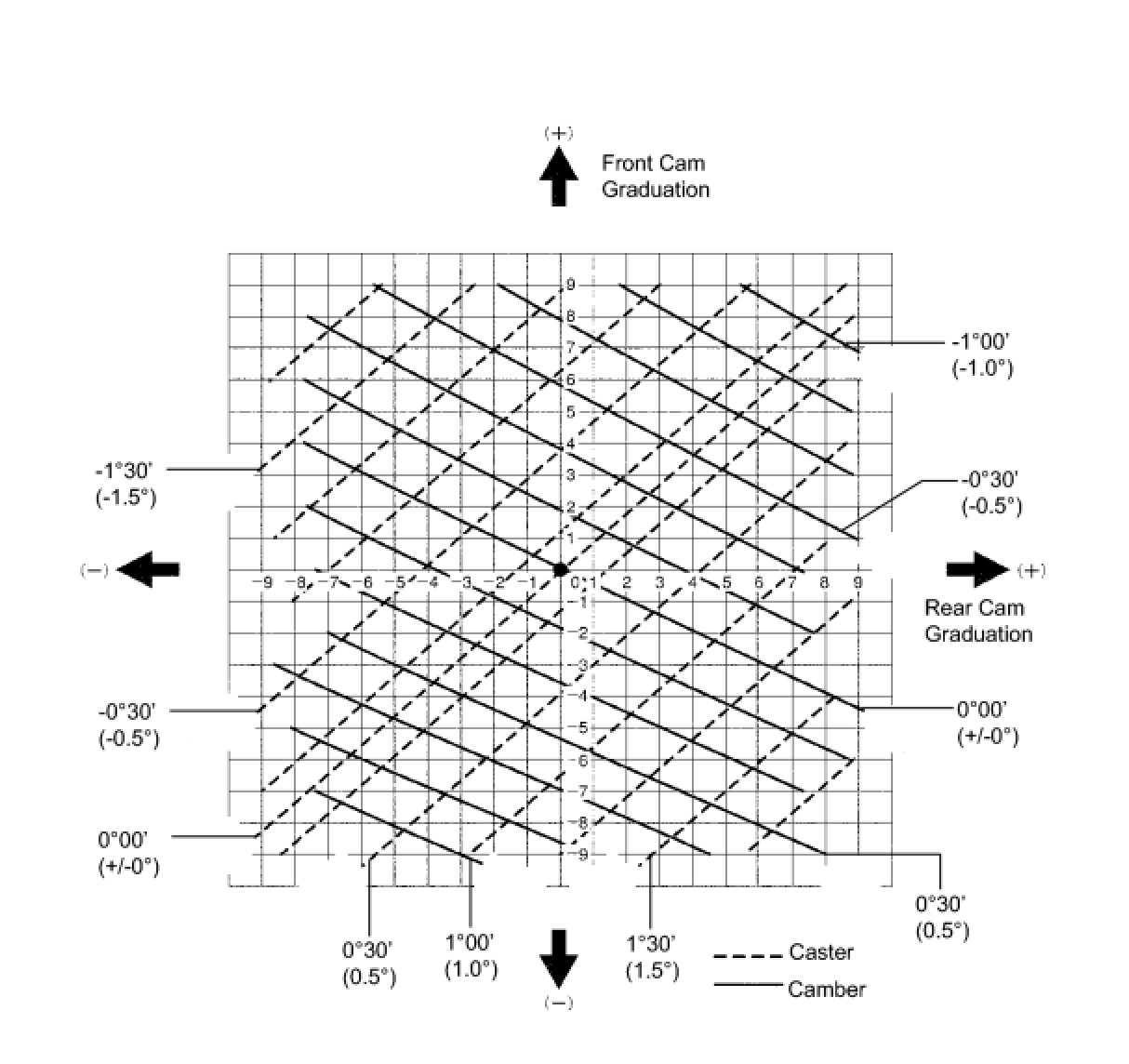
(c) How to read adjustment chart (using examples).




(1) Measure the present alignment.
Camber:
0°15' (0.25°)
Caster:
2°45' (2.75°)
(2) Make the difference between the standard value (A) and the measured value (B) on the adjustment chart.
Standard value:
Camber
0°35' (0.58°)
Caster
2°55' (2.92°)
Formula
B - A = C
Camber
0°15' - (0 35') = - 0°20'
Caster
2°45' - (2°55') = - 0°10'
(3) As shown in the chart, read the distance from the marked point to 0 point, and adjust the front and/or rear adjusting cams accordingly.
Toe adjust cam:
- (Shorter) 2.8
Camber adjust cam:
- (Shorter) 1.8