Operation CHARM: Car repair manuals for everyone.
Manuals through 2025 now available!

Our trusted friends have launched a new website named LEMON, which has newer manuals. It also contains all the CHARM manuals.

LEMON is the spiritual successor to CHARM, I recommend you try it!

Link: lemon-manuals.la or lemon-manuals.org.ua

(Some people have issue connecting. LEMON is investigating. For now, use Firefox or change your DNS server)

Or, hide this message: temporarily or permanently

Disassembly








2GR-FE CHARGING: GENERATOR: DISASSEMBLY

DISASSEMBLY

1. REMOVE GENERATOR WITH CLUTCH PULLEY





(a) Using a screwdriver, remove the generator pulley cap.





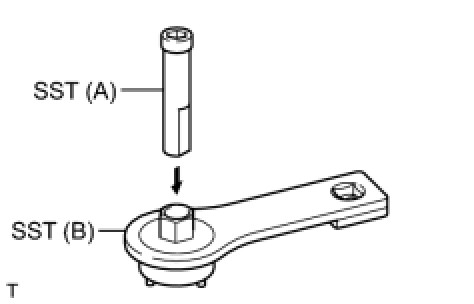
(b) Set SST (A) and (B).
SST: 09820-63020
(1) Set the rotor shaft to SST (A).
(2) Mount SST (A) in a vise.





(c) Install the generator with the SST as shown in the illustration.
(d) Turn SST (B) clockwise, and loosen the generator pulley.
(e) Remove the generator from SST.
(f) Remove the pulley from the rotor shaft.
2. REMOVE GENERATOR REAR END COVER





(a) Remove the 3 nuts and generator rear end cover.
3. REMOVE TERMINAL INSULATOR





(a) Remove the terminal insulator.
4. REMOVE GENERATOR BRUSH HOLDER ASSEMBLY





(a) Remove the 2 screws and generator brush holder assembly.
5. REMOVE GENERATOR COIL ASSEMBLY





(a) Remove the 4 bolts.





(b) Using SST, remove the generator coil assembly.
SST: 09950-40011
09951-04020
09952-04010
09953-04020
09954-04010
09955-04071
09957-04010
09958-04011
(c) Remove the generator washer.
6. REMOVE GENERATOR ROTOR ASSEMBLY
(a) Remove the generator rotor assembly.
7. REMOVE GENERATOR DRIVE END FRAME BEARING





(a) Remove the 4 screws and bearing retainer.





(b) Using SST and a hammer, tap out the generator drive end frame bearing.
SST: 09950-60010
09951-00250
SST: 09950-70010
09951-07100