Operation CHARM: Car repair manuals for everyone.
Manuals through 2025 now available!

Our trusted friends have launched a new website named LEMON, which has newer manuals. It also contains all the CHARM manuals.

LEMON is the spiritual successor to CHARM, I recommend you try it!

Link: lemon-manuals.la or lemon-manuals.org.ua

(Some people have issue connecting. LEMON is investigating. For now, use Firefox or change your DNS server)

Or, hide this message: temporarily or permanently

Installation








WINDSHIELD / WINDOWGLASS: WINDSHIELD GLASS: INSTALLATION

INSTALLATION

1. INSTALL WINDSHIELD GLASS STOPPER NO.2





(a) Coat the installation part of the stopper with Primer G.

NOTE:
- Allow the primer coating to dry for 3 minutes or more.
- Dispose of any excess Primer G.
- Do not apply too much Primer G.

(b) Install 2 new stoppers onto the glass as shown in the illustration.
Specification:





2. INSTALL WINDSHIELD GLASS STOPPER NO.1





(a) Install 2 new stoppers to the vehicle body as shown in the illustration.
3. INSTALL WINDSHIELD GLASS RETAINER





(a) Install 2 new retainers onto the glass as shown in the illustration.
4. INSTALL WINDOW GLASS ADHESIVE DAM





(a) Coat the installation part of the windshield glass adhesive dam with Primer G.

NOTE:
- Allow the primer coating to dry for 3 minutes or more.
- Dispose of any excess Primer G.
- Do not apply too much primer.

(b) Install a new dam as shown in the illustration.
Specification:





5. INSTALL WINDSHIELD GLASS
(a) Position the glass.





(1) Using the suction cup, place the glass in the correct position.
(2) Check that the whole contact surface of the glass rim is perfectly even.
(3) Place reference marks on the glass and vehicle body.

NOTE: Check that the stoppers are attached to the vehicle body correctly.

HINT: When reusing the glass, check and correct the reference mark positions.

(4) Using a suction cup, remove the glass.





(b) Using a brush, coat the exposed areas of the vehicle body, where all adhesive has been removed with Primer M.

NOTE:
- Allow the primer coating to dry for 3 minutes or more.
- Dispose of any excess Primer M.
- Do not apply too much Primer M.

(c) Using a brush or sponge, coat the edge of the glass and the contact surface with Primer M.

HINT: If a non-specified area is coated by accident, wipe off the primer with a clean piece of cloth before it dries.

NOTICE:
- Allow the primer coating to dry for 3 minutes or more.
- Dispose of away any excess Primer M.
- Do not apply too much Primer M.





(d) Apply adhesive.
Adhesive:
Part No. 00850-00801 or equivalent
(1) Cut off the tip of the cartridge nozzle as shown in the illustration.

HINT: After cutting off the tip, use adhesive within the time described in the table below.

Usage time frame:





(2) Load a sealer gun with the cartridge.
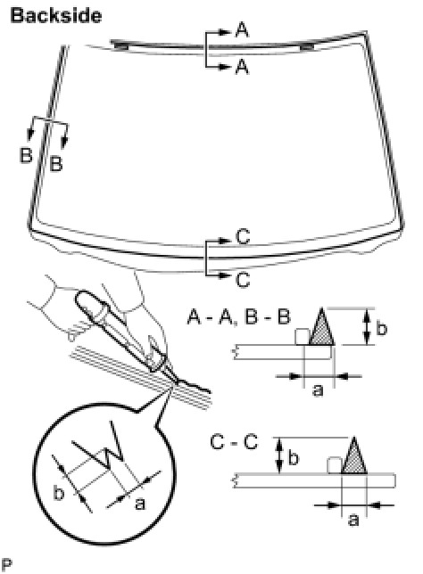
(3) Coat the glass with adhesive as shown in the illustration.
Specification:





(e) Install the glass.





(1) Using a suction cup, position the glass so that the reference marks are aligned. Press it in gently along the rim.

NOTICE:
- Allow the primer coating to dry for 3 minutes or more.
- Check that the stoppers are attached to the vehicle body correctly.
- Check that there is a small gap between the vehicle body and glass.

(2) Lightly press the front surface of the glass to ensure that the glass is securely fit to the vehicle body.





(3) Using a scraper, remove any excess or protruding adhesive (Procedure A).

HINT: Make sure that adhesive is applied up to the glass rim.

NOTE: The vehicle should not be driven until the time indicated in the table below has elapsed after procedure A.

Minimum time:





6. INSTALL WINDSHIELD MOULDING OUTER UPPER
(a) Using a brush or sponge, coat the edge of the glass and the contact surface with Primer G.

NOTICE:
- Allow the primer coating to dry for 3 minutes or more.
- Dispose of away any excess Primer G.
- Do not apply too much Primer G.

(b) Install the moulding.
7. INSPECT FOR LEAKS AND REPAIR
(a) Conduct a leak test after the adhesive has completely hardened.
(b) Seal any leaks with out glass sealer.
8. INSTALL ROOF HEADLINING ASSEMBLY
9. INSTALL SUN ROOF OPENING TRIM MOULDING
10. INSTALL RAIN SENSOR
11. INSTALL RAIN SENSOR COVER
12. INSTALL INNER REAR VIEW MIRROR STAY HOLDER COVER
13. INSTALL VISOR HOLDER
14. INSTALL ROOF CONSOLE BOX ASSEMBLY
15. INSTALL RH VISOR ASSEMBLY
16. INSTALL LH VISOR ASSEMBLY
17. INSTALL VISOR BRACKET COVER
18. INSTALL ASSIST GRIP SUB-ASSEMBLY
19. INSTALL ASSIST GRIP SUB-ASSEMBLY FRONT
20. INSTALL FRONT PILLAR GARNISH RH Installation
21. INSTALL FRONT PILLAR GARNISH LH Installation
22. INSTALL FRONT DOOR OPENING TRIM WEATHERSTRIP RH
23. INSTALL FRONT DOOR OPENING TRIM WEATHERSTRIP LH
24. INSTALL COWL TOP VENTILATOR LOUVER RH
25. INSTALL WINDSHIELD WIPER ARM AND BLADE ASSEMBLY RH
26. INSTALL WINDSHIELD WIPER ARM AND BLADE ASSEMBLY LH