Operation CHARM: Car repair manuals for everyone.
Manuals through 2025 now available!

Our trusted friends have launched a new website named LEMON, which has newer manuals. It also contains all the CHARM manuals.

LEMON is the spiritual successor to CHARM, I recommend you try it!

Link: lemon-manuals.la or lemon-manuals.org.ua

(Some people have issue connecting. LEMON is investigating. For now, use Firefox or change your DNS server)

Or, hide this message: temporarily or permanently

Position Sensor Circuit








MIRROR: POWER MIRROR CONTROL SYSTEM (w/ Memory): Position Sensor Circuit

Position Sensor Circuit

DESCRIPTION
- When SET and 1 or 2 are pressed, the position sensor detects the mirror position and sends the signal to the outer mirror control ECU. Then when position 1 or 2 is pressed, the outer mirror control ECU drives the mirror motor based on the memorized sensor positions.
HINT: The power mirror control system is part of the multiplex communication system. This system features shared communication wiring that reduces the wiring complexity of the communication lines. The first step in any repair is to confirm the proper operation of the communication system. Proceed with troubleshooting after the communication has been verified (See Multiplex Communication System) Initial Inspection and Diagnostic Overview.

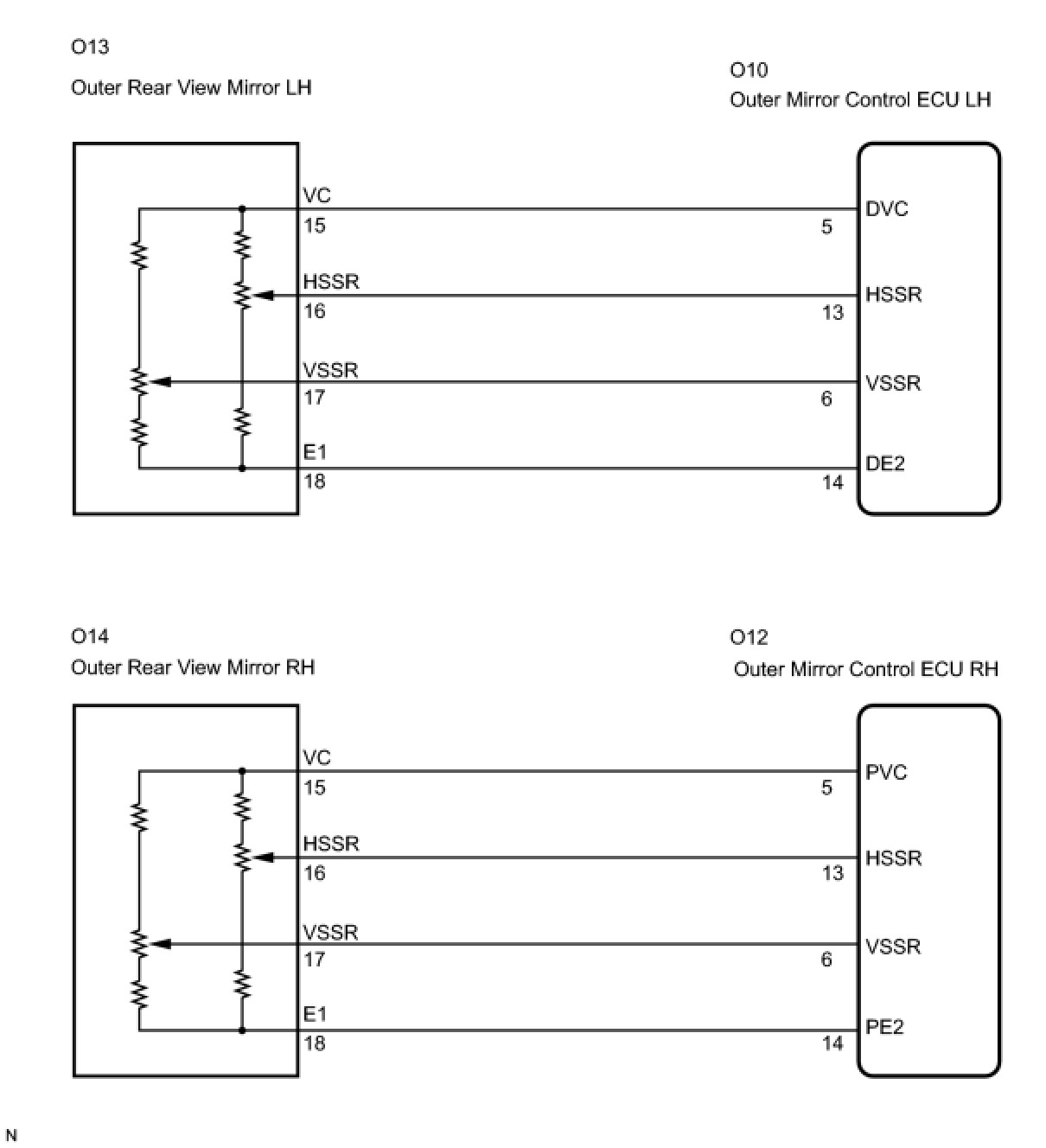
WIRING DIAGRAM





INSPECTION PROCEDURE

PROCEDURE

1. READ VALUE USING TECHSTREAM
(a) Connect Techstream to the DLC3.
(b) Ignition switch on.
(c) Read the DATA LIST according to the display on the tester.

Mirror L/Mirror R





OK:
Tester displayed is 0 V to 5 V.
OK -- PROCEED TO NEXT CIRCUIT INSPECTION SHOWN IN PROBLEM SYMPTOMS TABLE
NG -- Continue to next step.

2. CHECK HARNESS AND CONNECTOR (OUTER REAR VIEW MIRROR - OUTER MIRROR CONTROL ECU)




(a) Disconnect the O10 or O12 ECU connector.
(b) Disconnect the O13 or O14 outer mirror connector.
(c) Measure the resistance according to the value(s) in the table below.
Resistance:





*1: LH side
*2: RH side
NG -- REPAIR OR REPLACE HARNESS OR CONNECTOR
OK -- REPLACE OUTER MIRROR CONTROL ECU