Operation CHARM: Car repair manuals for everyone.
Manuals through 2025 now available!

Our trusted friends have launched a new website named LEMON, which has newer manuals. It also contains all the CHARM manuals.

LEMON is the spiritual successor to CHARM, I recommend you try it!

Link: lemon-manuals.la or lemon-manuals.org.ua

(Some people have issue connecting. LEMON is investigating. For now, use Firefox or change your DNS server)

Or, hide this message: temporarily or permanently

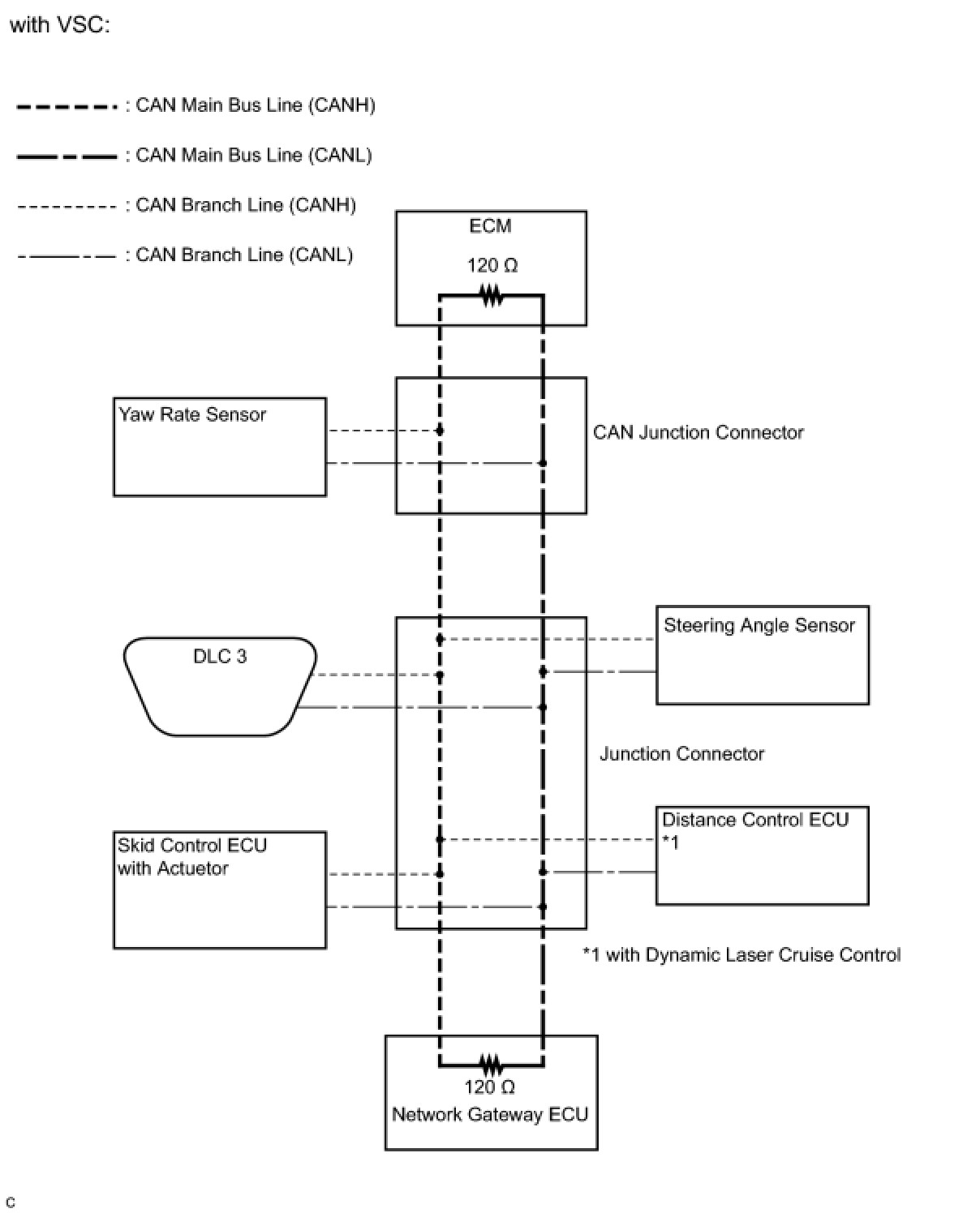
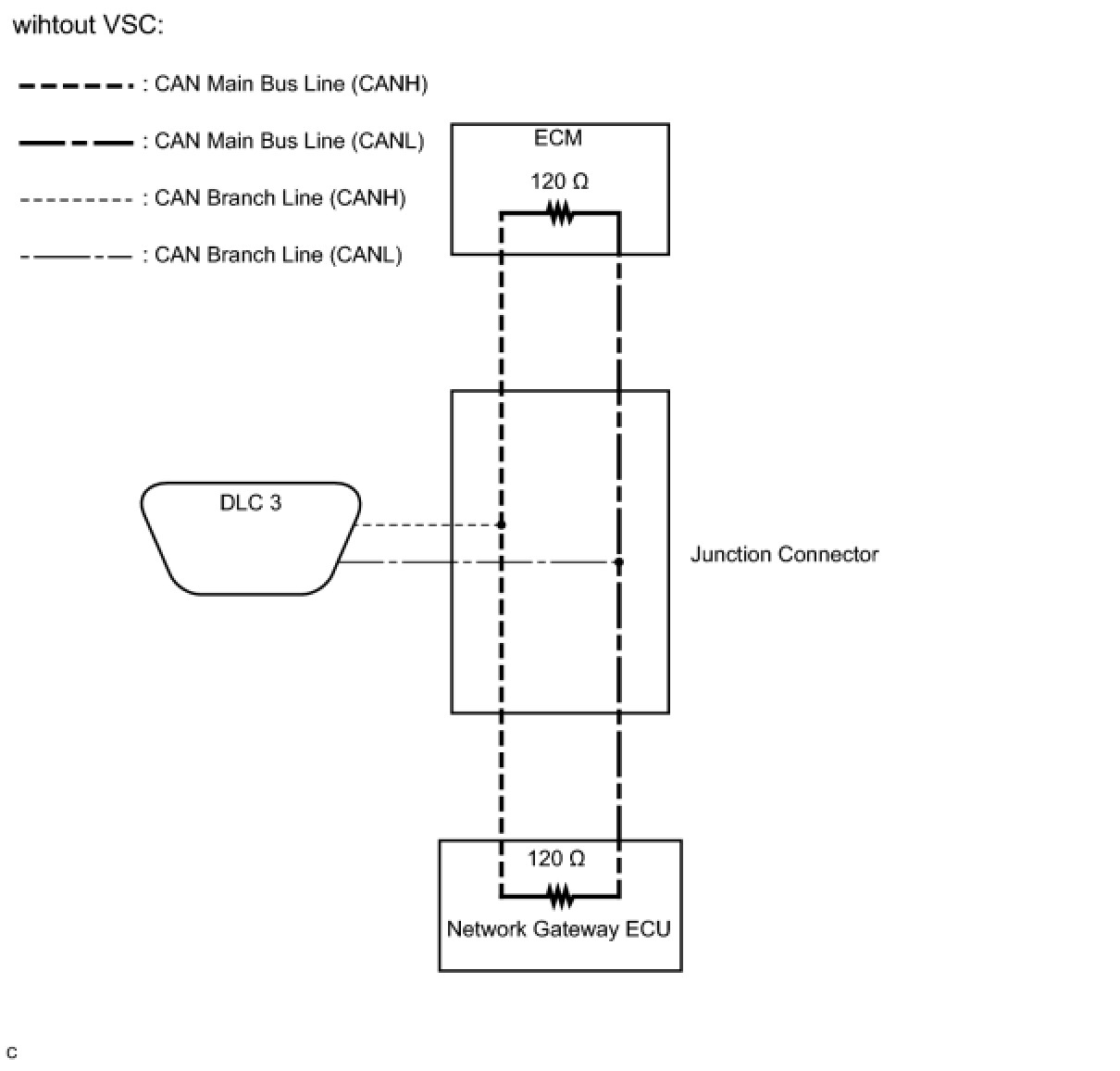
CAN Communication System















CAN COMMUNICATION: CAN COMMUNICATION SYSTEM: SYSTEM DIAGRAM

SYSTEM DIAGRAM










CAN COMMUNICATION: CAN COMMUNICATION SYSTEM: SYSTEM DESCRIPTION

SYSTEM DESCRIPTION

1. BRIEF DESCRIPTION
(a) The CAN (Controller Area Network) is a serial data communication system for real time application. It is a vehicle multiplex communication system which has a high communication speed (500 kbps) and the ability to detect malfunctions.
(b) By pairing the CANH and CANL bus lines, the CAN performs communication based on differential voltages.
(c) Many ECUs (sensors) installed on the vehicle operate by sharing information and communicating with each other.
(d) The CAN has 2 resistors of 120 Ohms which are necessary to communicate with the main wire.
2. DEFINITION OF TERMS
(a) Main wire
The main wire is a wire harness between the 2 termination circuits on the bus (communication line). This is the main bus in the CAN communication system.
(b) Branch wire
(1) The branch wire is a wire harness which diverges from the main wire to an ECU or sensor.
(c) Terminating resistors
(1) Two resistors of 120 Ohms resistance are installed in parallel across the ends of the CAN main bus wires. They are called terminating resistors. These resistors allow the changes of the voltage differential between the CAN bus wires to be accurately judged. To allow for proper function of CAN communication, it is necessary to have both terminating resistors installed. Since the two resistors are installed in parallel, a measurement of resistance between the two CAN bus wires should produce a reading of approximately 60 Ohms.
3. ECUS OR SENSORS WHICH COMMUNICATE THROUGH CAN COMMUNICATION SYSTEM
(a) ECM
(b) Network gateway ECU
(c) Skid control ECU with actuator*1
(d) Steering angle sensor*1
(e) Yaw rate sensor*1
(f) Distance control ECU*2
HINT:
*1: with VSC
*2: with Dynamic laser cruise control

4. DIAGNOSTIC CODE FOR CAN COMMUNICATION SYSTEM
(a) DTCs for the CAN communication system are as follows: U0073, U0100, U0122, U0123, U0124, U0126 and U1101.
HINT: If U0235 or U1102 is output alone, the CAN communication in normal U0235forU0235, U1102 for U1102).

5. TROUBLESHOOTING REMARKS
(a) DTCs for the CAN communication system can be checked using the Techstream. The DLC3 is connected to the CAN communication system, but no DTCs exist regarding problems in the DLC3 or the DLC3 branch wires. If there is trouble in the DLC3 or the DLC3 branch wires, ECUs on the CAN network cannot output codes to the Techstream.
(b) Trouble in the CAN buses (communication lines) can be checked by measuring the resistance between terminals of the DLC3. However, an open circuit in a branch wire other than the DLC3 branch wires cannot be checked from the DLC3.
NOTICE: Do not insert the tester probes directly into the DLC3. Be sure to use a service wires.