Operation CHARM: Car repair manuals for everyone.
Manuals through 2025 now available!

Our trusted friends have launched a new website named LEMON, which has newer manuals. It also contains all the CHARM manuals.

LEMON is the spiritual successor to CHARM, I recommend you try it!

Link: lemon-manuals.la or lemon-manuals.org.ua

(Some people have issue connecting. LEMON is investigating. For now, use Firefox or change your DNS server)

Or, hide this message: temporarily or permanently

Multiplex Communication System








MULTIPLEX COMMUNICATION: MULTIPLEX COMMUNICATION SYSTEM: SYSTEM DESCRIPTION

SYSTEM DESCRIPTION

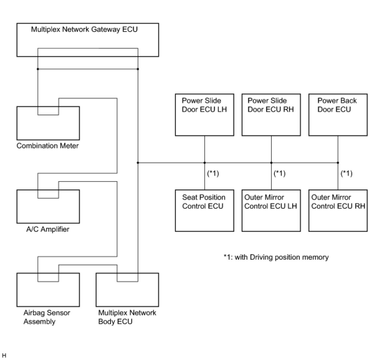
1. MULTIPLEX COMMUNICATION SYSTEM (BEAN)
(a) The BEAN communication line is used to control the combination meter, the A/C amplifier, the airbag sensor assembly, the multiplex network body ECU, the power slide door ECU LH, the power slide door ECU RH, the power back door ECU, the seat position control ECU, the outer mirror control ECU LH, and the outer mirror ECU RH. If there is a short-circuit (bus-down) in the line, the communication to the system that has a short-circuit (bus-down) will be disabled and the DTC concerning the system will be output from the multiplex network gateway ECU.









(b) If the DTC of ECU communication stop is output, connectors may be disconnected, or communication buses may be open at 2 points. It will not become abnormal with only 1 communication bus open.





(c) If 2 communication buses are open at the points shown in the illustration, the DTC of ECU communication stop between those 2 buses is output.

2. CHECK COMMUNICATION FUNCTION
(a) Check the battery voltage.
Standard voltage:
11 to 14 V
(b) Inspect the DTC output.
(1) Check a DTC concerning the multiplex network body ECU by connecting Techstream to the DLC3 and turning the ignition switch to the ON position.
(2) When the display shows DTCs concerning the ECU unconnected and the communication bus defective, perform the inspection depending on the troubleshooting procedures.
HINT: When another DTC is output, refer to the DTC table and check the applicable section.