Operation CHARM: Car repair manuals for everyone.
Manuals through 2025 now available!

Our trusted friends have launched a new website named LEMON, which has newer manuals. It also contains all the CHARM manuals.

LEMON is the spiritual successor to CHARM, I recommend you try it!

Link: lemon-manuals.la or lemon-manuals.org.ua

(Some people have issue connecting. LEMON is investigating. For now, use Firefox or change your DNS server)

Or, hide this message: temporarily or permanently

Disassembly








2GR-FE CHARGING: GENERATOR: DISASSEMBLY

DISASSEMBLY

1. REMOVE GENERATOR CLUTCH PULLEY





(a) Using a screwdriver, remove the generator pulley cap.





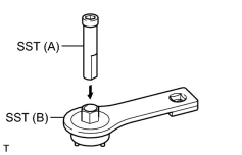
(b) Set SST (A) and (B).
SST: 09820-63021





(c) Clamp SST (A) in a vise.
NOTICE: Be sure to fix the flat surface of SST (A) in a vise.





(d) Place the rotor shaft end into SST (A).





(e) Fit SST (B) to the clutch pulley.





(f) Loosen the pulley by turning SST (B) in the direction shown in the illustration.
NOTICE: Hold the generator assembly tightly.

(g) Remove the generator assembly from SST.
(h) Remove the clutch pulley from the rotor shaft.
2. REMOVE GENERATOR REAR END COVER





(a) Place the generator assembly on the clutch pulley.





(b) Remove the 3 nuts and generator rear end cover.
3. REMOVE GENERATOR TERMINAL INSULATOR





(a) Remove the terminal insulator from the generator coil.
4. REMOVE GENERATOR BRUSH HOLDER ASSEMBLY





(a) Remove the 2 screws and brush holder from the generator coil.
5. REMOVE GENERATOR COIL ASSEMBLY





(a) Remove the 4 bolts.





(b) Using SST, remove the generator coil assembly.
SST: 09950-40011
09951-04020
09952-04010
09953-04020
09954-04010
09955-04071
09957-04010
09958-04011
6. REMOVE GENERATOR ROTOR ASSEMBLY





(a) Remove the generator washer.





(b) Remove the generator rotor assembly.