Operation CHARM: Car repair manuals for everyone.
Manuals through 2025 now available!

Our trusted friends have launched a new website named LEMON, which has newer manuals. It also contains all the CHARM manuals.

LEMON is the spiritual successor to CHARM, I recommend you try it!

Link: lemon-manuals.la or lemon-manuals.org.ua

(Some people have issue connecting. LEMON is investigating. For now, use Firefox or change your DNS server)

Or, hide this message: temporarily or permanently

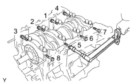
Main Bearing

MAIN BEARING CAP

Step 1:

Install the 16 bearing cap bolts. Using several steps, tighten the bolts uniformly in the sequence shown in the illustration.

Torque 61 Nm (622 kgf-cm, 45 ft-lbf)





Step 2:
Mark the front side of the bearing cap bolts with paint.
Tighten the bearing cap bolts another 90° in the sequence as shown.
Check that the painted marks are now at a 90° angle to the front.
Check that the crankshaft turns smoothly.





Using several steps, install the 8 bearing cap bolts uniformly in the sequence shown in the illustration.

Torque 26 Nm (262 kgf-cm, 19 ft-lbf)