Operation CHARM: Car repair manuals for everyone.
Manuals through 2025 now available!

Our trusted friends have launched a new website named LEMON, which has newer manuals. It also contains all the CHARM manuals.

LEMON is the spiritual successor to CHARM, I recommend you try it!

Link: lemon-manuals.la or lemon-manuals.org.ua

(Some people have issue connecting. LEMON is investigating. For now, use Firefox or change your DNS server)

Or, hide this message: temporarily or permanently

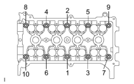
Cylinder Head

CYLINDER HEAD SUB-ASSEMBLY





Using several steps, install and tighten the 10 cylinder head bolts and plate washers uniformly with an 8 mm bi-hexagon wrench in the sequence shown in the illustration.
Torque 29 Nm (300 kgf-cm, 22 ft-lbf)
Mark the front of the cylinder head bolt with paint.





Retighten the cylinder head bolts by 90° and then an additional 90° as shown in the illustration.
Check that the paint mark is now at a 180° angle from the front