Operation CHARM: Car repair manuals for everyone.
Manuals through 2025 now available!

Our trusted friends have launched a new website named LEMON, which has newer manuals. It also contains all the CHARM manuals.

LEMON is the spiritual successor to CHARM, I recommend you try it!

Link: lemon-manuals.la or lemon-manuals.org.ua

(Some people have issue connecting. LEMON is investigating. For now, use Firefox or change your DNS server)

Or, hide this message: temporarily or permanently

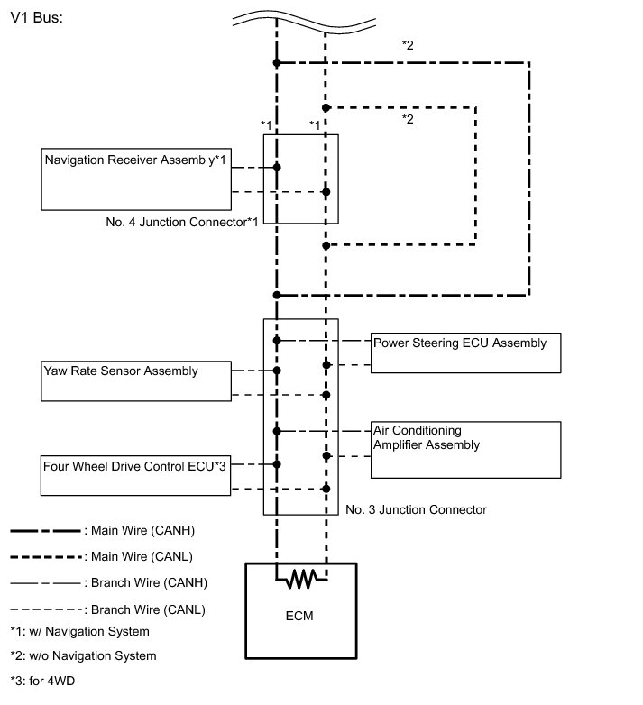
CAN Communication System











NETWORKING: CAN COMMUNICATION SYSTEM: SYSTEM DIAGRAM









* *1: w/ Navigation System

* *2: for 4WD





* *1: w/ Navigation System

* *2: for 4WD

* *3: w/ Kinetic Dynamic Suspension System

* *4: w/ CRAWL Control

1. w/ Smart Key System:













2. w/o Smart Key System:













NETWORKING: CAN COMMUNICATION SYSTEM: SYSTEM DESCRIPTION

1. BRIEF DESCRIPTION

(a) The CAN (Controller Area Network) is a serial data communication system for real-time application. It is a vehicle multiplex communication system which has a high communication speed (500 kbps, 250 kbps) and the ability to detect malfunctions.

(b) By pairing the CANH and CANL bus lines, the CAN performs communication based on differential voltages.

(c) Many ECUs (sensors) installed on the vehicle operate by sharing information and communicating with each other.

(d) The CAN has 2 resistors of 120 Ohms which are necessary to communicate using the main wire.

2. DEFINITION OF TERMS

(a) Main wire

(1) The main wire is a wire harness between the 2 termination circuits on the bus (communication line). This is the main bus in the CAN communication system.

(b) Branch wire

(1) The branch wire is a wire harness which diverges from the main wire to an ECU or sensor.

(c) Termination circuits

(1) The termination circuit is a circuit which converts the communication current of the CAN communication into the bus voltage. It consists of a resistor and capacitor. 2 termination circuits are necessary on a bus.

(d) CAN junction connector

(1) The CAN junction connector is designed so that it can be used with CAN communication which has a termination circuit and CAN communication which does not have a termination circuit.

3. CIRCUIT DESCRIPTION

(a) The V1 bus, power management bus*1 and MS bus*2 each have termination circuits with a resistance of 120 Ohms x 2. High speed communication at 500 kbps and 250 kbps is possible.

* *1: w/ Smart Key System

* *2: w/ CRAWL Control

4. ECUS OR SENSORS WHICH COMMUNICATE VIA CAN COMMUNICATION SYSTEM

(a) Combination meter assembly

(b) Master cylinder solenoid (skid control ECU)

(c) Main body ECU (multiplex network body ECU)

(d) Stabilizer control ECU*1

(e) Center airbag sensor assembly

(f) Spiral cable sub-assembly (steering angle sensor)

(g) DLC3

(h) Navigation receiver assembly*2

(i) Certification ECU*3

(j) Yaw rate sensor assembly

(k) Power steering ECU assembly

(l) Four wheel drive control ECU*4

(m) Air conditioning amplifier assembly

(n) Power management control ECU*3

(o) Drive monitor switch*5

(p) ECM

* *1: w/ Kinetic Dynamic Suspension System

* *2: w/ Navigation System

* *3: w/ Smart Key System

* *4: for 4WD

* *5: w/ CRAWL Control

5. DIAGNOSTIC CODES FOR CAN COMMUNICATION SYSTEM

(a) DTCs for the CAN communication system are as follows: U0073, U0100, U0101, U0114, U0122, U0123, U0124, U0126, U0129, U0131, U0139, U0140, U0142, U0151, U0155, U0164, U0327, U1002, U1133 and U1114.

6. NOTES REGARDING TROUBLESHOOTING

(a) Trouble in the CAN bus (communication line) can be checked through the DLC3 (except when there is a wire break in the branch wire of the DLC3).

(b) DTCs regarding the CAN communication system can be checked using the Techstream.

(c) The CAN communication system cannot detect trouble in the branch line of the DLC3 even though the DLC3 is also connected to the CAN communication system.

7. HOW TO DISTINGUISH CAN JUNCTION CONNECTOR CONNECTORS

(a) In the CAN communication system, the shape of all connectors connected to the CAN junction connector is the same.

The connectors connected to the CAN junction connector can be distinguished by the colors of the bus line and the connecting side of the connector.

HINT
Refer to "Terminals of ECU" CAN Communication System for bus line color or the connecting side of the connector.