Operation CHARM: Car repair manuals for everyone.
Manuals through 2025 now available!

Our trusted friends have launched a new website named LEMON, which has newer manuals. It also contains all the CHARM manuals.

LEMON is the spiritual successor to CHARM, I recommend you try it!

Link: lemon-manuals.la or lemon-manuals.org.ua

(Some people have issue connecting. LEMON is investigating. For now, use Firefox or change your DNS server)

Or, hide this message: temporarily or permanently

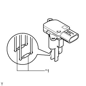
Inspection





1GR-FE ENGINE CONTROL SYSTEM: MASS AIR FLOW METER: INSPECTION

1. INSPECT MASS AIR FLOW METER

(a) Perform a visual check for any foreign matter on the platinum hot wire (heater) of the mass air flow meter shown in the illustration.









OK:

There is no foreign matter.

(b) If the result is not as specified, replace the mass air flow meter.

(c) Measure the resistance according to the value(s) in the table below.









Standard Resistance:





(d) If the result is not as specified, replace the mass air flow meter.