Operation CHARM: Car repair manuals for everyone.
Manuals through 2025 now available!

Our trusted friends have launched a new website named LEMON, which has newer manuals. It also contains all the CHARM manuals.

LEMON is the spiritual successor to CHARM, I recommend you try it!

Link: lemon-manuals.la or lemon-manuals.org.ua

(Some people have issue connecting. LEMON is investigating. For now, use Firefox or change your DNS server)

Or, hide this message: temporarily or permanently

Part 2





U341E AUTOMATIC TRANSMISSION / TRANSAXLE: AUTOMATIC TRANSAXLE UNIT: REASSEMBLY - (Continued)

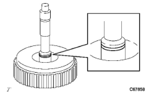
51. INSTALL DIRECT CLUTCH PISTON O-RING

(a) Coat 2 new O-rings with ATF and install them to the direct clutch piston.





NOTICE:
Do not damage the O-rings.

52. INSTALL DIRECT CLUTCH DRUM SUB-ASSEMBLY

(a) Coat the direct clutch drum with ATF.

(b) Align a cutout on the intermediate shaft assembly with the matchmark on the direct clutch drum and install the direct clutch drum to the intermediate shaft assembly.





NOTICE:
Do not damage the O-ring or the lip of the clutch drum.

53. INSTALL DIRECT CLUTCH PISTON SUB-ASSEMBLY

(a) Coat the direct clutch piston with ATF and install it to the intermediate shaft.





NOTICE:
Do not damage the O-ring or the direct clutch piston.

54. INSTALL DIRECT CLUTCH RETURN SPRING SUB-ASSEMBLY

(a) Install the direct clutch return spring onto the direct clutch piston.





(b) Place SST on the piston return spring and compress the springs with a press.

SST : 09387-00020

(c) Using snap ring pliers, install the snap ring to the direct clutch drum.

NOTICE:
* Stop the press when the spring seat is lowered 1 to 2 mm (0.0393 to 0.0787 in.) from the snap ring groove. This prevents the spring seat from being deformed.
* Do not expand the snap ring excessively.
55. INSTALL DIRECT CLUTCH DISC

(a) Coat the 3 direct clutch plates, 3 discs and direct clutch flange with ATF and install them to the intermediate shaft.





(b) Install the snap ring to the intermediate shaft.

56. INSTALL REVERSE CLUTCH DISC

(a) Coat the 3 plates, 3 discs and flange with ATF, and install them to the intermediate shaft.





(b) Install the snap ring to the intermediate shaft.

57. INSPECT PACK CLEARANCE OF REVERSE CLUTCH Transaxle Unit

58. INSPECT PACK CLEARANCE OF DIRECT CLUTCH Transaxle Unit

59. INSTALL INTERMEDIATE SHAFT ASSEMBLY

(a) Install the intermediate shaft assembly to the transaxle case.





60. INSPECT 2ND COAST AND OVERDRIVE BRAKE CLEARANCE Transaxle Unit

61. INSTALL REAR CLUTCH DRUM THRUST NEEDLE ROLLER BEARING

(a) Install the bearing to the intermediate shaft.





62. INSPECT INTERMEDIATE SHAFT ASSEMBLY Transaxle Unit

63. INSTALL TRANSAXLE CASE GASKET

(a) Install 4 new gaskets to the transaxle case.





64. INSTALL REAR TRANSAXLE COVER NEEDLE ROLLER BEARING

(a) Coat a new needle roller bearing with ATF.





(b) Using SST and a press, install the needle roller bearing into the rear transaxle cover.

SST : 09950-60010

09951-00190

09952-06010

SST : 09950-70010

09951-07100

Standard clearance:

25.1 mm (0.988 in.)

65. INSTALL CLUTCH DRUM OIL SEAL RING

(a) Compress the 3 oil seal rings from both sides to reduce dimension A.





Dimension A:

5.0 mm (0.197 in.)

(b) Coat 3 oil seal rings with ATF and install them to the rear transaxle cover.

66. INSTALL 2ND COAST AND OVERDRIVE O-RING

(a) Coat 2 new O-rings with ATF and install them to the 2nd coast and overdrive brake piston.





NOTICE:
Do not damage the O-rings.

67. INSTALL 2ND COAST AND OVERDRIVE BRAKE PISTON

(a) Coat the piston with ATF and install it to the rear transaxle cover.





NOTICE:
Do not damage the O-rings.

68. INSTALL OVERDRIVE BRAKE RETURN SPRING SUB-ASSEMBLY

(a) Using SST and a press, install the overdrive brake return spring sub-assembly and snap ring to the rear transaxle cover.





SST : 09387-00070

NOTICE:
* Stop the press when the spring seat is lowered 1 to 2 mm (0.0393 to 0.0787 in.) from the snap ring groove. This prevents the spring seat from being deformed.
* Do not expand the snap ring excessively.
69. INSTALL REAR TRANSAXLE COVER PLUG

(a) Coat 4 new O-rings with ATF, and install them to the 4 rear transaxle cover plugs.





(b) Install the 4 rear transaxle cover plugs to the rear transaxle cover.

Torque : 7.4 Nm (76 kgf-cm, 66 in-lbf)

NOTICE:
Do not damage the O-rings.

70. INSTALL REAR TRANSAXLE COVER ASSEMBLY

(a) Apply seal packing to the transaxle case.





Seal packing:

Toyota Genuine Seal Packing 1281, Three Bond 1281 or equivalent

(b) Install the rear transaxle cover assembly with the 11 bolts.





Torque : 25 Nm (255 kgf-cm, 18 ft-lbf)

71. INSTALL FORWARD CLUTCH HUB SUB-ASSEMBLY

(a) Install the forward clutch hub sub-assembly onto the transaxle case.





72. INSTALL FORWARD CLUTCH HUB THRUST NEEDLE ROLLER BEARING

(a) Install the bearing to the forward clutch hub.





73. INSTALL INPUT SHAFT OIL SEAL RING

(a) Coat a new input shaft oil seal ring with ATF, and install it to the input shaft.





74. INSTALL FORWARD CLUTCH PISTON O-RING

(a) Coat a new clutch piston O-ring with ATF, and install it to the forward clutch piston.





75. INSTALL FORWARD CLUTCH PISTON

(a) Install the forward clutch piston to the input shaft.





NOTICE:
Do not damage the O-ring.

76. INSTALL FORWARD CLUTCH RETURN SPRING SUB-ASSEMBLY

(a) Install the return spring and clutch balancer to the input shaft.





(b) Using SST, a press and snap ring pliers, install the snap ring to the input shaft.





SST : 09320-89010

77. INSTALL FRONT CLUTCH DISC

(a) Install the 4 plates, 4 discs and flange.





(b) Using a screwdriver, install the snap ring to the input shaft.

78. INSPECT PACK CLEARANCE OF FORWARD CLUTCH Transaxle Unit

79. INSTALL STATOR SHAFT THRUST NEEDLE ROLLER BEARING

(a) Install the bearing to the input shaft assembly.





80. INSTALL INPUT SHAFT ASSEMBLY

(a) Install the input shaft assembly to the transaxle case.





81. INSTALL OVERDRIVE BRAKE GASKET

(a) Install 2 new gaskets to the transaxle case.





82. INSTALL DIFFERENTIAL GEAR ASSEMBLY

(a) Install the differential gear assembly to the transaxle case.





83. INSTALL OIL PUMP ASSEMBLY

(a) Install the oil pump assembly with the 7 bolts.





Torque : 22 Nm (224 kgf-cm, 16 ft-lbf)

84. INSPECT INPUT SHAFT ASSEMBLY Transaxle Unit

85. INSPECT INPUT SHAFT END PLAY Transaxle Unit

86. INSTALL TRANSAXLE HOUSING

(a) Apply seal packing to the transaxle case.





Seal packing:

Toyota Genuine Seal Packing 1281, Three Bond 1281 or equivalent

(b) Install the transaxle housing with the 14 bolts.





Bolt A - Torque : 29 Nm (296 kgf-cm, 21 ft-lbf)

Bolt B - Torque : 22 Nm (224 kgf-cm, 16 ft-lbf)

87. INSTALL C-2 ACCUMULATOR PISTON

(a) Coat 2 new O-rings with ATF and install them to the C-2 accumulator piston.





NOTICE:
Do not damage the O-rings.

(b) Install the spring and C-2 accumulator piston.





Accumulator Spring:





88. INSTALL C-3 ACCUMULATOR PISTON

(a) Coat 2 new O-rings with ATF and install them to the C-3 accumulator piston.





NOTICE:
Do not damage the O-rings.

(b) Install the spring and C-3 accumulator piston.





Accumulator Spring:





89. INSTALL B-2 ACCUMULATOR PISTON

(a) Coat 2 new O-rings with ATF and install them to the B-2 accumulator piston.





NOTICE:
Do not damage the O-rings.

(b) Install the spring and B-2 accumulator piston.





Accumulator Spring:





90. INSTALL CHECK BALL BODY

(a) Install the spring and check ball body.





91. INSTALL BRAKE DRUM GASKET

(a) Install a new brake drum gasket.





92. INSTALL TRANSAXLE CASE GASKET

(a) Coat a new transaxle case gasket with ATF, and install it to the transaxle case.





93. INSTALL TRANSAXLE CASE 2ND BRAKE GASKET

(a) Coat a new transaxle case 2nd brake gasket with ATF, and install it to the transaxle case.





94. INSTALL TRANSMISSION WIRE

(a) Coat a new O-ring with ATF, and install it into the transmission wire.





(b) Insert the transmission wire to the transaxle.





(c) Install the transmission wire with the bolt.





Torque : 5.4 Nm (55 kgf-cm, 48 in-lbf)

95. INSTALL TRANSMISSION VALVE BODY ASSEMBLY

(a) Align the groove of the manual valve with the pin of the manual valve lever.

(b) Temporarily install the valve body with the 13 bolts.





Bolt length:

Bolt A: 32 mm (1.26 in.)

Bolt B: 22 mm (0.866 in.)

Bolt C: 55 mm (2.17 in.)

Bolt D: 45 mm (1.77 in.)

(c) Temporarily install the detent spring and detent spring cover with the 2 bolts.





Bolt length:

Bolt A: 14 mm (0.551 in.)

Bolt B: 45 mm (1.77 in.)

(d) Check that the manual valve lever is in contact with the center of the roller at the tip of the detent spring.

(e) Tighten the 15 bolts.

Torque : 11 Nm (112 kgf-cm, 8 ft-lbf)

(f) Connect the 5 solenoid connectors.





(g) Install the ATF temperature sensor with the lock plate and bolt.

Torque : 11 Nm (112 kgf-cm, 8 ft-lbf)

Bolt length:

55 mm (2.17 in.)

96. INSTALL VALVE BODY OIL STRAINER ASSEMBLY

(a) Coat a new gasket with ATF, and install it to the oil strainer.





(b) Install the valve body oil strainer assembly to the automatic transaxle with the 3 bolts.





Torque : 11 Nm (112 kgf-cm, 8 ft-lbf)

97. INSTALL AUTOMATIC TRANSAXLE OIL PAN SUB-ASSEMBLY

(a) Install the 2 magnets to the oil pan.





(b) Install a new oil pan gasket to the oil pan.

(c) Install the oil pan with the 19 bolts.





Torque : 7.8 Nm (80 kgf-cm, 69 in-lbf)

98. INSTALL BREATHER PLUG

(a) Install the breather plug to the transaxle case.

99. INSTALL BREATHER PLUG HOSE

(a) Install the breather plug hose to the breather plug.





100. INSTALL NO. 1 TRANSAXLE CASE PLUG

(a) Coat 5 new O-rings with ATF, and install them to the 5 No. 1 transaxle case plugs.

(b) Install the 4 No. 1 transaxle case plugs to the transaxle housing and transaxle case.





Torque : 7.4 Nm (76 kgf-cm, 66 in-lbf)

(c) Install the No. 1 transaxle case plug to the transaxle case.





Torque : 7.4 Nm (76 kgf-cm, 66 in-lbf)

101. INSTALL OIL COOLER TUBE UNION

(a) Coat 2 new O-rings with ATF, and install them into the 2 oil cooler tube unions.

(b) Install the 2 oil cooler tube unions to the transaxle case.





Torque : 27 Nm (275 kgf-cm, 20 ft-lbf)

102. INSTALL SPEED SENSOR

(a) Coat a new O-ring with ATF, and install it to the speed sensor.

(b) Install the speed sensor to the transaxle case with the bolt.





Torque : 5.4 Nm (55 kgf-cm, 48 in-lbf)

103. INSTALL PARK/NEUTRAL POSITION SWITCH ASSEMBLY

(a) Install the park/neutral position switch assembly to the automatic transaxle.

(b) Temporarily install the 2 bolts.





(c) Replace the lock plate with a new one and tighten the manual valve shaft nut.

Torque : 6.9 Nm (70 kgf-cm, 61 in-lbf)

(d) Temporarily install the control shaft lever.

(e) Turn the lever counterclockwise until it stops, then turn it clockwise 2 notches.





(f) Remove the control shaft lever.

(g) Align the groove with the neutral basic line.





(h) Hold the switch in this position and tighten the 2 bolts.

Torque : 5.4 Nm (55 kgf-cm, 48 in-lbf)

(i) Using a screwdriver, stake the nut with the lock plate.





(j) Install the control shaft lever with the nut and washer.





Torque : 13 Nm (133 kgf-cm, 10 ft-lbf)

104. INSTALL SPEEDOMETER DRIVEN HOLE COVER SUB-ASSEMBLY

(a) Coat a new O-ring with ATF and install it to the speedometer driven hole cover sub-assembly.

(b) Install the speedometer driven hole cover sub-assembly to the transaxle housing.





Torque : 5.5 Nm (56 kgf-cm, 49 in-lbf)