Operation CHARM: Car repair manuals for everyone.
Manuals through 2025 now available!

Our trusted friends have launched a new website named LEMON, which has newer manuals. It also contains all the CHARM manuals.

LEMON is the spiritual successor to CHARM, I recommend you try it!

Link: lemon-manuals.la or lemon-manuals.org.ua

(Some people have issue connecting. LEMON is investigating. For now, use Firefox or change your DNS server)

Or, hide this message: temporarily or permanently

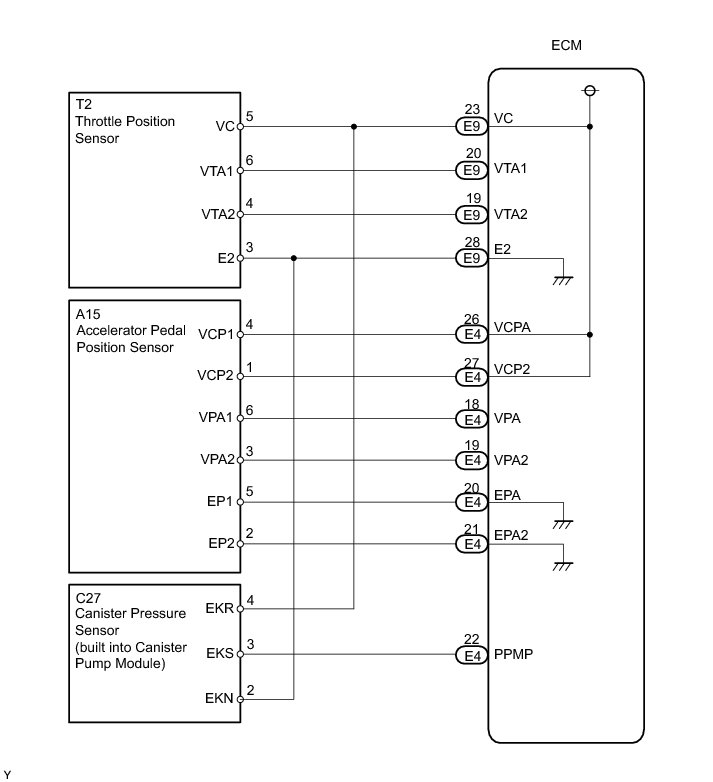
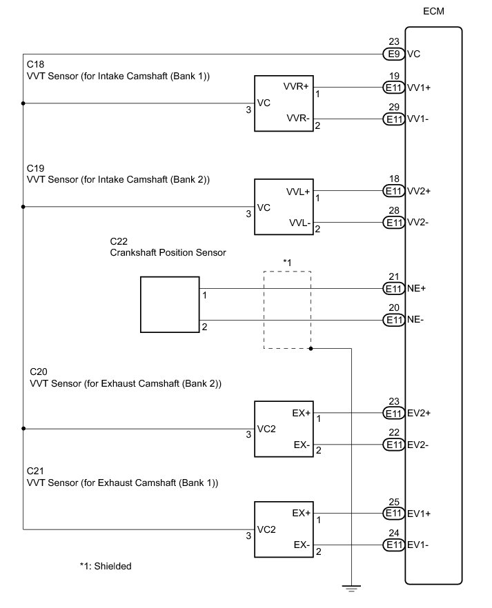
VC Output Circuit





2GR-FE ENGINE CONTROL SYSTEM: SFI SYSTEM: VC Output Circuit
- VC Output Circuit

DESCRIPTION

The ECM constantly uses 5 V from the battery voltages supplied to the +B (BATT) terminal to operate the microprocessor. The ECM also provides this power to the sensors through the VC output circuit.

When the VC circuit is short-circuited, the microprocessor in the ECM and sensors that are supplied power through the VC circuit are inactivated because the power is not supplied from the VC circuit. Under this condition, the system does not start up and the MIL does not illuminate even if the system malfunctions.

HINT
Under normal conditions, the MIL is illuminated for several seconds when the ignition switch is first turned to the ON position. The MIL goes off when the engine is started.





WIRING DIAGRAM









INSPECTION PROCEDURE

PROCEDURE

1. CHECK MIL

(a) Check that the Malfunction Indicator Lamp (MIL) lights up when turning the ignition switch to the ON position.

OK:

MIL lights up.

OK -- GO TO MIL CIRCUIT Testing and Inspection
NG -- Continue to next step.

2. CHECK CONNECTION BETWEEN TECHSTREAM AND ECM

(a) Connect the Techstream to the DLC3.

(b) Turn the ignition switch to the ON position and turn the tester on.

(c) Check the communication between the tester and ECM.

Result:





A -- GO TO MIL CIRCUIT Testing and Inspection
B -- Continue to next step.

3. CHECK THROTTLE BODY (CHECK MIL ILLUMINATED)

(a) Disconnect the throttle body connector.

(b) Turn the ignition switch to the ON position.

(c) Check the MIL.

Result:





(d) Reconnect the throttle body connector.

A -- REPLACE THROTTLE BODY Removal
B -- Continue to next step.

4. CHECK ACCELERATOR PEDAL ROD (CHECK MIL ILLUMINATED)

(a) Disconnect the accelerator pedal position sensor connector.

(b) Turn the ignition switch to the ON position.

(c) Check the MIL.

Result:





(d) Reconnect the accelerator pedal position sensor connector.

A -- REPLACE ACCELERATOR PEDAL ROD Removal
B -- Continue to next step.

5. CHECK VVT SENSOR FOR INTAKE CAMSHAFT BANK 1 (CHECK MIL ILLUMINATED)

(a) Disconnect the VVT sensor for intake camshaft bank 1 connector.

(b) Turn the ignition switch to the ON position.

(c) Check the MIL.

Result:





(d) Reconnect the VVT sensor for intake camshaft bank 1 connector.

A -- REPLACE VVT SENSOR FOR INTAKE CAMSHAFT BANK 1 Removal
B -- Continue to next step.

6. CHECK VVT SENSOR FOR EXHAUST CAMSHAFT BANK 1 (CHECK MIL ILLUMINATED)

(a) Disconnect the VVT sensor for exhaust camshaft bank 1 connector.

(b) Turn the ignition switch to the ON position.

(c) Check the MIL.

Result:





(d) Reconnect the VVT sensor for exhaust camshaft bank 1 connector.

A -- REPLACE VVT SENSOR FOR EXHAUST CAMSHAFT BANK 1 Removal
B -- Continue to next step.

7. CHECK VVT SENSOR FOR INTAKE CAMSHAFT BANK 2 (CHECK MIL ILLUMINATED)

(a) Disconnect the VVT sensor for intake camshaft bank 2 connector.

(b) Turn the ignition switch to the ON position.

(c) Check the MIL.

Result:





(d) Reconnect the VVT sensor for intake camshaft bank 2 connector.

A -- REPLACE VVT SENSOR FOR INTAKE CAMSHAFT BANK 2 Removal
B -- Continue to next step.

8. CHECK VVT SENSOR FOR EXHAUST CAMSHAFT BANK 2 (CHECK MIL ILLUMINATED)

(a) Disconnect the VVT sensor for exhaust camshaft bank 2 connector.

(b) Turn the ignition switch to the ON position.

(c) Check the MIL.

Result:





(d) Reconnect the VVT sensor for exhaust camshaft bank 2 connector.

A -- REPLACE VVT SENSOR FOR EXHAUST CAMSHAFT BANK 2 Removal
B -- Continue to next step.

9. CHECK CANISTER ASSEMBLY (CHECK MIL ILLUMINATED)

(a) Disconnect the canister pump module connector.

(b) Turn the ignition switch to the ON position.

(c) Check the MIL.

Result:

(d) Reconnect the canister pump module connector.

A -- REPLACE CANISTER ASSEMBLY Removal
B -- Continue to next step.

10. CHECK HARNESS AND CONNECTOR

(a) Disconnect the throttle body connector.





(b) Disconnect the accelerator pedal position sensor connector.

(c) Disconnect the VVT sensor for intake camshaft bank 1 connector.

(d) Disconnect the VVT sensor for exhaust camshaft bank 1 connector.

(e) Disconnect the VVT sensor for intake camshaft bank 2 connector.

(f) Disconnect the VVT sensor for exhaust camshaft bank 2 connector.

(g) Disconnect the canister pump module connector.

(h) Disconnect the E9 and E4 ECM connectors.

(i) Measure the resistance according to the value(s) in the table below.

Standard resistance (Check for short):





(j) Reconnect the ECM connectors.

(k) Reconnect the canister pump module connector.

(l) Reconnect the VVT sensor for exhaust camshaft bank 2 connector.

(m) Reconnect the VVT sensor for intake camshaft bank 2 connector.

(n) Reconnect the VVT sensor for exhaust camshaft bank 1 connector.

(o) Reconnect the VVT sensor for intake camshaft bank 1 connector.

(p) Reconnect the accelerator pedal position sensor connector.

(q) Reconnect the throttle body connector.

NG -- REPAIR OR REPLACE HARNESS OR CONNECTOR

OK -- REPLACE ECM Removal