Operation CHARM: Car repair manuals for everyone.
Manuals through 2025 now available!

Our trusted friends have launched a new website named LEMON, which has newer manuals. It also contains all the CHARM manuals.

LEMON is the spiritual successor to CHARM, I recommend you try it!

Link: lemon-manuals.la or lemon-manuals.org.ua

(Some people have issue connecting. LEMON is investigating. For now, use Firefox or change your DNS server)

Or, hide this message: temporarily or permanently

Route cannot be Calculated





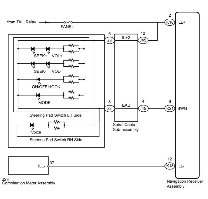
NAVIGATION: NAVIGATION SYSTEM (w/ USB Audio System): Illumination Circuit
- Illumination Circuit

DESCRIPTION

Power is supplied to the navigation receiver assembly and steering pad switch illumination when the light control switch is in the TAIL or HEAD position.

WIRING DIAGRAM





INSPECTION PROCEDURE

CAUTION:
The vehicle is equipped with an SRS (Supplemental Restraint System) which includes components such as airbags. Before servicing (including removal or installation of parts), be sure to read the Precaution in the SRS Service Precautions.

PROCEDURE

1. CHECK ILLUMINATION

(a) Check if the illumination for the navigation receiver assembly, steering pad switch, glove box or other parts (hazard switch, transmission control switch, etc.) come on when the light control switch is turned to the HEAD or TAIL position.

Result





D -- CHECK HARNESS AND CONNECTOR (NAVIGATION RECEIVER - COMBINATION METER)

C -- GO TO LIGHTING SYSTEM Symptom Related Diagnostic Procedures

B -- CHECK HARNESS AND CONNECTOR (NAVIGATION RECEIVER - BATTERY)
A -- Continue to next step.

2. CHECK HARNESS AND CONNECTOR (SPIRAL CABLE - BATTERY)

(a) Disconnect the J45 spiral cable sub-assembly connector.





(b) Measure the voltage according to the value(s) in the table below.

Standard Voltage:





NG -- REPAIR OR REPLACE HARNESS OR CONNECTOR
OK -- Continue to next step.

3. INSPECT STEERING PAD SWITCH ASSEMBLY

(a) Remove the steering pad switch assembly Removal.





(b) Connect the positive (+) lead of the battery to terminal 5 (IL+2) and the negative (-) lead of the battery to terminal 8 (EAU) of the steering pad switch assembly connector.

(c) Check if the illumination for the steering pad switch assembly comes on.

OK:

Illumination for the steering pad switch assembly comes on.

NG -- REPLACE STEERING PAD SWITCH ASSEMBLY Removal
OK -- Continue to next step.

4. INSPECT SPIRAL CABLE SUB-ASSEMBLY

(a) Remove the spiral cable sub-assembly Removal.





(b) Measure the resistance according to the value(s) in the table below.

Standard Resistance:





CAUTION:
The spiral cable is an important part of the SRS airbag system. Incorrect removal or installation of the spiral cable may prevent the airbag from deploying. Be sure to read Precaution in the SRS Service Precautions.

NG -- REPLACE SPIRAL CABLE SUB-ASSEMBLY Removal
OK -- Continue to next step.

5. CHECK HARNESS AND CONNECTOR (NAVIGATION RECEIVER - SPIRAL CABLE)

(a) Disconnect the K21 navigation receiver assembly connector.





(b) Disconnect the J45 spiral cable sub-assembly connector.

(c) Measure the resistance according to the value(s) in the table below.

Standard Resistance:





NG -- REPAIR OR REPLACE HARNESS OR CONNECTOR

OK -- PROCEED TO NEXT SUSPECTED AREA SHOWN IN PROBLEM SYMPTOMS TABLE Problem Symptoms Table

6. CHECK HARNESS AND CONNECTOR (NAVIGATION RECEIVER - BATTERY)

(a) Disconnect the K18 navigation receiver assembly connector.





(b) Measure the voltage according to the value(s) in the table below.

Standard Voltage:





NG -- REPAIR OR REPLACE HARNESS OR CONNECTOR

OK -- PROCEED TO NEXT SUSPECTED AREA SHOWN IN PROBLEM SYMPTOMS TABLE Problem Symptoms Table

7. CHECK HARNESS AND CONNECTOR (NAVIGATION RECEIVER - COMBINATION METER)

(a) Disconnect the K18 navigation receiver assembly connector.





(b) Disconnect the J28 combination meter assembly connector.

(c) Measure the resistance according to the value(s) in the table below.

Standard Resistance:





NG -- REPAIR OR REPLACE HARNESS OR CONNECTOR

OK -- PROCEED TO NEXT SUSPECTED AREA SHOWN IN PROBLEM SYMPTOMS TABLE Problem Symptoms Table