Operation CHARM: Car repair manuals for everyone.
Manuals through 2025 now available!

Our trusted friends have launched a new website named LEMON, which has newer manuals. It also contains all the CHARM manuals.

LEMON is the spiritual successor to CHARM, I recommend you try it!

Link: lemon-manuals.la or lemon-manuals.org.ua

(Some people have issue connecting. LEMON is investigating. For now, use Firefox or change your DNS server)

Or, hide this message: temporarily or permanently

Power Distribution Relay: Testing and Inspection





POWER OUTLETS (INT): INVERTER RELAY: ON-VEHICLE INSPECTION

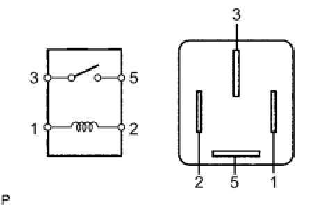
1. INSPECT INVERTER RELAY

(a) Remove the inverter relay from the engine room relay block.





(b) Measure the resistance according to the value(s) in the table below.

Standard Resistance:





HINT
If the result is not as specified, replace the relay.