Operation CHARM: Car repair manuals for everyone.
Manuals through 2025 now available!

Our trusted friends have launched a new website named LEMON, which has newer manuals. It also contains all the CHARM manuals.

LEMON is the spiritual successor to CHARM, I recommend you try it!

Link: lemon-manuals.la or lemon-manuals.org.ua

(Some people have issue connecting. LEMON is investigating. For now, use Firefox or change your DNS server)

Or, hide this message: temporarily or permanently

Part 2





CAN COMMUNICATION: CAN COMMUNICATION SYSTEM: Check CAN Bus Line for Short to GND
- Check CAN Bus Line for Short to GND

11. CHECK CAN BUS LINE FOR SHORT TO GND (COMBINATION METER ECU BRANCH WIRE)

(a) Disconnect the D1 combination meter ECU connector.





Text in Illustration

Text in Illustration:





(b) Measure the resistance according to the value(s) in the table below.





HINT
The resistance must be measured after the D42 P-CAN junction connector is disconnected.

Standard Resistance:





Text in Illustration

Text in Illustration:





Result

Result:





C -- REPAIR OR REPLACE CAN BRANCH WIRE CONNECTED TO COMBINATION METER ECU (CAN-H, CAN-L)

B -- REPLACE COMBINATION METER ECU Removal

A -- REPLACE COMBINATION METER ECU Removal

12. CONNECT CONNECTOR

(a) Reconnect the P-CAN junction connector.

NEXT -- Continue to next step.

13. CHECK CAN BUS LINE FOR SHORT TO GND (D-CAN J/C - ECM)

(a) Disconnect the D41 D-CAN junction connector.





(b) Measure the resistance according to the value(s) in the table below.

Standard Resistance:





Text in Illustration

Text in Illustration:





NG -- CHECK CAN BUS LINE FOR SHORT TO GND (ECM MAIN WIRE)
OK -- Continue to next step.

14. CHECK CAN BUS LINE FOR SHORT TO GND (D-CAN J/C - BRAKE ACTUATOR (SKID CONTROL ECU))

HINT
For vehicles without ABS, go to step 15.

(a) Measure the resistance according to the value(s) in the table below.





HINT
The resistance must be measured after the D41 D-CAN junction connector is disconnected.

Standard Resistance:





Text in Illustration

Text in Illustration:





NG -- CHECK CAN BUS LINE FOR SHORT TO GND (BRAKE ACTUATOR (SKID CONTROL ECU) BRANCH WIRE)
OK -- Continue to next step.

15. CHECK CAN BUS LINE FOR SHORT TO GND (D-CAN J/C - ABS AND TRACTION ACTUATOR (SKID CONTROL ECU))

HINT
For vehicles without VSC, go to step 17.

(a) Measure the resistance according to the value(s) in the table below.





HINT
The resistance must be measured after the D41 D-CAN junction connector is disconnected.

Standard Resistance:





Text in Illustration

Text in Illustration:





NG -- CHECK CAN BUS LINE FOR SHORT TO GND (ABS AND TRACTION ACTUATOR (SKID CONTROL ECU) BRANCH WIRE)
OK -- Continue to next step.

16. CHECK CAN BUS LINE FOR SHORT TO GND (D-CAN J/C - STEERING SENSOR)

(a) Measure the resistance according to the value(s) in the table below.





HINT
The resistance must be measured after the D41 D-CAN junction connector is disconnected.

Standard Resistance:





Text in Illustration

Text in Illustration:





NG -- CHECK CAN BUS LINE FOR SHORT TO GND (STEERING SENSOR BRANCH WIRE)
OK -- Continue to next step.

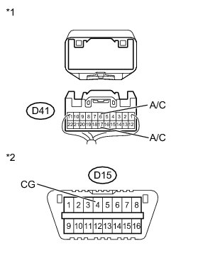
17. CHECK CAN BUS LINE FOR SHORT TO GND (D-CAN J/C - AIR CONDITIONING AMPLIFIER)

HINT
For vehicles without air conditioning or PTC heater, go to step 18.

(a) Measure the resistance according to the value(s) in the table below.





HINT
The resistance must be measured after the D41 D-CAN junction connector is disconnected.

Standard Resistance:





Text in Illustration

Text in Illustration:





NG -- CHECK CAN BUS LINE FOR SHORT TO GND (AIR CONDITIONING AMPLIFIER BRANCH WIRE)
OK -- Continue to next step.

18. CHECK CAN BUS LINE FOR SHORT TO GND (D-CAN J/C - CENTER AIRBAG SENSOR ASSEMBLY)

(a) Measure the resistance according to the value(s) in the table below.





HINT
The resistance must be measured after the D41 D-CAN junction connector is disconnected.

Standard Resistance:





Text in Illustration

Text in Illustration:





NG -- CHECK CAN BUS LINE FOR SHORT TO GND (CENTER AIRBAG SENSOR ASSEMBLY BRANCH WIRE)

OK -- REPAIR OR REPLACE CAN MAIN WIRE OR CONNECTOR (D-CAN J/C - P-CAN J/C (CAN-H, CAN-L))

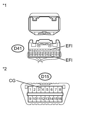
19. CHECK CAN BUS LINE FOR SHORT TO GND (ECM MAIN WIRE)

(a) Disconnect the A21 ECM connector.





Text in Illustration

Text in Illustration:





(b) Measure the resistance according to the value(s) in the table below.





HINT
The resistance must be measured after the D41 D-CAN junction connector is disconnected.

Standard Resistance:





Text in Illustration

Text in Illustration:





NG -- REPAIR OR REPLACE CAN MAIN WIRE CONNECTED TO ECM (D-CAN J/C - ECM (CAN-H, CAN-L))

OK -- REPLACE ECM Removal

20. CHECK CAN BUS LINE FOR SHORT TO GND (BRAKE ACTUATOR (SKID CONTROL ECU) BRANCH WIRE)

(a) for Hatchback:

(1) Disconnect the A15 brake actuator (skid control ECU) connector.





Text in Illustration

Text in Illustration:





(2) Measure the resistance according to the value(s) in the table below.





HINT
The resistance must be measured after the D41 D-CAN junction connector is disconnected.

Standard Resistance:





Text in Illustration

Text in Illustration:





(b) for Sedan:

(1) Disconnect the A15 brake actuator (skid control ECU) connector.





Text in Illustration

Text in Illustration:





(2) Measure the resistance according to the value(s) in the table below.





HINT
The resistance must be measured after the D41 D-CAN junction connector is disconnected.

Standard Resistance:





Text in Illustration

Text in Illustration:





NG -- REPAIR OR REPLACE CAN BRANCH WIRE CONNECTED TO BRAKE ACTUATOR (SKID CONTROL ECU) (CAN-H, CAN-L)

OK -- REPLACE BRAKE ACTUATOR (SKID CONTROL ECU) Removal

21. CHECK CAN BUS LINE FOR SHORT TO GND (ABS AND TRACTION ACTUATOR (SKID CONTROL ECU) BRANCH WIRE)

(a) Disconnect the A30 ABS and traction actuator (skid control ECU) connector.





Text in Illustration

Text in Illustration:





(b) Measure the resistance according to the value(s) in the table below.





HINT
The resistance must be measured after the D41 D-CAN junction connector is disconnected.

Standard Resistance:





Text in Illustration

Text in Illustration:





NG -- REPAIR OR REPLACE CAN BRANCH WIRE CONNECTED TO ABS AND TRACTION ACTUATOR (SKID CONTROL ECU) (CAN-H, CAN-L)

OK -- REPLACE ABS AND TRACTION ACTUATOR (SKID CONTROL ECU) Removal

22. CHECK CAN BUS LINE FOR SHORT TO GND (STEERING SENSOR BRANCH WIRE)

(a) Disconnect the D80 steering sensor connector.





Text in Illustration

Text in Illustration:





(b) Measure the resistance according to the value(s) in the table below.





HINT
The resistance must be measured after the D41 D-CAN junction connector is disconnected.

Standard Resistance:





Text in Illustration

Text in Illustration:





NG -- REPAIR OR REPLACE CAN BRANCH WIRE CONNECTED TO STEERING SENSOR (CAN-H, CAN-L)

OK -- REPLACE STEERING SENSOR

23. CHECK CAN BUS LINE FOR SHORT TO GND (AIR CONDITIONING AMPLIFIER BRANCH WIRE)

(a) Disconnect the E8 air conditioning amplifier connector.





Text in Illustration

Text in Illustration:





(b) Measure the resistance according to the value(s) in the table below.





HINT
The resistance must be measured after the D41 D-CAN junction connector is disconnected.

Standard Resistance:





Text in Illustration

Text in Illustration:





NG -- REPAIR OR REPLACE CAN BRANCH WIRE CONNECTED TO AIR CONDITIONING AMPLIFIER (CAN-H, CAN-L)

OK -- REPLACE AIR CONDITIONING AMPLIFIER

24. CHECK CAN BUS LINE FOR SHORT TO GND (CENTER AIRBAG SENSOR ASSEMBLY BRANCH WIRE)

(a) Disconnect the D16 center airbag sensor assembly connector.





Text in Illustration

Text in Illustration:





(b) Measure the resistance according to the value(s) in the table below.





HINT
The resistance must be measured after the D41 D-CAN junction connector is disconnected.

Standard Resistance:





Text in Illustration

Text in Illustration:





Result

Result:





C -- REPAIR OR REPLACE CAN BRANCH WIRE CONNECTED TO CENTER AIRBAG SENSOR ASSEMBLY (CAN-H, CAN-L)

B -- REPLACE CENTER AIRBAG SENSOR ASSEMBLY Removal

A -- REPLACE CENTER AIRBAG SENSOR ASSEMBLY Removal