Operation CHARM: Car repair manuals for everyone.
Manuals through 2025 now available!

Our trusted friends have launched a new website named LEMON, which has newer manuals. It also contains all the CHARM manuals.

LEMON is the spiritual successor to CHARM, I recommend you try it!

Link: lemon-manuals.la or lemon-manuals.org.ua

(Some people have issue connecting. LEMON is investigating. For now, use Firefox or change your DNS server)

Or, hide this message: temporarily or permanently

Smart Key System (for Start Function)





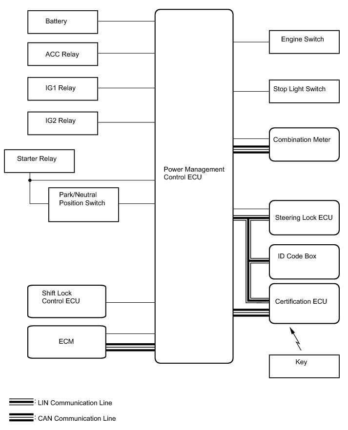
THEFT DETERRENT / KEYLESS ENTRY: SMART KEY SYSTEM (for Start Function): SYSTEM DIAGRAM





Communication Table










THEFT DETERRENT / KEYLESS ENTRY: SMART KEY SYSTEM (for Start Function): SYSTEM DESCRIPTION

1. PUSH-BUTTON START DESCRIPTION

(a) The push-button start function uses a push-type engine switch, which the driver can operate by merely carrying the key. This system consists primarily of the power management control ECU, engine switch, ID code box, steering lock ECU, key, ACC relay, IG1 relay, IG2 relay and certification ECU. The power management control ECU controls the system. This function operates in cooperation with the smart key system.

2. FUNCTION OF COMPONENT





3. CONSTRUCTION AND OPERATION





Text in Illustration





(a) Engine Switch

The engine switch consists of a momentary type switch, color (amber, green) LEDs, and a transponder key amplifier.

The amber LED is for illumination.

The amber and green LEDs are for the indicator lights. The driver can check the present power source mode and whether the engine can start by checking the illumination state of the indicator light.

When the power management control ECU detects an abnormality in the smart key system, it makes the amber indicator light flash. If the engine stopped in this state, it may not be possible to restart it.

(b) Indicator Light Condition

Engine Switch Indicator Light Condition





(c) Power Management Control ECU

The power management control ECU consists of the IG1 and IG2 relay actuation circuits and CPU.

HINT
Before removing the battery, make sure to turn the engine switch off. The power management control ECU constantly stores the present power source mode in its memory. Therefore, if the power management control ECU is interrupted by disconnecting the battery, the power management control ECU restores the power source mode after the battery is reconnected. For this reason, if the battery is disconnected when the engine switch is not off, the power is restored to the vehicle at the same time the power is restored to the power management control ECU (by reconnecting the battery).

4. PUSH-BUTTON START FUNCTION OPERATION

(a) This system has different power source mode patterns depending on the brake pedal condition and shift lever position.





When the battery of the key is low or the signal communication is affected by wave noise, the push-button start function can be operated by holding the key against the engine switch.

After approximately 1 hour has passed with the engine switch on (ACC) or on (IG) and the shift lever in P, the power management control ECU automatically cuts the power supply (the power source mode changes to off).

The illustration below shows the transition of power source modes.

Transition of power source mode:





5. SYSTEM NOT OPERATING NORMALLY (DUE TO KEY BATTERY DEPLETION, ELECTRICAL NOISE, ETC.)

(a) To operate the push-button start function when the key battery is low or the signal communication is affected by wave noise, hold the key against the engine switch with the brake pedal depressed.





6. DIAGNOSIS

The power management control ECU can detect malfunctions in the push-button start function when the power source mode is on (IG).

When the ECU detects a malfunction, the amber indicator light of the engine switch flashes to warn the driver. At the same time, the ECU stores a 5-digit DTC (Diagnostic Trouble Code) in memory.

* The indicator light warning continues flashing for 15 seconds even after the power source mode is changed to off.

* The DTCs can be output by connecting the Techstream to the DLC3.

* The push-button start function cannot be operated if a malfunction occurs.