Operation CHARM: Car repair manuals for everyone.
Manuals through 2025 now available!

Our trusted friends have launched a new website named LEMON, which has newer manuals. It also contains all the CHARM manuals.

LEMON is the spiritual successor to CHARM, I recommend you try it!

Link: lemon-manuals.la or lemon-manuals.org.ua

(Some people have issue connecting. LEMON is investigating. For now, use Firefox or change your DNS server)

Or, hide this message: temporarily or permanently

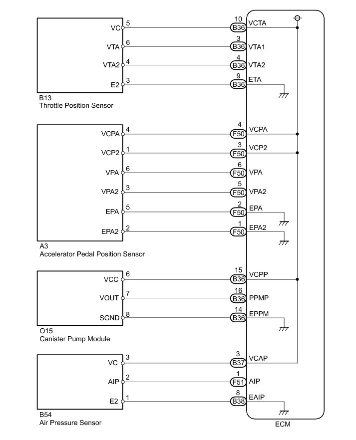
VC Output Circuit





2TR-FE ENGINE CONTROL: SFI SYSTEM: VC Output Circuit
- VC Output Circuit

DESCRIPTION

The ECM constantly generates a 5 V power supply voltage from the battery voltage supplied to the +B (BATT) terminal to operate the microprocessor. The ECM also provides this power source voltage to the sensors through the VC output circuit.





When the VC circuit is short-circuited, the microprocessor in the ECM and sensors that are supplied with power through the VC circuit are inactivated because the power is not supplied from the VC circuit. Under this condition, the system does not start up and the MIL does not illuminate even if the system malfunctions.

HINT
Under normal conditions, the MIL is illuminated for several seconds when the ignition switch is first turned to ON, and then goes off when the engine starts.

WIRING DIAGRAM





INSPECTION PROCEDURE

PROCEDURE

1. CHECK MIL CONDITION

(a) Check that the Malfunction Indicator Lamp (MIL) lights up when turning the ignition switch to ON.

OK:

MIL lights up.

NG -- CHECK CONNECTION BETWEEN TECHSTREAM AND ECM

OK -- SYSTEM OK

2. CHECK CONNECTION BETWEEN TECHSTREAM AND ECM

(a) Connect the Techstream to the DLC3.

(b) Turn the ignition switch to ON.

(c) Turn the Techstream on.

(d) Check the communication between the Techstream and ECM.

Result





A -- GO TO MIL CIRCUIT Testing and Inspection
B -- Continue to next step.

3. CHECK MIL (THROTTLE POSITION SENSOR)

(a) Disconnect the throttle body with motor assembly connector.

(b) Turn the ignition switch to ON.

(c) Check the MIL.

Result





(d) Reconnect the throttle body with motor assembly connector.

A -- REPLACE THROTTLE BODY WITH MOTOR ASSEMBLY (THROTTLE POSITION SENSOR) Removal
B -- Continue to next step.

4. CHECK MIL (ACCELERATOR PEDAL POSITION SENSOR)

(a) Disconnect the accelerator pedal sensor assembly connector.

(b) Turn the ignition switch to ON.

(c) Check the MIL.

Result





(d) Reconnect the accelerator pedal sensor assembly connector.

A -- REPLACE ACCELERATOR PEDAL SENSOR ASSEMBLY (ACCELERATOR PEDAL POSITION SENSOR) Removal
B -- Continue to next step.

5. CHECK MIL (CANISTER PUMP MODULE)

(a) Disconnect the canister pump module connector.

(b) Turn the ignition switch to ON.

(c) Check the MIL.

Result





(d) Reconnect the canister pump module connector.

A -- REPLACE CHARCOAL CANISTER Removal
B -- Continue to next step.

6. CHECK MIL (AIR PRESSURE SENSOR)

(a) Disconnect the air pressure sensor connector.

(b) Turn the ignition switch to ON.

(c) Check the MIL.

Result





(d) Reconnect the air pressure sensor connector.

A -- REPLACE AIR PRESSURE SENSOR
B -- Continue to next step.

7. CHECK HARNESS AND CONNECTOR

(a) Disconnect the throttle body with motor assembly connector.

(b) Disconnect the accelerator pedal sensor assembly connector.

(c) Disconnect the canister pump module connector.

(d) Disconnect the air pressure sensor connector.

(e) Disconnect the ECM connectors.

(f) Measure the resistance according to the value(s) in the table below.

Standard Resistance:





(g) Reconnect the throttle body with motor assembly connector.

(h) Reconnect the accelerator pedal sensor assembly connector.

(i) Reconnect the canister pump module connector.

(j) Reconnect the air pressure sensor connector.

(k) Reconnect the ECM connectors.

NG -- REPAIR OR REPLACE HARNESS OR CONNECTOR

OK -- REPLACE ECM Removal