Operation CHARM: Car repair manuals for everyone.
Manuals through 2025 now available!

Our trusted friends have launched a new website named LEMON, which has newer manuals. It also contains all the CHARM manuals.

LEMON is the spiritual successor to CHARM, I recommend you try it!

Link: lemon-manuals.la or lemon-manuals.org.ua

(Some people have issue connecting. LEMON is investigating. For now, use Firefox or change your DNS server)

Or, hide this message: temporarily or permanently

Emission Control Systems: Testing and Inspection





2TR-FE EMISSION CONTROL: EMISSION CONTROL SYSTEM: ON-VEHICLE INSPECTION

1. CHECK PURGE VSV

(a) Check that the purge line hose is connected correctly.

(b) Disconnect the purge line hose (connected to the canister) from the purge VSV and connect a vacuum gauge.





(c) Using the procedure below, perform a purge VSV operation inspection when the engine coolant temperature is 55°C (131°F) or less (while the engine is cold (the purge VSV is closed)).

HINT
The ECM turns the purge VSV off so that the route between the canister and intake manifold is closed and fuel vapor in the canister is not purged to the intake manifold.

(1) Purge VSV operation inspection procedure.

1. When the engine is idling or running at 2500 rpm, the vacuum gauge indicates 1 kPa (8 mmHg, 0.3 in.Hg) or less.

Result





2. Inspect the purge VSV Testing and Inspection.

Result





(d) Connect the Techstream to DLC3.

(e) Turn the ignition switch to ON.

(f) Turn the Techstream on.

(g) Enter the following menus: Powertrain / Engine and ECT / Active Test / Activate the VSV for Evap Control.

(h) Using the Techstream, turn on the purge VSV (EVAP VSV: ON).

(1) Purge VSV operation inspection procedure.

1. When the engine is idling, the vacuum gauge indicates 40 kPa (300 mmHg, 11.8 in.Hg) or higher.

Result





2. Inspect the purge VSV Testing and Inspection.

Result





2. INSPECT FUEL CUT-OFF RPM

(a) Start and warm up the engine.

(b) Maintain the engine speed at 3000 rpm.

(c) Use a sound scope to check for injector operation noise.

(d) Check that when the accelerator pedal is released, injector operation noise stops momentarily and then resumes.

If the result is not as specified, check the injector, wiring and ECM.

3. VISUALLY INSPECT HOSES, CONNECTORS AND GASKETS

(a) Check that there are no cracks, leaks or damage.

NOTICE:
* Detachment or other problems with the engine oil dipstick, filler cap, PCV hose and other components may cause the engine to run improperly.
* Air suction caused by disconnections, looseness or cracks in the parts of the air induction system between the throttle body and cylinder head will cause engine failure or engine malfunctions.

If the result is not as specified, replace parts as necessary.

4. CHECK HOSES AND CONNECTORS

(a) Visually check for loose connections, sharp bends or damage.

5. CHECK FUEL TANK ASSEMBLY

(a) Visually check for deformation, cracks or fuel leakage.

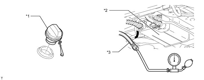
6. INSPECT FUEL CUT-OFF VALVE AND FILL CHECK VALVE

(a) Disconnect the vent line hose from the charcoal canister.





Text in Illustration





(b) Connect a pressure gauge to the vent line hose.

(c) Fill the fuel tank with fuel.

(d) Apply a pressure of 4 kPa (0.04 kgf/cm2, 0.6 psi) to the vent port of the fuel tank.

HINT
If the fuel tank is full, it is necessary to check the fuel amount as the float valve of the fill check valve is closed and there is no ventilation.

(e) Remove the fuel tank cap and check that the pressure inside the tank drops.

If the pressure does not drop, replace the fuel tank assembly.

(f) Reconnect the vent line hose to the charcoal canister.

7. CHECK AIR INLET LINE

(a) Disconnect the air inlet line hose from the charcoal canister.





(b) Check that there is ventilation in the air inlet line.

HINT
If air cannot flow freely into the air inlet line, repair or replace it.

(c) Reconnect the air inlet line hose to the charcoal canister.

8. INSPECT SECONDARY AIR INJECTION SYSTEM OPERATION

(a) Start the engine and warm it up.

(b) Turn the ignition switch off.

(c) Connect the Techstream to the DLC3.

(d) Turn the ignition switch to ON and turn the Techstream on.

(e) Enter the following menus: Powertrain / Engine and ECT / Utility / Air Injection Check / Manual Mode / AIR PUMP: ON, ASV: OPEN, and AIR PUMP: OFF, ASV: CLOSE.

HINT
When Manual Mode is selected, Techstream initialization (atmospheric pressure measurement) is performed automatically. Initialization takes 10 seconds. After initialization, AIR PUMP and ASV operation can be selected.

(f) Start the engine.

(g) Perform the AIR system operation while the engine is idling.

(h) Check that the air pump (AIR PUMP), ASV and pressure in the AIR system passage (PRESSURE) status displayed on the Techstream indicate the conditions shown in the table below.

Standard:





*1

This item indicates the average pumping pressure (gauge pressure). The pressure should be 2.4 kPa or higher when the AIR system operates.

*2

This item is the cumulative exhaust pulsation calculated by the ECM. If the calculated value exceeds a certain level, the ECM determines that the exhaust pulsation is in the AIR system.

(i) Turn the Techstream off.

NOTICE:
* Air Injection Check only allows technicians to operate the AIR system for a maximum of 5 seconds.
Furthermore, the check can only be performed up to 4 times per trip. If the test is repeated, intervals of at least 30 seconds are required between checks.
While AIR system operation using the Techstream is prohibited, the Techstream display indicates the prohibition (WAIT or ERROR).
If ERROR is displayed on the Techstream during the test, stop the engine for 10 minutes, and then try again.
* Performing Air Injection Check repeatedly may cause damage to the AIR system. If necessary, leave an interval of several minutes between Air Injection Check operations to prevent the system from overheating.
* When performing the Air Injection Check operation after the battery cable has been reconnected, wait for 7 minutes with the ignition switch turned to ON or the engine running.
* Turn the ignition switch off when the Air Injection Check operation finishes.