Operation CHARM: Car repair manuals for everyone.
Manuals through 2025 now available!

Our trusted friends have launched a new website named LEMON, which has newer manuals. It also contains all the CHARM manuals.

LEMON is the spiritual successor to CHARM, I recommend you try it!

Link: lemon-manuals.la or lemon-manuals.org.ua

(Some people have issue connecting. LEMON is investigating. For now, use Firefox or change your DNS server)

Or, hide this message: temporarily or permanently

Reassembly





2TR-FE BATTERY / CHARGING: GENERATOR: REASSEMBLY

1. INSTALL GENERATOR DRIVE END FRAME BEARING

(a) Using SST and a press, press in a new generator drive end frame bearing.

SST : 09950-60010

09951-00470

SST : 09950-70010

09951-07100





(b) Align the claws of the retainer plate with the grooves inside the generator drive end frame.

(c) Install the retainer plate with the 4 screws.





Torque : 2.3 Nm (23 kgf-cm, 20 in-lbf)

2. INSTALL GENERATOR ROTOR ASSEMBLY

(a) Install the generator rotor to the generator drive end frame.

(b) Install the washer to the generator rotor.

3. INSTALL GENERATOR COIL ASSEMBLY

(a) Using a deep socket wrench (21 mm) and press, slowly press on the generator coil.





Text in Illustration





(b) Install the generator coil with the 4 through bolts.

Torque : 5.9 Nm (60 kgf-cm, 52 in-lbf)

4. INSTALL GENERATOR BRUSH HOLDER ASSEMBLY

(a) While pushing the 2 brushes into the generator brush holder, insert a pin with a diameter of 1.0 mm (0.0394 in.) into the generator brush holder hole.





Text in Illustration





(b) Install the generator brush holder with the 2 screws.

Torque : 1.8 Nm (18 kgf-cm, 16 in-lbf)





(c) Pull out the pin from the brush holder.

Text in Illustration





5. INSTALL TERMINAL INSULATOR

(a) Install the terminal insulator.





6. INSTALL GENERATOR REAR END COVER

(a) Install the generator rear end cover with the 3 nuts.

Torque : 4.6 Nm (46 kgf-cm, 40 in-lbf)

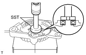
7. INSTALL GENERATOR WITH CLUTCH PULLEY

(a) Temporarily install the generator with clutch pulley by hand.

(b) Mount the generator in a vise between aluminum plates.

(c) Install SST (A) and SST (B) to the generator with clutch pulley as shown in the illustration.

SST : 09820-63021





Text in Illustration





NOTICE:
Securely attach SST to the generator with clutch pulley and generator rotor shaft.

(d) Using a wrench to hold SST (A), turn SST (B) clockwise to tighten the generator with clutch pulley.

without SST - Torque : 111 Nm (1127 kgf-cm, 81 ft-lbf)

with SST - Torque : 88 Nm (897 kgf-cm, 65 ft-lbf)





Text in Illustration





HINT
* Use a torque wrench with a fulcrum length of 400 mm (15.7 in.). When using a torque wrench with a fulcrum length that is not 400 mm (15.7 in.), calculate the torque specification for the torque wrench and SST based on the "without SST" torque specification Service Precautions.
* Make sure SST and the wrench are connected in a straight line.

NOTICE:
Be careful as the generator with clutch pulley or generator rotor shaft may be damaged if the position of SST is not securely maintained while performing this operation.

(e) Remove SST from the generator.

(f) Check that the generator with clutch pulley rotates smoothly.

8. INSTALL GENERATOR PULLEY CAP

(a) Install a new generator pulley cap to the generator with clutch pulley.