Operation CHARM: Car repair manuals for everyone.
Manuals through 2025 now available!

Our trusted friends have launched a new website named LEMON, which has newer manuals. It also contains all the CHARM manuals.

LEMON is the spiritual successor to CHARM, I recommend you try it!

Link: lemon-manuals.la or lemon-manuals.org.ua

(Some people have issue connecting. LEMON is investigating. For now, use Firefox or change your DNS server)

Or, hide this message: temporarily or permanently

Installation





WINDOW / GLASS: WINDSHIELD GLASS: INSTALLATION

1. INSTALL NO. 1 WINDSHIELD GLASS STOPPER





(a) Install 2 new stoppers to the vehicle body as shown in the illustration.

Text in Illustration





2. INSTALL NO. 2 WINDSHIELD GLASS STOPPER

(a) Apply Primer G to the glass where the stoppers will be installed.

NOTICE:
* Allow the primer to dry for 3 minutes or more.
* Throw away any leftover primer.
* Do not apply too much primer.

(b) Install 2 new stoppers to the glass at the locations shown in the illustration.





Text in Illustration





Standard:





3. INSTALL WINDSHIELD OUTSIDE UPPER MOULDING

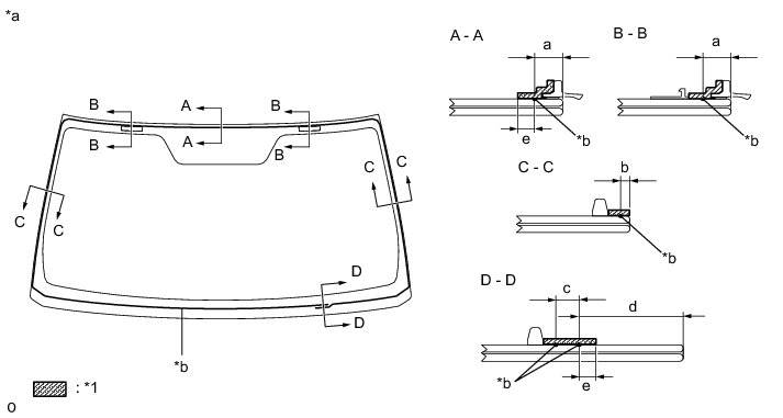
(a) Using a brush or sponge, coat the contact surface of the glass and moulding with Primer G as shown in the illustration.

NOTICE:
* Allow the primer coating to dry for 3 minutes or more.
* Do not coat the adhesive with Primer G.
* Throw away any leftover primer.





Text in Illustration





Standard:





(b) Remove the peeling paper from a new windshield outside moulding. Install the moulding as shown in the illustration.

4. INSTALL WINDSHIELD GLASS ADHESIVE DAM

(a) Apply Primer G to the glass where the glass adhesive dam will be installed.

NOTICE:
* Allow the primer to dry for 3 minutes or more.
* Throw away any leftover primer.
* Do not apply too much primer.

(b) Remove the peeling paper from the adhesive part of a new dam. Install the dam (adhesive side) to the glass (Primer G area), but exclude the area above the notches on the upper part of the glass.





Text in Illustration





Standard:





5. INSTALL WINDSHIELD GLASS





(a) Position the glass.

(1) Using suction cups, place the glass in the correct position.

(2) Check that the entire contact surface of the glass rim is perfectly even.

(3) Place matchmarks on the glass and vehicle body at the locations indicated in the illustration.

HINT
* Placing matchmarks is only necessary when installing new glass. When reinstalling the used glass, matchmarks should already be present.
* When reusing the glass, check and correct the matchmark positions.

NOTICE:
Check that the stoppers are attached to the vehicle body correctly.

(4) Using suction cups, remove the glass.

Text in Illustration









Using a brush, apply Primer M to the exposed part of the vehicle body.

NOTICE:
* Allow the primer to dry for 3 minutes or more.
* Do not apply primer to the adhesive.
* Throw away any leftover primer.
* Do not apply too much primer.

Text in Illustration





(b) Using a brush or sponge, apply Primer G to the contact surface of the glass.





Text in Illustration





Standard:





HINT
If the primer is applied to an area that is not specified, apply non-residue solvent to a clean cloth and wipe off the excess primer before it dries.

NOTICE:
* Allow the primer to dry for 3 minutes or more.
* Throw away any leftover primer.
* Do not apply too much primer.

(c) Apply adhesive to the glass.

Adhesive:

Toyota Genuine Windshield Glass Adhesive or equivalent

(1) Cut off the tip of a cartridge nozzle as shown in the illustration.

HINT
After cutting off the tip, use all adhesive within the time written in the table below.

Usage Time Frame:





(2) Load a sealer gun with the cartridge.

(3) Apply adhesive to the glass as shown in the illustration.





Text in Illustration





Standard:









Install the glass to the vehicle body.

(1) Using suction cups, position the glass so that the matchmarks are aligned. Press it in gently along the rim.

Text in Illustration





(2) Lightly press the outer surface of the glass to ensure that it is securely fit to the vehicle body.

NOTICE:
* Check that the stoppers are attached to the vehicle body correctly.
* Check that the vehicle body and glass have a small gap between them.





If necessary, use a scraper to correct the level or position of adhesive that has been applied.

HINT
Apply adhesive to any areas where the amount of adhesive is inadequate.

Text in Illustration





(3) Hold the glass in place securely with protective tape or equivalent until the adhesive hardens.

NOTICE:
Do not drive the vehicle within the amount of time written in the table below.

Minimum Time:





(d) w/ Windshield Deicer System:

Connect the windshield deicer connector.

6. INSTALL WINDSHIELD OUTSIDE MOULDING

(a) Using a brush or sponge, apply Primer G to the glass where the moulding will be installed.

NOTICE:
* Do not apply too much primer.
* Allow the primer coating to dry for 3 minutes or more.
* Throw away any leftover primer.

HINT
If an area other than that specified is coated by accident, wipe off the primer with a clean piece of cloth before it dries.





Apply Primer G to the windshield outside moulding area "a" shown in the illustration.

(b) Install a new moulding to the windshield glass as shown in the illustration.

7. CHECK FOR LEAK AND REPAIR

(a) Conduct a leak test after the adhesive has completely hardened.

(b) Seal any leaks with auto glass sealer.

8. INSTALL ROOF HEADLINING ASSEMBLY

(a) Return the roof headlining to its original position. Refer to the following procedures Installation.

9. INSTALL INNER REAR VIEW MIRROR ASSEMBLY (w/ EC Mirror) Installation

10. INSTALL INNER REAR VIEW MIRROR STAY HOLDER COVER (w/ EC Mirror) Installation

11. INSTALL INNER REAR VIEW MIRROR ASSEMBLY (w/o EC Mirror) Installation

12. INSTALL MAP LIGHT ASSEMBLY Installation

13. INSTALL VISOR HOLDER Installation

14. INSTALL VISOR ASSEMBLY LH Installation

15. INSTALL VISOR ASSEMBLY RH Installation

16. INSTALL VISOR BRACKET COVER LH Installation

17. INSTALL VISOR BRACKET COVER RH Installation

18. INSTALL ASSIST GRIP SUB-ASSEMBLY Installation

19. INSTALL FRONT PILLAR GARNISH LH Installation

20. INSTALL FRONT PILLAR GARNISH RH Installation

21. INSTALL NO. 1 ASSIST GRIP Installation

22. INSTALL ASSIST GRIP PLUG Installation

23. INSTALL FRONT DOOR OPENING TRIM WEATHERSTRIP LH Installation

24. INSTALL FRONT DOOR OPENING TRIM WEATHERSTRIP RH Installation

25. INSTALL COWL SIDE TRIM BOARD LH Installation

26. INSTALL COWL SIDE TRIM BOARD RH Installation

27. INSTALL DOOR SCUFF PLATE ASSEMBLY LH Installation

28. INSTALL DOOR SCUFF PLATE ASSEMBLY RH Installation

29. INSTALL COWL TOP VENTILATOR LOUVER SUB-ASSEMBLY Installation

30. INSTALL FRONT WIPER ARM AND BLADE ASSEMBLY RH Installation

31. INSTALL FRONT WIPER ARM AND BLADE ASSEMBLY LH Installation

32. INSTALL FRONT WIPER ARM HEAD CAP Installation

33. INSTALL FRONT FENDER TO COWL SIDE SEAL LH Installation

34. INSTALL FRONT FENDER TO COWL SIDE SEAL RH Installation

35. INSTALL FRONT UPPER FENDER PROTECTOR LH Installation

36. INSTALL FRONT UPPER FENDER PROTECTOR RH Installation

37. INSTALL UPPER RADIATOR SUPPORT SEAL Installation

38. CONNECT CABLE TO NEGATIVE BATTERY TERMINAL

NOTICE:
When disconnecting the cable, some systems need to be initialized after the cable is reconnected Repair Instruction - Initialization.