Operation CHARM: Car repair manuals for everyone.
Manuals through 2025 now available!

Our trusted friends have launched a new website named LEMON, which has newer manuals. It also contains all the CHARM manuals.

LEMON is the spiritual successor to CHARM, I recommend you try it!

Link: lemon-manuals.la or lemon-manuals.org.ua

(Some people have issue connecting. LEMON is investigating. For now, use Firefox or change your DNS server)

Or, hide this message: temporarily or permanently

CAN Main Bus Line for Disconnection (from 12/2010)





CAN COMMUNICATION: CAN COMMUNICATION SYSTEM: CAN Main Bus Line for Disconnection
- CAN Main Bus Line for Disconnection

DESCRIPTION

There may be an open circuit in the CAN main bus line and/or the DLC3 sub bus line when the resistance between terminals 6 (CANH) and 14 (CANL) of the DLC3 is 69 Ohms or more.





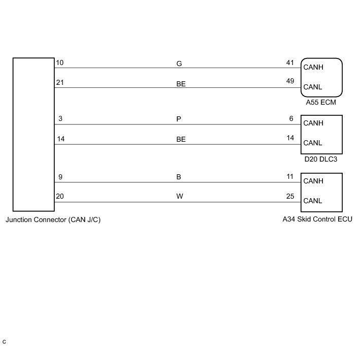
WIRING DIAGRAM





INSPECTION PROCEDURE

NOTICE:
* Turn the ignition switch off before measuring the resistances between CAN bus main wires and between CAN bus branch wires.
* Turn the ignition switch off before inspecting CAN bus wires for a ground short.
* After the ignition switch is turned off, check that the key reminder warning system and light reminder warning system are not operating.
* Before measuring the resistance, leave the vehicle as is for at least 1 minute and do not operate the ignition switch, any other switches or the doors. If any doors need to be opened in order to check connectors, open the doors and leave them open.

HINT
* Operating the ignition switch, any other switches or a door triggers related ECU and sensor communication on the CAN. This communication will cause the resistance value to change.
* Even after DTCs are cleared, if a DTC is stored again after driving the vehicle for a while, the malfunction may be occurring due to vibration of the vehicle. In such a case, wiggling the ECUs or wire harness while performing the inspection below may help determine the cause of the malfunction.

PROCEDURE

1. CHECK DLC3

(a) Turn the ignition switch off.





(b) Measure the resistance according to the value(s) in the table below.

Result:





NOTICE:
When the measured value is 69 Ohms or more and a CAN communication system DTC is output, there may be a fault besides disconnection of the DLC3 sub bus line. For that reason, troubleshooting should be performed again from "HOW TO PROCEED WITH TROUBLESHOOTING" Initial Inspection and Diagnostic Overview after repairing the trouble area.

B -- REPAIR DLC3 SUB BUS LINE OR CONNECTOR
A -- Continue to next step.

2. CHECK CAN MAIN BUS LINE FOR DISCONNECTION

(a) Turn the ignition switch off.





(b) Disconnect the ECM connector (A55).

(c) Measure the resistance according to the value(s) in the table below.

Standard resistance:





NG -- CONNECT CONNECTOR

OK -- REPLACE ECM Removal (from 12/2010)

3. CONNECT CONNECTOR

(a) Reconnect the ECM connector (A55) to the ECM.

NEXT -- Continue to next step.

4. CHECK CAN MAIN BUS LINE FOR DISCONNECTION

(a) Disconnect the connector from CAN junction connector.





(b) Measure the resistance according to the value(s) in the table below.

Standard resistance:





NG -- REPAIR OR REPLACE CAN BUS MAIN WIRE OR CONNECTOR (CAN JUNCTION CONNECTOR - ECM)
OK -- Continue to next step.

5. CONNECT CONNECTOR

(a) Reconnect the CAN junction connector.

NEXT -- Continue to next step.

6. CHECK CAN MAIN BUS LINE FOR DISCONNECTION (CAN J/C)

(a) Turn the ignition switch off.





(b) Disconnect the skid control ECU connector (A34).

(c) Measure the resistance according to the value(s) in the table below.

Standard resistance:





NG -- CONNECT CONNECTOR

OK -- REPLACE SKID CONTROL ECU Removal

7. CONNECT CONNECTOR

(a) Reconnect the skid control ECU connector (A34) to the skid control ECU.

NEXT -- Continue to next step.

8. CHECK CAN MAIN BUS LINE FOR DISCONNECTION

(a) Disconnect the connector from CAN junction connector.





(b) Measure the resistance according to the value(s) in the table below.

Standard resistance:





NG -- REPAIR OR REPLACE CAN BUS MAIN WIRE OR CONNECTOR (JUNCTION CONNECTOR (CAN J/C) -SKID CONTROL ECU WITH ACTUATOR)

OK -- REPLACE JUNCTION CONNECTOR