Operation CHARM: Car repair manuals for everyone.
Manuals through 2025 now available!

Our trusted friends have launched a new website named LEMON, which has newer manuals. It also contains all the CHARM manuals.

LEMON is the spiritual successor to CHARM, I recommend you try it!

Link: lemon-manuals.la or lemon-manuals.org.ua

(Some people have issue connecting. LEMON is investigating. For now, use Firefox or change your DNS server)

Or, hide this message: temporarily or permanently

Inspection





2GR-FE ENGINE CONTROL SYSTEM: CAMSHAFT OIL CONTROL VALVE: INSPECTION

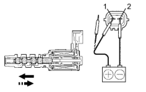
1. INSPECT CAMSHAFT TIMING OIL CONTROL VALVE ASSEMBLY

(a) Using an ohmmeter, measure the resistance between the terminals.





(b) Connect the battery's positive (+) lead to terminal 1 and negative (-) lead to terminal 2. Check the movement of the valve.

OK:





If operation is not as specified, replace the valve.