Operation CHARM: Car repair manuals for everyone.
Manuals through 2025 now available!

Our trusted friends have launched a new website named LEMON, which has newer manuals. It also contains all the CHARM manuals.

LEMON is the spiritual successor to CHARM, I recommend you try it!

Link: lemon-manuals.la or lemon-manuals.org.ua

(Some people have issue connecting. LEMON is investigating. For now, use Firefox or change your DNS server)

Or, hide this message: temporarily or permanently

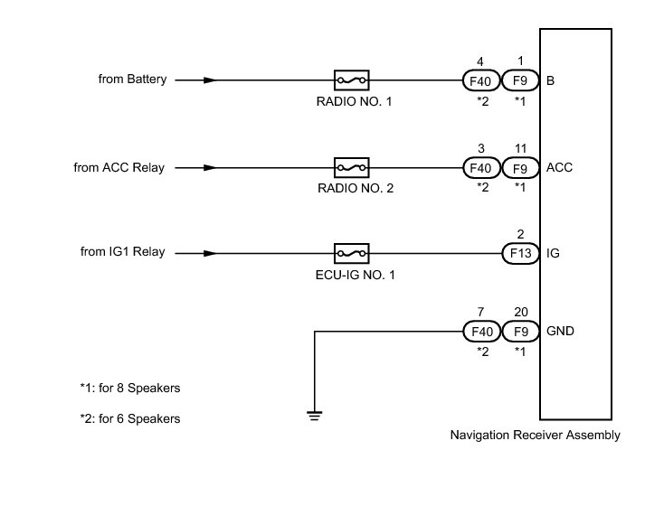
Navigation Receiver Assembly Power Source Circuit





NAVIGATION: NAVIGATION SYSTEM: Navigation Receiver Assembly Power Source Circuit
- Navigation Receiver Assembly Power Source Circuit

DESCRIPTION

This is the power source circuit to operate the navigation receiver assembly.

WIRING DIAGRAM





INSPECTION PROCEDURE

PROCEDURE

1. INSPECT NAVIGATION RECEIVER ASSEMBLY

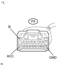
(a) Disconnect the navigation receiver assembly connector (for 8 Speakers).





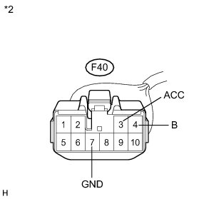
(b) Disconnect the navigation receiver assembly connector (for 6 Speakers).





(c) Disconnect the navigation receiver assembly connector.





(d) Measure the resistance according to the value(s) in the table below.

Standard Resistance:





(e) Measure the voltage according to the value(s) in the table below.

Standard Voltage:





Text in Illustration





*4: for 8 Speakers

*5: for 6 Speakers

NG -- REPAIR OR REPLACE HARNESS OR CONNECTOR

OK -- PROCEED TO NEXT SUSPECTED AREA SHOWN IN PROBLEM SYMPTOMS TABLE Symptom Related Diagnostic Procedures