Operation CHARM: Car repair manuals for everyone.
Manuals through 2025 now available!

Our trusted friends have launched a new website named LEMON, which has newer manuals. It also contains all the CHARM manuals.

LEMON is the spiritual successor to CHARM, I recommend you try it!

Link: lemon-manuals.la or lemon-manuals.org.ua

(Some people have issue connecting. LEMON is investigating. For now, use Firefox or change your DNS server)

Or, hide this message: temporarily or permanently

Sound Signal Circuit Between Navigation Receiver Assembly and Stereo Component Amplifier





NAVIGATION: NAVIGATION SYSTEM: Sound Signal Circuit between Navigation Receiver Assembly and Stereo Component Amplifier
- Sound Signal Circuit between Navigation Receiver Assembly and Stereo Component Amplifier

DESCRIPTION

The navigation receiver assembly sends a sound signal to the stereo component amplifier through this circuit.

The sound signal that has been sent is amplified by the stereo component amplifier, and then is sent to the speakers.

If there is an open or short in the circuit, sound cannot be heard from the speakers even if there is no malfunction in the stereo component amplifier or speakers.

WIRING DIAGRAM





INSPECTION PROCEDURE

PROCEDURE

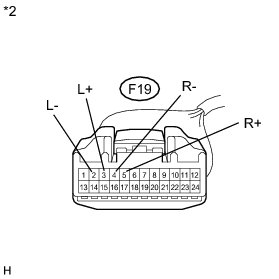
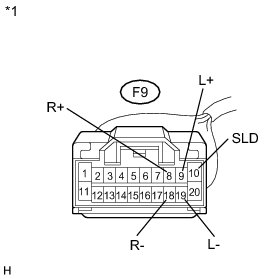
1. CHECK HARNESS AND CONNECTOR (NAVIGATION RECEIVER - STEREO COMPONENT AMPLIFIER)

(a) Disconnect the navigation receiver assembly connector.





(b) Disconnect the stereo component amplifier connector.





(c) Measure the resistance according to the value(s) in the table below.

Standard Resistance:





Text in Illustration





NG -- REPAIR OR REPLACE HARNESS OR CONNECTOR

OK -- PROCEED TO NEXT SUSPECTED AREA SHOWN IN PROBLEM SYMPTOMS TABLE Symptom Related Diagnostic Procedures