Operation CHARM: Car repair manuals for everyone.
Manuals through 2025 now available!

Our trusted friends have launched a new website named LEMON, which has newer manuals. It also contains all the CHARM manuals.

LEMON is the spiritual successor to CHARM, I recommend you try it!

Link: lemon-manuals.la or lemon-manuals.org.ua

(Some people have issue connecting. LEMON is investigating. For now, use Firefox or change your DNS server)

Or, hide this message: temporarily or permanently

Alignment: Service and Repair





SUSPENSION: FRONT WHEEL ALIGNMENT: ADJUSTMENT

NOTICE:
For vehicles equipped with VSC, if the wheel alignment has been adjusted, and if suspension or underbody components have been removed/installed or replaced, be sure to perform the following initialization procedure in order for the system to function normally:

1. Disconnect the negative battery terminal for more than 2 seconds.

2. Reconnect the negative battery terminal.

3. Perform zero point calibration of the yaw rate and deceleration sensor and test mode inspection.

HINT
Calibration

1. INSPECT TIRES Testing and Inspection

2. MEASURE VEHICLE HEIGHT





Text in Illustration





Vehicle height (unloaded vehicle):

for Standard





Vehicle height (unloaded vehicle):

for Off Road Package





NOTICE:
The standard value shown here is a value that is used for adjusting the wheel alignment and does not indicate the height of an actual vehicle.

Measuring points:

A
Ground clearance of front wheel center

B
Ground clearance of adjustment cam bolt center

C
Ground clearance of rear wheel center

D
Ground clearance of lower control arm set bolt center

NOTICE:
Before inspecting the wheel alignment, check the vehicle height.

Bounce the vehicle up and down at the corners to stabilize the suspension before inspecting the vehicle height.

3. INSPECT WHEEL TURNING ANGLE





(a) Turn the steering wheel fully, and measure the wheel turning angle.

Text in Illustration





Wheel turning angle (unloaded vehicle):

for Standard





Wheel turning angle (unloaded vehicle):

for Off Road Package





If the right and left turning angles of the inside and outside wheels are not within the specified ranges, check the right and left rack end lengths.

4. INSPECT CAMBER, CASTER AND STEERING AXIS INCLINATION





(a) Install the camber-caster-kingpin gauge and position the front wheel on the wheel alignment tester.

Text in Illustration





(b) Inspect the camber, caster and steering axis inclination.

Camber, caster and steering axis inclination (unloaded vehicle):

for Standard





Camber, caster and steering axis inclination (unloaded vehicle):

for Off Road Package





NOTICE:
* Perform the inspection while the vehicle is empty (without spare tires or tools on board).
* The tolerance for the difference between the left and right wheels is 30' (0.50°) or less for both the camber and caster.

If the steering axis inclination is not as specified after the camber and caster have been correctly adjusted, recheck the steering knuckle and front wheel for distortion and slack.

5. ADJUST CAMBER AND CASTER

NOTICE:
Inspect the toe-in after the camber has been adjusted.

(a) Loosen the nut and bolt.

(b) Turn camber adjust cam No. 2 and the toe adjust cam and adjust the camber and the caster.

HINT
Try to adjust the camber and caster to the central values.





Text in Illustration





(c) How to read the adjustment chart (using examples).





Text in Illustration





(1) Measure the present alignment.

Camber:

0°20' (0.33°)

Caster:

3°20' (3.33°)

(2) Calculate the difference between the standard value (A) and the measured value (B) on the adjustment chart.

Standard value:

Camber
0°00' (0°)

Caster
3°30' (3.5°)

Formula
B - A = C

Camber
0°00' - (0°20') = -0°20'

Caster
3°20' - (3°30') = -0°10'

(3) As shown in the chart, read the distance from the marked point to 0 point, and adjust the front and/or rear adjusting cams accordingly.

Toe adjust cam:

- (Shorter) 2.8

Camber adjust cam:

- (Shorter) 1.8





Text in Illustration





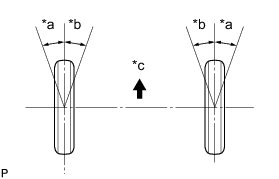
6. INSPECT TOE-IN





Text in Illustration





Toe-in:





If the toe-in is not within the specified range, adjust it at the rack ends.

7. ADJUST TOE-IN

(a) Remove the rack boot set clips.

(b) Loosen the tie rod end lock nuts.

(c) Turn the right and left rack ends uniformly to adjust the toe-in.

HINT
Try to adjust the toe-in to the middle of the specified range.

(d) Make sure that the lengths of the right and left rack ends are the same.





(e) Tighten the tie rod end lock nuts.

Torque : 88 Nm (897 kgf-cm, 65 ft-lbf)

(f) Place the boots on the seats and install the clips.

HINT
Make sure that the boots are not twisted.

8. FRONT WHEELS FACING STRAIGHT AHEAD

9. DISCONNECT CABLE FROM NEGATIVE BATTERY TERMINAL (w/ VSC)

NOTICE:
Disconnect the negative battery terminal for more than 2 seconds.

10. CONNECT CABLE TO NEGATIVE BATTERY TERMINAL (w/ VSC)

11. PERFORM YAW RATE SENSOR ZERO POINT CALIBRATION (w/ VSC)

Calibration

12. CHECK STEERING ANGLE SENSOR ZERO POINT CALIBRATION (w/ VSC)

Calibration