Operation CHARM: Car repair manuals for everyone.
Manuals through 2025 now available!

Our trusted friends have launched a new website named LEMON, which has newer manuals. It also contains all the CHARM manuals.

LEMON is the spiritual successor to CHARM, I recommend you try it!

Link: lemon-manuals.la or lemon-manuals.org.ua

(Some people have issue connecting. LEMON is investigating. For now, use Firefox or change your DNS server)

Or, hide this message: temporarily or permanently

Malfunction Indicator Lamp: Testing and Inspection





1AR-FE ENGINE CONTROL SYSTEM: SFI SYSTEM: MIL Circuit
- MIL Circuit

DESCRIPTION

The Malfunction Indicator Lamp (MIL) is used to indicate vehicle malfunctions detected by the ECM. When the ignition switch is turned to ON, power is supplied to the MIL circuit, and the ECM provides the circuit ground which illuminates the MIL.

The MIL operation can be checked visually. When the ignition switch is first turned to ON, the MIL should be illuminated and should then turn off. If the MIL remains illuminated or is not illuminated, conduct the following troubleshooting procedure using the Techstream.

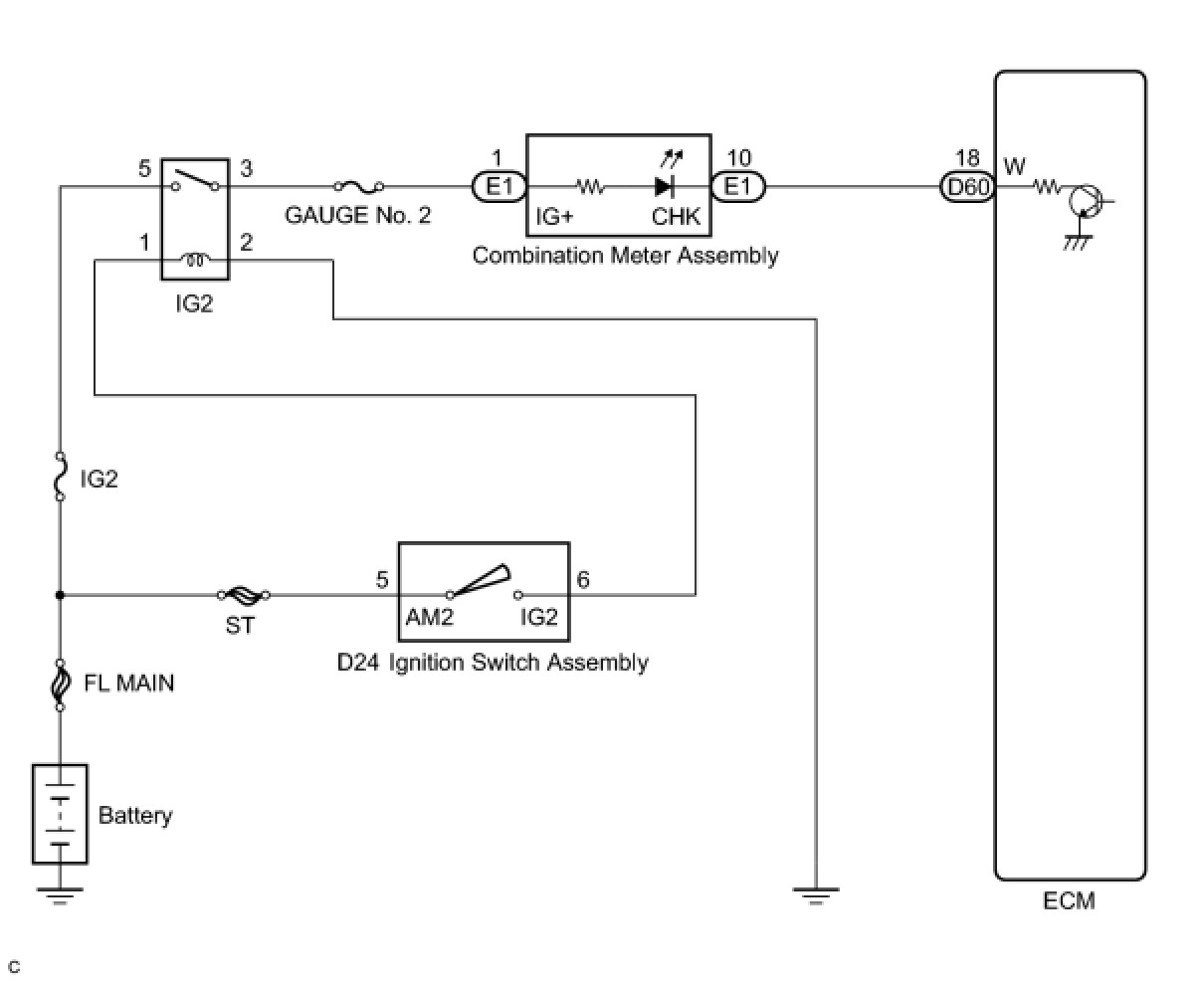
WIRING DIAGRAM





INSPECTION PROCEDURE

PROCEDURE

1. CHECK THAT MIL IS ILLUMINATED

(a) Turn the ignition switch to ON.

(b) Check the illumination of the MIL.

Result:





B -- CHECK THAT ENGINE STARTS
A -- Continue to next step.

2. CHECK WHETHER MIL TURNS OFF

(a) Connect the Techstream to the DLC3.

(b) Turn the ignition switch to ON and turn the Techstream on.

(c) Enter the following menus: Powertrain / Engine / Trouble Code.

(d) Check if any DTCs have been stored. Note down any DTCs.

(e) Clear the DTCs Reading and Clearing Diagnostic Trouble Codes.

(f) Check if the MIL goes off.

OK:

MIL goes off.

NG -- CHECK HARNESS AND CONNECTOR (CHECK FOR SHORT IN WIRE HARNESS)

OK -- REPAIR CIRCUITS INDICATED BY OUTPUT DTCS SFI System

3. CHECK HARNESS AND CONNECTOR (CHECK FOR SHORT IN WIRE HARNESS)

(a) Disconnect the ECM connector.





(b) Turn the ignition switch to ON.

(c) Check that the MIL is not illuminated.

OK:

MIL is not illuminated.

(d) Reconnect the ECM connector.

NG -- CHECK HARNESS AND CONNECTOR (COMBINATION METER ASSEMBLY - ECM)

OK -- REPLACE ECM Removal

4. CHECK HARNESS AND CONNECTOR (COMBINATION METER ASSEMBLY - ECM)

(a) Disconnect the ECM connector.

(b) Disconnect the combination meter assembly connector.

(c) Measure the resistance according to the value(s) in the table below.

Standard Resistance (Check for Short):





(d) Reconnect the ECM connector.

(e) Reconnect the combination meter assembly connector.

NG -- REPAIR OR REPLACE HARNESS OR CONNECTOR

OK -- REPLACE COMBINATION METER ASSEMBLY Removal

5. CHECK THAT ENGINE STARTS

(a) Turn the ignition switch to ON.

(b) Start the engine.

Result:





HINT
*: The Techstream cannot communicate with the ECM.

B -- GO TO VC OUTPUT CIRCUIT Component Tests and General Diagnostics
A -- Continue to next step.

6. CHECK HARNESS AND CONNECTOR (COMBINATION METER - BODY GROUND)

(a) Disconnect the ECM connector.

(b) Turn the ignition switch to ON.

(c) Measure the voltage according to the value(s) in the table below.

Standard Voltage:





(d) Reconnect the ECM connector.

NG -- CHECK HARNESS AND CONNECTOR (COMBINATION METER ASSEMBLY - ECM)

OK -- REPLACE ECM Removal

7. CHECK HARNESS AND CONNECTOR (COMBINATION METER ASSEMBLY - ECM)

(a) Disconnect the ECM connector.

(b) Disconnect the combination meter assembly connector.

(c) Measure the resistance according to the value(s) in the table below.

Standard Resistance (Check for Open):





(d) Reconnect the ECM connector.

(e) Reconnect the combination meter assembly connector.

NG -- REPAIR OR REPLACE HARNESS OR CONNECTOR

OK -- REPLACE COMBINATION METER ASSEMBLY Removal