Operation CHARM: Car repair manuals for everyone.
Manuals through 2025 now available!

Our trusted friends have launched a new website named LEMON, which has newer manuals. It also contains all the CHARM manuals.

LEMON is the spiritual successor to CHARM, I recommend you try it!

Link: lemon-manuals.la or lemon-manuals.org.ua

(Some people have issue connecting. LEMON is investigating. For now, use Firefox or change your DNS server)

Or, hide this message: temporarily or permanently

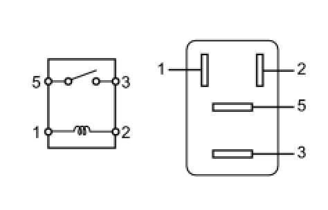
Main Relay (Computer/Fuel System): Testing and Inspection





3UR-FE ENGINE CONTROL: RELAY: ON-VEHICLE INSPECTION

1. INSPECT CIRCUIT OPENING RELAY (C/OPN)

(a) Measure the resistance according to the value(s) in the table below.





Standard Resistance:





If the result is not as specified, replace the relay.

2. INSPECT INTEGRATION RELAY (IG2)

(a) Measure the resistance of the IG2 MAIN fuse.

(1) Remove the IG2 MAIN fuse from the integration relay.

(2) Measure the resistance according to the value(s) in the table below.

Standard Resistance:





If the result is not as specified, replace the IG2 MAIN fuse.

(3) Install the IG2 MAIN fuse to the integration relay.

(b) Measure the resistance of the ignition relay No. 2 (IG2) circuit.





(1) Measure the resistance according to the value(s) in the table below.

Standard Resistance:





If the result is not as specified, replace the integration relay.

3. INSPECT INTEGRATION RELAY (EFI)

(a) Measure the resistance of the EFI MAIN fuse.

(1) Remove the EFI MAIN fuse from the integration relay

(2) Measure the resistance according to the value(s) in the table below.

Standard Resistance:





If the result is not as specified, replace the EFI MAIN fuse.

(3) Install the EFI MAIN fuse to the integration relay.

(b) Measure the resistance of the EFI relay circuit.





(1) Measure the resistance according to the value(s) in the table below.

Standard Resistance:





If the result is not as specified, replace the integration relay.

4. INSPECT EFI NO. 2 RELAY

(a) Measure the resistance according to the value(s) in the table below.





Standard Resistance:





If the result is not as specified, replace the relay.

5. INSPECT INTEGRATION RELAY (A/F)

(a) Measure the resistance of the A/F fuse.

(1) Remove the A/F fuse from the integration relay.

(2) Measure the resistance according to the value(s) in the table below.

Standard Resistance:





If the result is not as specified, replace the A/F fuse.

(3) Install the A/F fuse to the integration relay.

(b) Measure the resistance of the A/F sensor heater relay circuit.





(1) Measure the resistance according to the value(s) in the table below.

Standard Resistance:





If the result is not as specified, replace the integration relay.

6. INSPECT MAIN BODY ECU (IG1 NO. 1)

(a) Measure the resistance according to the value(s) in the table below.





Standard Resistance:





If the result is not as specified, replace the main body ECU.

7. INSPECT STARTER RELAY (ST) Testing and Inspection

8. INSPECT STARTER CUT RELAY (ST CUT) Testing and Inspection

9. INSPECT MAIN BODY ECU (ACC RELAY) Testing and Inspection