Operation CHARM: Car repair manuals for everyone.
Manuals through 2025 now available!

Our trusted friends have launched a new website named LEMON, which has newer manuals. It also contains all the CHARM manuals.

LEMON is the spiritual successor to CHARM, I recommend you try it!

Link: lemon-manuals.la or lemon-manuals.org.ua

(Some people have issue connecting. LEMON is investigating. For now, use Firefox or change your DNS server)

Or, hide this message: temporarily or permanently

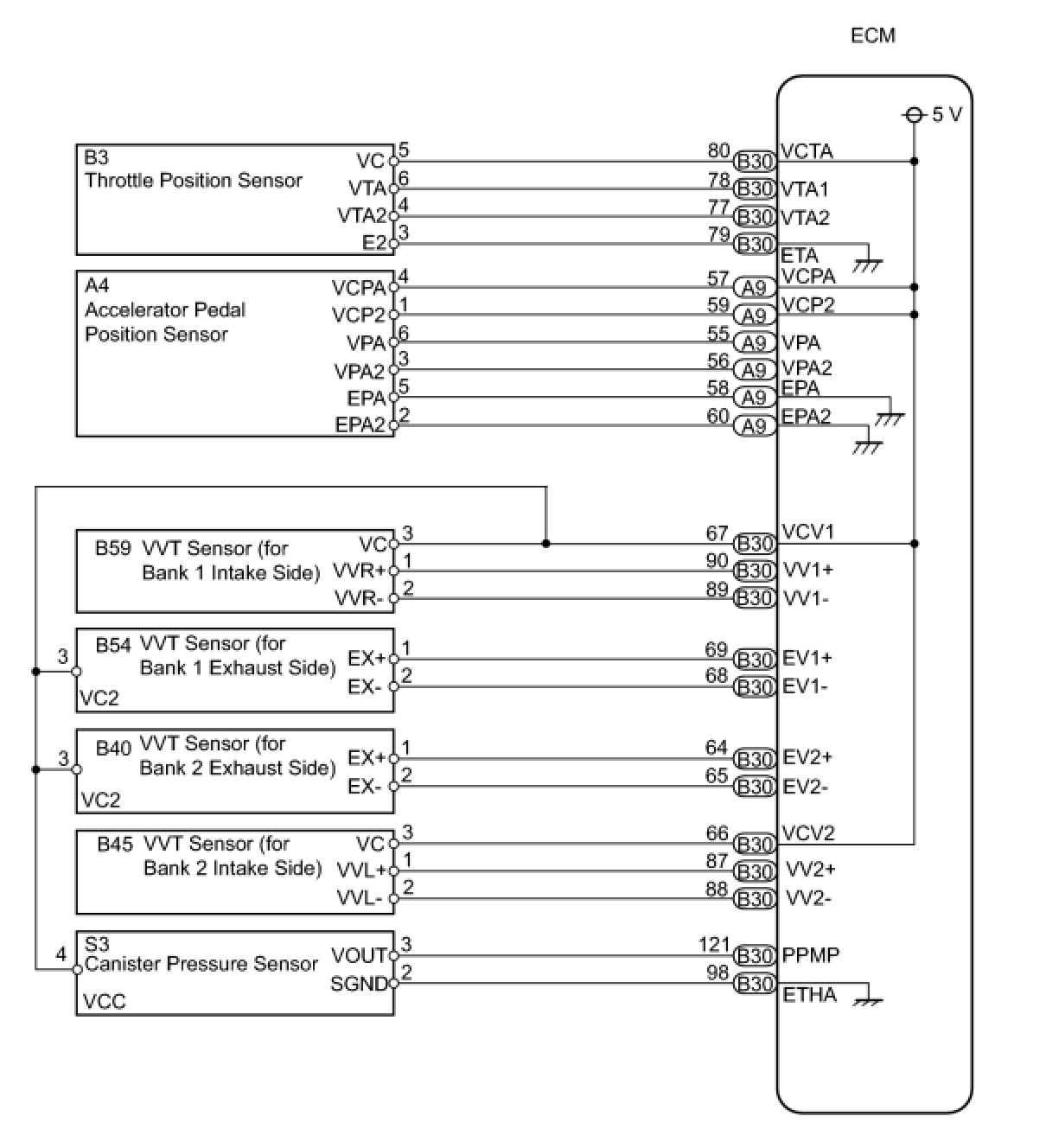
VC Output Circuit





2GR-FE ENGINE CONTROL SYSTEM: SFI SYSTEM: VC Output Circuit
- VC Output Circuit

DESCRIPTION

The ECM constantly generates a 5 V power source voltage from the battery voltage supplied to the +B (BATT) terminal to operate the microprocessor. The ECM also provides this power source voltage to the sensors through the VC output circuit.





When the VC circuit is short-circuited, the microprocessor in the ECM and sensors that are supplied with power through the VC circuit are inactivated because the power is not supplied from the VC circuit. Under this condition, the system does not start up and the MIL does not illuminate even if the system malfunctions.

HINT
Under normal conditions, the MIL is illuminated for several seconds when the ignition switch is first turned to ON, and then goes off when the engine starts.

WIRING DIAGRAM





INSPECTION PROCEDURE

PROCEDURE

1. CHECK MIL

(a) Check that the Malfunction Indicator Lamp (MIL) lights up when turning the ignition switch to ON.

OK:

MIL lights up.

OK -- SYSTEM OK
NG -- Continue to next step.

2. CHECK COMMUNICATION BETWEEN TECHSTREAM AND ECM

(a) Connect the Techstream to the DLC3.

(b) Turn the ignition switch to ON and turn the Techstream ON.

(c) Check the communication between the Techstream and ECM.

Result:





A -- GO TO MIL CIRCUIT
B -- Continue to next step.

3. CHECK MIL (THROTTLE POSITION SENSOR)

(a) Disconnect the B3 throttle body connector.

(b) Turn the ignition switch to ON.

(c) Check the MIL.

Result:





(d) Reconnect the throttle body connector.

A -- REPLACE THROTTLE BODY ASSEMBLY
B -- Continue to next step.

4. CHECK MIL (ACCELERATOR PEDAL POSITION SENSOR)

(a) Disconnect the A4 accelerator pedal position sensor connector.

(b) Turn the ignition switch to ON.

(c) Check the MIL.

Result:





(d) Reconnect the accelerator pedal position sensor connector.

A -- REPLACE ACCELERATOR PEDAL POSITION SENSOR
B -- Continue to next step.

5. CHECK MIL (VVT SENSOR FOR BANK 1 INTAKE SIDE)

(a) Disconnect the B59 VVT sensor connector.

(b) Turn the ignition switch to ON.

(c) Check the MIL.

Result:





(d) Reconnect the VVT sensor connector.

A -- REPLACE VVT SENSOR (FOR BANK 1 INTAKE SIDE)
B -- Continue to next step.

6. CHECK MIL (VVT SENSOR FOR BANK 1 EXHAUST SIDE)

(a) Disconnect the B54 VVT sensor connector.

(b) Turn the ignition switch to ON.

(c) Check the MIL.

Result:





(d) Reconnect the VVT sensor connector.

A -- REPLACE VVT SENSOR (FOR BANK 1 EXHAUST SIDE)
B -- Continue to next step.

7. CHECK MIL (VVT SENSOR FOR BANK 2 EXHAUST SIDE)

(a) Disconnect the B40 VVT sensor connector.

(b) Turn the ignition switch to ON.

(c) Check the MIL.

Result:





(d) Reconnect the VVT sensor connector.

A -- REPLACE VVT SENSOR (FOR BANK 2 EXHAUST SIDE)
B -- Continue to next step.

8. CHECK MIL (VVT SENSOR FOR BANK 2 INTAKE SIDE)

(a) Disconnect the B45 VVT sensor connector.

(b) Turn the ignition switch to ON.

(c) Check the MIL.

Result:





(d) Reconnect the VVT sensor connector.

A -- REPLACE VVT SENSOR (FOR BANK 2 INTAKE SIDE)
B -- Continue to next step.

9. CHECK MIL (CANISTER PUMP MODULE)

(a) Disconnect the S3 canister pump module connector.





(b) Turn the ignition switch to ON.

(c) Check the MIL.

Result:





(d) Reconnect the canister pump module connector.

A -- REPLACE CHARCOAL CANISTER ASSEMBLY
B -- Continue to next step.

10. CHECK WIRE HARNESS

(a) Disconnect the B3 throttle body connector.

(b) Disconnect the A4 accelerator pedal position sensor connector.

(c) Disconnect the S3 canister pump module connector.

(d) Disconnect the B59 VVT sensor connector.

(e) Disconnect the B45 VVT sensor connector.

(f) Disconnect the B54 VVT sensor connector.

(g) Disconnect the B40 VVT sensor connector.

(h) Disconnect the A9 and B30 ECM connectors.





(i) Measure the resistance.

Standard resistance:





(j) Reconnect the throttle body connector.

(k) Reconnect the accelerator pedal position sensor connector.

(l) Reconnect the canister pump module connector.

(m) Reconnect the VVT sensor connectors.

(n) Reconnect the ECM connectors.

NG -- REPAIR OR REPLACE HARNESS OR CONNECTOR

OK -- REPLACE ECM