Operation CHARM: Car repair manuals for everyone.
Manuals through 2025 now available!

Our trusted friends have launched a new website named LEMON, which has newer manuals. It also contains all the CHARM manuals.

LEMON is the spiritual successor to CHARM, I recommend you try it!

Link: lemon-manuals.la or lemon-manuals.org.ua

(Some people have issue connecting. LEMON is investigating. For now, use Firefox or change your DNS server)

Or, hide this message: temporarily or permanently

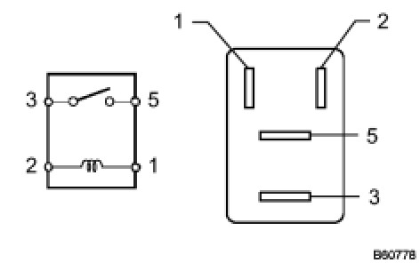
Main Relay (Computer/Fuel System): Testing and Inspection





1UR-FE ENGINE CONTROL: RELAY: ON-VEHICLE INSPECTION

1. INSPECT CIRCUIT OPENING RELAY (C/OPN)

(a) Measure the resistance according to the value(s) in the table below.





Standard Resistance:





If the result is not as specified, replace the circuit opening relay.

2. INSPECT INTEGRATION RELAY (IG2)

(a) Measure the resistance of the IG2 MAIN fuse.

(1) Measure the resistance according to the value(s) in the table below.

Standard Resistance:





If the result is not as specified, replace the IG2 MAIN fuse.

(b) Measure the resistance of the ignition relay No. 2 (IG2) circuit.





(1) Measure the resistance according to the value(s) in the table below.

Standard Resistance:





If the result is not as specified, replace the integration relay.

3. INSPECT INTEGRATION RELAY (EFI)

(a) Measure the resistance of the EFI No. 1 fuse.

(1) Measure the resistance according to the value(s) in the table below.

Standard Resistance:





If the result is not as specified, replace the EFI No. 1 fuse.

(b) Measure the resistance of the EFI MAIN relay circuit.





(1) Measure the resistance according to the value(s) in the table below.

Standard Resistance:





If the result is not as specified, replace the integration relay.

4. INSPECT INTEGRATION RELAY (A/F)

(a) Measure the resistance of the A/F fuse.

(1) Measure the resistance according to the value(s) in the table below.

Standard Resistance:





If the result is not as specified, replace the A/F fuse.

(b) Measure the resistance of the A/F sensor heater relay.





(1) Measure the resistance according to the value(s) in the table below.

Standard Resistance:





If the result is not as specified, replace the integration relay.

5. INSPECT FUEL PUMP RELAY (F/PMP)

(a) Measure the resistance according to the value(s) in the table below.





Standard Resistance:





If the result is not as specified, replace the fuel pump relay.