Operation CHARM: Car repair manuals for everyone.
Manuals through 2025 now available!

Our trusted friends have launched a new website named LEMON, which has newer manuals. It also contains all the CHARM manuals.

LEMON is the spiritual successor to CHARM, I recommend you try it!

Link: lemon-manuals.la or lemon-manuals.org.ua

(Some people have issue connecting. LEMON is investigating. For now, use Firefox or change your DNS server)

Or, hide this message: temporarily or permanently

Front Wheel Alignment





ALIGNMENT / HANDLING DIAGNOSIS: FRONT WHEEL ALIGNMENT: ADJUSTMENT

NOTICE:
For vehicles equipped with VSC, if the wheel alignment has been adjusted, or if suspension or underbody components have been removed/installed or replaced, be sure to perform the following initialization procedure in order for the system to function normally:

(a) Disconnect the cable from the negative (-) battery terminal for more than 2 seconds.
(b) Reconnect the cable to the negative (-) battery terminal.
(c) Perform zero point calibration of the yaw rate and deceleration sensor, and test mode inspection Programming and Relearning.

1. INSPECT TIRE Component Tests and General Diagnostics

2. MEASURE VEHICLE HEIGHT

NOTICE:
Before inspecting the wheel alignment, adjust the vehicle height to the specification.

(a) Press down on the vehicle several times to stabilize the suspension, and then measure the vehicle height.





Text in Illustration





Measuring points:

A
Ground clearance of the front drive shaft center

B
Ground clearance of the front adjusting cam bolt center

C
Ground clearance of the rear drive shaft center

D
Ground clearance of the rear lower arm No. 1 adjusting cam bolt center

Standard Vehicle Height (Unloaded Vehicle):





NOTICE:
The standard value shown here is a value that is used for adjusting the wheel alignment and does not indicate the height of an actual vehicle.

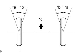
3. INSPECT CAMBER, CASTER AND STEERING AXIS INCLINATION





(a) Install a camber-caster-kingpin gauge or place the front wheels on the center of a wheel alignment tester.

Text in Illustration





(b) Inspect the camber, caster and steering axis inclination.

Standard Camber, Caster, Steering Axis Inclination (Unloaded Vehicle):





4. ADJUST CAMBER AND CASTER

HINT
After the camber has been adjusted, inspect the toe-in.

(a) Loosen the toe adjusting cam bolt and camber adjusting cam nut.

(b) Turn the toe adjusting cam and camber adjusting cam in both directions, and adjust the camber and caster to the center value.

HINT
The camber and caster should be as close as possible to the center value.





Text in Illustration









(c) Read the adjustment chart (example).

(1) Find the wheel alignment standard value applicable for the particular model.

(2) Mark the standard value on the adjustment chart.

Standard Value (Reference):





(3) Mark the alignment value measured when the vehicle is unloaded on the adjustment chart.

Measured Value (Reference):





(4) As shown in the chart, read the distance from the marked point to 0, and adjust the front and/ or rear adjusting cams accordingly.

Amount to Turn Adjusting Cams (by Gradation):









5. INSPECT TOE-IN





(a) Bounce the vehicle up and down at the corners to stabilize the suspension, and then inspect the toe-in.

Text in Illustration





Standard Toe-in (Unloaded Vehicle):





* If the toe-in is not as specified, adjust it at the rack ends.

6. ADJUST TOE-IN

(a) Release the rack boot set clips.

(b) Loosen the tie rod end lock nuts.

(c) Turn the right and left rack ends by an equal amount to adjust the toe-in to the center value.

(d) Check that the lengths of the right and left rack ends are approximately the same.





Text in Illustration





Standard difference:

0 +/-1 mm (0 +/-0.0394 in.)

(e) Tighten the tie rod end lock nuts.

Torque : 82 Nm (836 kgf-cm, 61 ft-lbf)

(f) Attach the clips to the boots.

HINT
Make sure that the boots are not twisted.

7. INSPECT WHEEL ANGLE

(a) Turn the steering wheel to the left and right to the full lock positions and measure the turning angle.





Text in Illustration





Standard Wheel Angle (Unloaded Vehicle):





8. PLACE FRONT WHEELS FACING STRAIGHT AHEAD

9. DISCONNECT CABLE FROM NEGATIVE BATTERY TERMINAL

NOTICE:
Disconnect the cable from the negative (-) battery terminal for more than 2 seconds.

10. CONNECT CABLE TO NEGATIVE BATTERY TERMINAL

Torque : 5.4 Nm (55 kgf-cm, 48 in-lbf)

11. PERFORM YAW RATE SENSOR ZERO POINT CALIBRATION

Programming and Relearning

12. CHECK STEERING ANGLE SENSOR ZERO POINT CALIBRATION

C1290