Operation CHARM: Car repair manuals for everyone.
Manuals through 2025 now available!

Our trusted friends have launched a new website named LEMON, which has newer manuals. It also contains all the CHARM manuals.

LEMON is the spiritual successor to CHARM, I recommend you try it!

Link: lemon-manuals.la or lemon-manuals.org.ua

(Some people have issue connecting. LEMON is investigating. For now, use Firefox or change your DNS server)

Or, hide this message: temporarily or permanently

Vehicle Speed Signal Circuit Between Navigation Receiver Assembly and Combination Meter





NAVIGATION / MULTI INFO DISPLAY: NAVIGATION SYSTEM (w/o USB Audio System): Vehicle Speed Signal Circuit between Navigation Receiver Assembly and Combination Meter
- Vehicle Speed Signal Circuit between Navigation Receiver Assembly and Combination Meter

DESCRIPTION

This circuit sends a speed signal from the combination meter assembly to the navigation receiver assembly.

HINT
* A voltage of 12 V or 5 V is output from each ECU and then input to the combination meter assembly. The signal is changed to a pulse signal at the transistor in the combination meter assembly. Each ECU controls its respective system based on the pulse signal.
* If a short occurs in any of the ECUs or in the wire harness connected to an ECU, both systems in the diagram below will not operate normally.

WIRING DIAGRAM





INSPECTION PROCEDURE

PROCEDURE

1. CHECK OPERATION OF SPEEDOMETER

(a) Drive the vehicle and check if the function of the speedometer in the combination meter assembly is normal.

OK:

Actual vehicle speed and the speed indicated on the speedometer are the same.

HINT
* The speed indicated on the speedometer has an allowable margin of error. This can be tested using a speedometer tester (calibrated chassis dynamometer). For details about testing and the margin of error, refer to "Operation Check" in the meter/gauge system How To Proceed With Troubleshooting.
* The vehicle speed sensor is functioning normally when the indication on the speedometer is normal.

NG -- GO TO METER / GAUGE SYSTEM Problem Symptoms Table
OK -- Continue to next step.

2. INSPECT COMBINATION METER ASSEMBLY (SPEED SIGNAL)

(a) Remove the combination meter assembly with the connector(s) still connected.





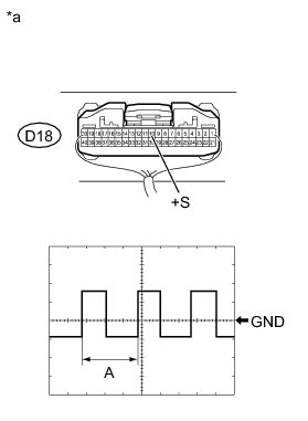
(b) Connect an oscilloscope to terminal D18-10 (+S) and body ground.

(c) Turn the ignition switch to ON.

(d) Check the signal waveform according to the condition(s) in the table below.

Measurement condition





HINT
When the system is functioning normally, one wheel revolution generates 4 pulses. As the vehicle speed increases, the width indicated by (A) in the illustration narrows.

OK:

The waveform displayed is as shown in the illustration

Text in Illustration





NG -- GO TO METER / GAUGE SYSTEM Problem Symptoms Table
OK -- Continue to next step.

3. CHECK HARNESS AND CONNECTOR (NAVIGATION RECEIVER - COMBINATION METER)

(a) Disconnect the D55 navigation receiver assembly connector.

(b) Disconnect the D18 combination meter assembly connector.

(c) Measure the resistance according to the value(s) in the table below.

Standard Resistance (Check for Open):





Standard Resistance (Check for Short):





NG -- REPAIR OR REPLACE HARNESS OR CONNECTOR

OK -- REPLACE NAVIGATION RECEIVER ASSEMBLY Removal