Operation CHARM: Car repair manuals for everyone.
Manuals through 2025 now available!

Our trusted friends have launched a new website named LEMON, which has newer manuals. It also contains all the CHARM manuals.

LEMON is the spiritual successor to CHARM, I recommend you try it!

Link: lemon-manuals.la or lemon-manuals.org.ua

(Some people have issue connecting. LEMON is investigating. For now, use Firefox or change your DNS server)

Or, hide this message: temporarily or permanently

Radio Broadcast Cannot be Received or Poor Reception





NAVIGATION / MULTI INFO DISPLAY: NAVIGATION SYSTEM (w/o USB Audio System): Radio Broadcast cannot be Received or Poor Reception
- Radio Broadcast cannot be Received or Poor Reception

INSPECTION PROCEDURE

PROCEDURE

1. CHECK NAVIGATION RECEIVER ASSEMBLY

(a) Check the radio automatic station search function.

(1) Check the radio automatic station search function by activating it.

OK:

The radio automatic station search function works properly.

NG -- CHECK OPTIONAL COMPONENTS

OK -- REPLACE NAVIGATION RECEIVER ASSEMBLY Removal

2. CHECK OPTIONAL COMPONENTS

(a) Check for optional components (sun-shade film, telephone antenna, etc.).

(1) Check if any optional components, that may decrease reception capacity, such as a sunshade film or telephone antenna, are installed.

OK:

Optional components are installed.

NOTICE:
Do not remove any optional components installed by the customer without his or her consent.

NG -- CHECK NAVIGATION RECEIVER ASSEMBLY (ANTENNA)

OK -- REMOVE OPTIONAL COMPONENTS AND CHECK AGAIN (SEE NOTICE ABOVE)

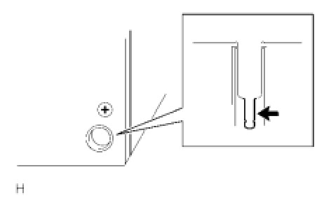
3. CHECK NAVIGATION RECEIVER ASSEMBLY (ANTENNA)

(a) Preparation for check





(1) Remove the antenna plug from the navigation receiver assembly.

(b) Check for noise

(1) Turn the ignition switch to ACC with the navigation receiver assembly connector connected.

(2) Turn the radio on and change to AM mode.

(3) Place a screwdriver, thin wire, or other metal object on the navigation receiver's antenna jack and check that noise can be heard from the speaker.

OK:

Noise occurs.

NG -- PROCEED TO NEXT SUSPECTED AREA SHOWN IN PROBLEM SYMPTOMS TABLE Problem Symptoms Table
OK -- Continue to next step.

4. REPLACE FENDER ANTENNA ASSEMBLY

(a) Replace the fender antenna assembly with a normally functioning part Removal.

(b) Check for noise

OK:

Radio broadcasts can be received.

NG -- REPLACE ANTENNA CORD SUB-ASSY

OK -- END (FENDER ANTENNA ASSEMBLY IS MALFUNCTION)