Operation CHARM: Car repair manuals for everyone.
Manuals through 2025 now available!

Our trusted friends have launched a new website named LEMON, which has newer manuals. It also contains all the CHARM manuals.

LEMON is the spiritual successor to CHARM, I recommend you try it!

Link: lemon-manuals.la or lemon-manuals.org.ua

(Some people have issue connecting. LEMON is investigating. For now, use Firefox or change your DNS server)

Or, hide this message: temporarily or permanently

Installation





FRONT SUSPENSION: FRONT SUSPENSION MEMBER: INSTALLATION

1. INSTALL FRONT SUSPENSION MEMBER BODY MOUNTING REAR CUSHION LH

(a) Temporarily install a new front suspension member body mounting rear cushion LH while confirming the installation direction.





Text in Illustration





NOTICE:
Position the front suspension member body mounting rear cushion in the correct direction.

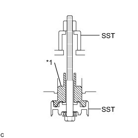
(b) Install SST as shown in the illustration.





Text in Illustration





SST : 09830-10010

09830-01010

09830-01020

09830-01030

09830-01060

(c) Using SST, install the front suspension member body mounting rear cushion LH as shown in the illustration.





Text in Illustration





NOTICE:
Make sure that there is no clearance between the front suspension member and front suspension member body mounting rear cushion LH.

2. INSTALL FRONT SUSPENSION MEMBER BODY MOUNTING REAR CUSHION RH

(a) Temporarily install a new front suspension member body mounting rear cushion RH while confirming the installation direction.





Text in Illustration





NOTICE:
Position the front suspension member body mounting rear cushion in the correct direction.

(b) Using SST, install the front suspension member body mounting rear cushion RH.

SST : 09830-10010

09830-01010

09830-01020

09830-01030

09830-01060

HINT
Perform the same procedure as the LH side.

3. INSTALL FRONT SUSPENSION MEMBER BODY MOUNTING FRONT CUSHION

(a) Temporarily install a new front suspension member body mounting front cushion while confirming the installation direction.





Text in Illustration





NOTICE:
Position the front suspension member body mounting front cushion in the correct direction.

(b) Install SST as shown in the illustration.





Text in Illustration





SST : 09830-10010

09830-01010

09830-01020

09830-01030

09830-01060

(c) Using SST, install the front suspension member body mounting front cushion as shown in the illustration.





Text in Illustration





NOTICE:
Make sure that there is no clearance between the front suspension member and front suspension member body mounting front cushion.

4. INSTALL FRONT SUSPENSION MEMBER BODY MOUNTING REAR STOPPER

5. INSTALL FRONT SUSPENSION MEMBER BODY MOUNTING FRONT STOPPER

6. INSTALL FRONT LOWER SUSPENSION ARM SUB-ASSEMBLY LH Installation

7. INSTALL FRONT LOWER SUSPENSION ARM SUB-ASSEMBLY RH

HINT
Perform the same procedure as the LH side.

8. INSTALL FRONT SUSPENSION MEMBER DYNAMIC DAMPER (for 2WD)

(a) Install the front suspension member dynamic damper with the 2 bolts.

Torque : 29 Nm (296 kgf-cm, 21 ft-lbf)

9. INSTALL REAR ENGINE MOUNTING INSULATOR ASSEMBLY (for AWD)

(a) Install the rear engine mounting insulator assembly with the 2 nuts.

Torque : 52 Nm (530 kgf-cm, 38 ft-lbf)

(b) Install the 2 hole plugs.

10. INSTALL ENGINE MOUNTING INSULATOR RH

(a) Install the engine mounting insulator RH with the 3 nuts.

Torque : 87 Nm (887 kgf-cm, 64 ft-lbf)

(b) Install the 2 hole plugs.

11. INSTALL ENGINE MOUNTING INSULATOR LH

(a) Install the engine mounting insulator LH with the 3 nuts.

Torque : 87 Nm (887 kgf-cm, 64 ft-lbf)

(b) Install the 2 hole plugs.

12. INSTALL FRONT ENGINE MOUNTING INSULATOR ASSEMBLY

(a) Install the front engine mounting insulator assembly with the 3 nuts.

Torque : 52 Nm (530 kgf-cm, 38 ft-lbf)

(b) Install the hole plug.

13. INSTALL REAR ENGINE MOUNTING INSULATOR ASSEMBLY (for AWD) Installation

14. INSTALL ENGINE MOUNTING INSULATOR RH Installation

15. INSTALL ENGINE MOUNTING INSULATOR LH Installation

16. INSTALL FRONT ENGINE MOUNTING INSULATOR ASSEMBLY Installation

17. INSTALL STEERING LINK ASSEMBLY Installation

18. INSTALL FRONT STABILIZER BAR

19. INSTALL FRONT NO. 1 STABILIZER BRACKET LH Installation

20. INSTALL FRONT NO. 1 STABILIZER BRACKET RH

HINT
Perform the same procedure as the LH side.

21. INSTALL ENGINE ASSEMBLY WITH TRANSAXLE (for 2GR-FE)

Installation

22. INSTALL ENGINE ASSEMBLY WITH TRANSAXLE (for 1AR-FE)

Installation