Operation CHARM: Car repair manuals for everyone.
Manuals through 2025 now available!

Our trusted friends have launched a new website named LEMON, which has newer manuals. It also contains all the CHARM manuals.

LEMON is the spiritual successor to CHARM, I recommend you try it!

Link: lemon-manuals.la or lemon-manuals.org.ua

(Some people have issue connecting. LEMON is investigating. For now, use Firefox or change your DNS server)

Or, hide this message: temporarily or permanently

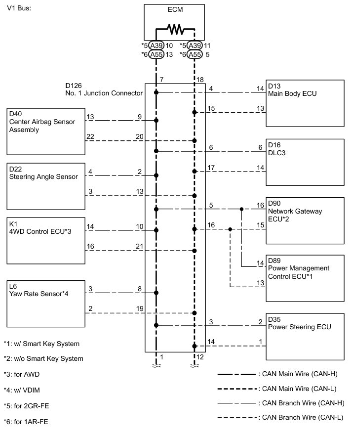
Open in One Side of CAN Branch Line





NETWORKING: CAN COMMUNICATION SYSTEM: Open in One Side of CAN Branch Line
- Open in One Side of CAN Branch Line

DESCRIPTION

If 2 or more ECUs and/or sensors do not appear on the Techstream "CAN Bus Check" screen, one side of the CAN branch wire may be open (One side of the CANH [branch wire]/CANL [branch wire] of the ECU and/or sensor is open).





*1: w/ Smart Key System

*2: w/o Smart Key System

*3: for AWD

*4: w/ VDIM

*5: w/ VSC

WIRING DIAGRAM









INSPECTION PROCEDURE

CAUTION:
Wait at least 90 seconds after disconnecting the cable from the negative (-) battery terminal to prevent airbag and seat belt pretensioner activation.

NOTICE:
* Turn the ignition switch off before measuring the resistances between CAN bus main wires and between CAN bus branch wires.
* Turn the ignition switch off before inspecting CAN bus wires for a ground short.
* After the ignition switch is turned off, check that the key reminder warning system and light reminder warning system are not operating.
* Before measuring the resistance, first disconnect the cable from the negative battery terminal and confirm that the alarm function is no longer operating. Then, leave the vehicle as is for at least 1 minute and do not operate the ignition switch, any other switches or the doors. If any doors need to be opened in order to check connectors, open the doors and leave them open.
* When disconnecting the cable, some systems need to be initialized after the cable is reconnected Repair Instruction - Initialization.

HINT
* Perform the following inspection for the ECUs (sensors) which are not displayed on the Techstream. If a malfunction cannot be identified, perform the following inspections for the ECUs (sensors) connected to the CAN communication system.
* Do not remove the center airbag sensor assembly and ECM, as they are the end parts of the circuit. If removed, CAN communication will not be possible.
* The open circuit confirmation of the center airbag sensor assembly, ECM and main wire is performed in the Check CAN Bus Line procedure of How to Proceed with Troubleshooting. This inspection only has procedures for checking for an open circuit on one side of the CAN branch wire.

PROCEDURE

1. CHECK FOR OPEN IN ONE SIDE OF BRANCH WIRE (4WD CONTROL ECU)

HINT
For vehicle without AWD, go to step 3.

(a) Disconnect the K1 4WD control ECU connector.

(b) Select "CAN Bus Check" on the Techstream Diagnosis System.

Result





B -- CHECK FOR OPEN IN ONE SIDE OF BRANCH WIRE (YAW RATE SENSOR)
A -- Continue to next step.

2. CHECK FOR OPEN IN ONE SIDE OF BRANCH WIRE (4WD CONTROL ECU BRANCH WIRE)

(a) Measure the resistance according to the value(s) in the table below.





Standard Resistance:





Text in Illustration





NG -- REPAIR OR REPLACE CAN BRANCH WIRE OR CONNECTOR (4WD CONTROL ECU)

OK -- REPLACE 4WD CONTROL ECU Removal

3. CHECK FOR OPEN IN ONE SIDE OF BRANCH WIRE (YAW RATE SENSOR)

HINT
For vehicle without VDIM, go to step 5.

(a) Disconnect the L6 yaw rate sensor connector.

(b) Select "CAN Bus Check" on the Techstream Diagnosis System.

Result





B -- CHECK FOR OPEN IN ONE SIDE OF BRANCH WIRE (SKID CONTROL ECU)
A -- Continue to next step.

4. CHECK FOR OPEN IN ONE SIDE OF BRANCH WIRE (YAW RATE SENSOR BRANCH WIRE)

(a) Measure the resistance according to the value(s) in the table below.





Standard Resistance:





Text in Illustration





NG -- REPAIR OR REPLACE CAN BRANCH WIRE OR CONNECTOR (YAW RATE SENSOR)

OK -- REPLACE YAW RATE SENSOR Removal

5. CHECK FOR OPEN IN ONE SIDE OF BRANCH WIRE (SKID CONTROL ECU)

HINT
For vehicle without VDIM or VSC, go to step 7.

(a) Disconnect the A4 skid control ECU connector.

(b) Select "CAN Bus Check" on the Techstream Diagnosis System.

Result





B -- CHECK FOR OPEN IN ONE SIDE OF BRANCH WIRE (MAIN BODY ECU)
A -- Continue to next step.

6. CHECK FOR OPEN IN ONE SIDE OF BRANCH WIRE (SKID CONTROL ECU BRANCH WIRE)

(a) Measure the resistance according to the value(s) in the table below.





Standard Resistance:





Text in Illustration





NG -- REPAIR OR REPLACE CAN BRANCH WIRE OR CONNECTOR (SKID CONTROL ECU)

OK -- REPLACE SKID CONTROL ECU Removal

7. CHECK FOR OPEN IN ONE SIDE OF BRANCH WIRE (MAIN BODY ECU)

(a) Disconnect the D13 main body ECU connector.

(b) Select "CAN Bus Check" on the Techstream Diagnosis System.

Result





B -- CHECK FOR OPEN IN ONE SIDE OF BRANCH WIRE (CENTER AIRBAG SENSOR ASSEMBLY)
A -- Continue to next step.

8. CHECK FOR OPEN IN ONE SIDE OF BRANCH WIRE (MAIN BODY ECU BRANCH WIRE)

(a) Measure the resistance according to the value(s) in the table below.





Standard Resistance:





Text in Illustration





NG -- REPAIR OR REPLACE CAN BRANCH WIRE OR CONNECTOR (MAIN BODY ECU)

OK -- REPLACE MAIN BODY ECU Removal

9. CHECK FOR OPEN IN ONE SIDE OF BRANCH WIRE (CENTER AIRBAG SENSOR ASSEMBLY)

(a) Disconnect the D40 center airbag sensor assembly connector.

(b) Select "CAN Bus Check" on the Techstream Diagnosis System.

Result





B -- CHECK FOR OPEN IN ONE SIDE OF BRANCH WIRE (STEERING ANGLE SENSOR)
A -- Continue to next step.

10. CHECK FOR OPEN IN ONE SIDE OF BRANCH WIRE (CENTER AIRBAG SENSOR ASSEMBLY BRANCH WIRE)





(a) Measure the resistance according to the value(s) in the table below.

Standard Resistance:





Text in Illustration





NG -- REPAIR OR REPLACE CAN BRANCH WIRE OR CONNECTOR (CENTER AIRBAG SENSOR ASSEMBLY)

OK -- REPLACE CENTER AIRBAG SENSOR ASSEMBLY Removal

11. CHECK FOR OPEN IN ONE SIDE OF BRANCH WIRE (STEERING ANGLE SENSOR)

(a) Disconnect the D22 steering angle sensor connector.

(b) Select "CAN Bus Check" on the Techstream Diagnosis System.

Result





B -- CHECK FOR OPEN IN ONE SIDE OF BRANCH WIRE (CERTIFICATION ECU)
A -- Continue to next step.

12. CHECK FOR OPEN IN ONE SIDE OF BRANCH WIRE (STEERING ANGLE SENSOR BRANCH WIRE)





(a) Measure the resistance according to the value(s) in the table below.

Standard Resistance:





Text in Illustration





NG -- REPAIR OR REPLACE CAN BRANCH WIRE OR CONNECTOR (STEERING ANGLE SENSOR)

OK -- REPLACE STEERING ANGLE SENSOR Removal

13. CHECK FOR OPEN IN ONE SIDE OF BRANCH WIRE (CERTIFICATION ECU)

HINT
For vehicle without smart key system, go to step 17.

(a) Disconnect the D88 certification ECU connector.

(b) Select "CAN Bus Check" on the Techstream Diagnosis System.

Result





B -- CHECK FOR OPEN IN ONE SIDE OF BRANCH WIRE (POWER MANAGEMENT CONTROL ECU)
A -- Continue to next step.

14. CHECK FOR OPEN IN ONE SIDE OF BRANCH WIRE (CERTIFICATION ECU BRANCH WIRE)





(a) Measure the resistance according to the value(s) in the table below.

Standard Resistance:





Text in Illustration





NG -- REPAIR OR REPLACE CAN BRANCH WIRE OR CONNECTOR (CERTIFICATION ECU)

OK -- REPLACE CERTIFICATION ECU Removal

15. CHECK FOR OPEN IN ONE SIDE OF BRANCH WIRE (POWER MANAGEMENT CONTROL ECU)

(a) Disconnect the D89 power management control ECU connector.

(b) Select "CAN Bus Check" on the Techstream Diagnosis System.

Result





B -- CHECK FOR OPEN IN ONE SIDE OF BRANCH WIRE (AIR CONDITIONING AMPLIFIER)
A -- Continue to next step.

16. CHECK FOR OPEN IN ONE SIDE OF BRANCH WIRE (POWER MANAGEMENT CONTROL ECU BRANCH WIRE)





(a) Measure the resistance according to the value(s) in the table below.

Standard Resistance:





Text in Illustration





NG -- REPAIR OR REPLACE CAN BRANCH WIRE OR CONNECTOR (POWER MANAGEMENT CONTROL ECU)

OK -- REPLACE POWER MANAGEMENT CONTROL ECU Removal

17. CHECK FOR OPEN IN ONE SIDE OF BRANCH WIRE (AIR CONDITIONING AMPLIFIER)

HINT
For vehicle with smart key system, go to step 21.

(a) Disconnect the D75 air conditioning amplifier connector.

(b) Select "CAN Bus Check" on the Techstream Diagnosis System.

Result





B -- CHECK FOR OPEN IN ONE SIDE OF BRANCH WIRE (NETWORK GATEWAY ECU)
A -- Continue to next step.

18. CHECK FOR OPEN IN ONE SIDE OF BRANCH WIRE (AIR CONDITIONING AMPLIFIER BRANCH WIRE)





(a) Measure the resistance according to the value(s) in the table below.

Standard Resistance:





Text in Illustration





NG -- REPAIR OR REPLACE CAN BRANCH WIRE OR CONNECTOR (AIR CONDITIONING AMPLIFIER)

OK -- REPLACE AIR CONDITIONING AMPLIFIER Removal

19. CHECK FOR OPEN IN ONE SIDE OF BRANCH WIRE (NETWORK GATEWAY ECU)

(a) Disconnect the D90 network gateway ECU connector.

(b) Select "CAN Bus Check" on the Techstream Diagnosis System.

Result





B -- CHECK FOR OPEN IN ONE SIDE OF BRANCH WIRE (POWER STEERING ECU)
A -- Continue to next step.

20. CHECK FOR OPEN IN ONE SIDE OF BRANCH WIRE (NETWORK GATEWAY ECU BRANCH WIRE)





(a) Measure the resistance according to the value(s) in the table below.

Standard Resistance:





Text in Illustration





NG -- REPAIR OR REPLACE CAN BRANCH WIRE OR CONNECTOR (NETWORK GATEWAY ECU)

OK -- REPLACE NETWORK GATEWAY ECU Removal

21. CHECK FOR OPEN IN ONE SIDE OF BRANCH WIRE (POWER STEERING ECU)

(a) Disconnect the D35 power steering ECU connector.

(b) Select "CAN Bus Check" on the Techstream Diagnosis System.

Result





B -- CHECK FOR OPEN IN ONE SIDE OF BRANCH WIRE (POWER MANAGEMENT CONTROL ECU)
A -- Continue to next step.

22. CHECK FOR OPEN IN ONE SIDE OF BRANCH WIRE (POWER STEERING ECU BRANCH WIRE)





(a) Measure the resistance according to the value(s) in the table below.

Standard Resistance:





Text in Illustration





NG -- REPAIR OR REPLACE CAN BRANCH WIRE OR CONNECTOR (POWER STEERING ECU)

OK -- REPLACE STEERING COLUMN ASSEMBLY (POWER STEERING ECU) Removal