Operation CHARM: Car repair manuals for everyone.
Manuals through 2025 now available!

Our trusted friends have launched a new website named LEMON, which has newer manuals. It also contains all the CHARM manuals.

LEMON is the spiritual successor to CHARM, I recommend you try it!

Link: lemon-manuals.la or lemon-manuals.org.ua

(Some people have issue connecting. LEMON is investigating. For now, use Firefox or change your DNS server)

Or, hide this message: temporarily or permanently

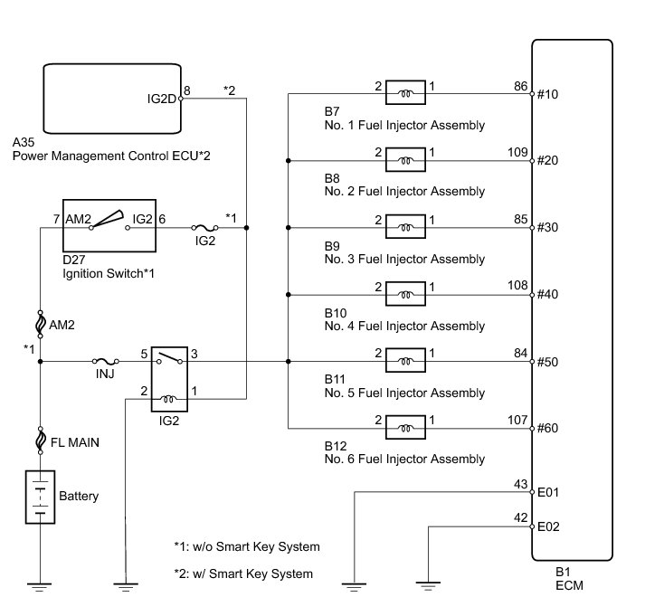
Fuel Injector Circuit





2GR-FE ENGINE CONTROL: SFI SYSTEM: Fuel Injector Circuit
- Fuel Injector Circuit

DESCRIPTION

The fuel injector assemblies are located on the intake manifold. They inject fuel into the cylinders based on signals from the ECM.

WIRING DIAGRAM





INSPECTION PROCEDURE

NOTICE:
Inspect the fuses for circuits related to this system before performing the following inspection procedure.

PROCEDURE

1. CHECK FUEL INJECTOR ASSEMBLY (POWER SOURCE)

(a) Disconnect the fuel injector assembly connector.





(b) Turn the ignition switch to ON.

(c) Measure the voltage according to the value(s) in the table below.

Standard Voltage:





Text in Illustration





(d) Reconnect the fuel injector assembly connector.

NG -- CHECK HARNESS AND CONNECTOR (IG2 RELAY - FUEL INJECTOR ASSEMBLY)
OK -- Continue to next step.

2. INSPECT FUEL INJECTOR ASSEMBLY

(a) Inspect the fuel injector assembly Testing and Inspection.

NG -- REPLACE FUEL INJECTOR ASSEMBLY Removal
OK -- Continue to next step.

3. CHECK HARNESS AND CONNECTOR (FUEL INJECTOR ASSEMBLY - ECM)

(a) Disconnect the fuel injector assembly connector.

(b) Disconnect the ECM connector.

(c) Measure the resistance according to the value(s) in the table below.

Standard Resistance (Check for Open):





Standard Resistance (Check for Short):





(d) Reconnect the ECM connector.

(e) Reconnect the fuel injector assembly connector.

NG -- REPAIR OR REPLACE HARNESS OR CONNECTOR

OK -- PROCEED TO NEXT SUSPECTED AREA SHOWN IN PROBLEM SYMPTOMS TABLE Symptom Related Diagnostic Procedures

4. CHECK HARNESS AND CONNECTOR (IG2 RELAY - FUEL INJECTOR ASSEMBLY)

(a) Disconnect the fuel injector assembly connector.

(b) Remove the IG2 relay from the engine room relay block.

(c) Measure the resistance according to the value(s) in the table below.

Standard Resistance (Check for Open):





Standard Resistance (Check for Short):





(d) Reinstall the IG2 relay.

(e) Reconnect the fuel injector assembly connector.

NG -- REPAIR OR REPLACE HARNESS OR CONNECTOR

OK -- CHECK ECM POWER SOURCE CIRCUIT Component Tests and General Diagnostics