Operation CHARM: Car repair manuals for everyone.
Manuals through 2025 now available!

Our trusted friends have launched a new website named LEMON, which has newer manuals. It also contains all the CHARM manuals.

LEMON is the spiritual successor to CHARM, I recommend you try it!

Link: lemon-manuals.la or lemon-manuals.org.ua

(Some people have issue connecting. LEMON is investigating. For now, use Firefox or change your DNS server)

Or, hide this message: temporarily or permanently

Relay Locations

Engine Room R/B, Engine Room J/B - Front Fender Apron LH:





Engine Room R/B, Engine Room J/B - Front Fender Apron LH:





Engine Room R/B, Engine Room J/B - Front Fender Apron LH:





Engine Room R/B, Engine Room J/B - Front Fender Apron LH:





Instrument Panel J/B - Cowl Side Panel LH:





Instrument Panel J/B - Cowl Side Panel LH:





Instrument Panel J/B - Cowl Side Panel LH:





Fuse Block - Under Seat No. 2 Cushion RH:





Junction Connector (CAN No. 1) - Instrument Panel Reinforcement:





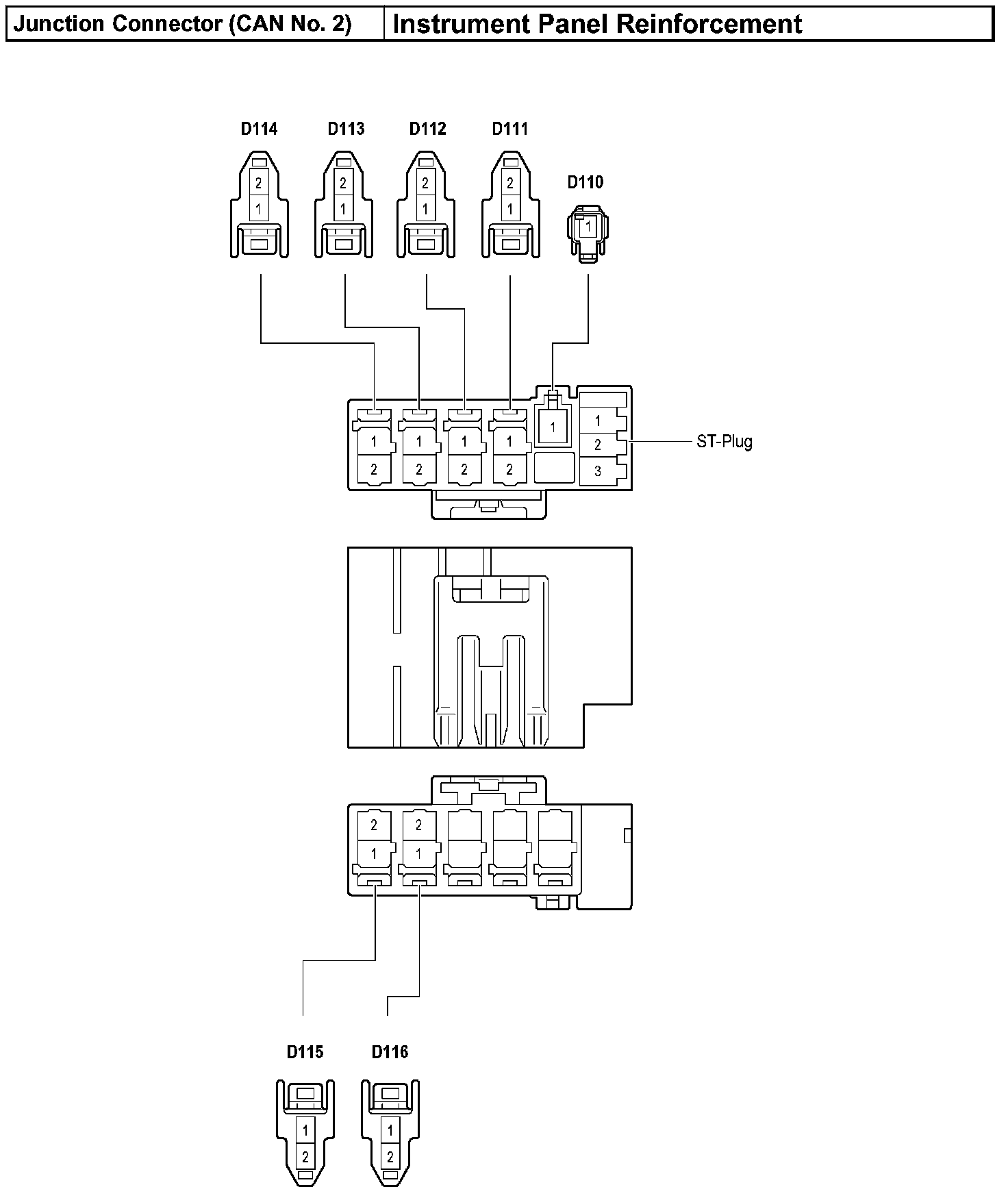
Junction Connector (CAN No. 2) - Instrument Panel Reinforcement: