Operation CHARM: Car repair manuals for everyone.
Manuals through 2025 now available!

Our trusted friends have launched a new website named LEMON, which has newer manuals. It also contains all the CHARM manuals.

LEMON is the spiritual successor to CHARM, I recommend you try it!

Link: lemon-manuals.la or lemon-manuals.org.ua

(Some people have issue connecting. LEMON is investigating. For now, use Firefox or change your DNS server)

Or, hide this message: temporarily or permanently

Part 1





NETWORKING: CAN COMMUNICATION SYSTEM: TERMINALS OF ECU

HINT
Operating the ignition switch, any switches or any doors triggers related ECU and sensor communication with the CAN, which causes resistance variation.

1. DISCONNECT CABLE FROM NEGATIVE BATTERY TERMINAL

(a) Disconnect the cable from the negative (-) battery terminal before measuring the resistances of the main wire and the branch wire.

CAUTION:
Wait at least 90 seconds after disconnecting the cable from the negative (-) battery terminal to disable the SRS system.

NOTICE:
Before measuring the resistance, leave the vehicle for at least 1 minute and do not operate the ignition switch, any switches or doors. If doors need to be opened in order to check connectors, open the doors and leave them open.

2. JUNCTION CONNECTOR

(a) NO. 1 JUNCTION CONNECTOR





Text in Illustration









*1: w/Smart Key System

*2: w/o Smart Key System

*3: w/ VDIM

*4: for AWD

(b) NO. 2 JUNCTION CONNECTOR





Text in Illustration









*1: w/ Smart Key System

*2: w/o Smart Key System

(c) NO. 3 JUNCTION CONNECTOR (w/ Smart Key System)





Text in Illustration









(d) NO. 1 CAN JUNCTION CONNECTOR













*1: w/ Smart Key System

*2: w/o Smart Key System

*3: w/ Intuitive Parking Assist System

*4: w/ Pre-collision System

*5: w/ Dynamic Radar Cruise Control System

*6: w/ HID Headlight System

*7: w/ Parking Assist Monitor System

(e) NO. 2 CAN JUNCTION CONNECTOR









*1: w/ Memory

*2: w/ Power Slide Door

*3: for Power Seat with Memory

*4: w/ Power Back Door

3. TERMINALS OF CONNECTORS FOR JUNCTION CONNECTOR (NO. 1 CAN JUNCTION CONNECTOR)









4. TERMINALS OF CONNECTORS FOR JUNCTION CONNECTOR (NO. 2 CAN JUNCTION CONNECTOR)









5. CHECK DLC3

(a) Disconnect the cable from the negative (-) battery terminal before measuring the resistances of the main wire and the branch wire.

(b) Measure the resistance according to the value(s) in the table below.





Standard Resistance





6. CHECK ECM (for 2GR-FE)





(a) Disconnect the B1 and A39 ECM connectors.





(b) Measure the resistance according to the value(s) in the table below.

Text in Illustration





Standard Resistance: V1 Bus





Standard Resistance: Power Management Bus





7. CHECK ECM (for 1AR-FE)





(a) Disconnect the A55 and B45 ECM connectors.





(b) Measure the resistance according to the value(s) in the table below.

Text in Illustration





Standard Resistance: V1 Bus





8. CHECK POWER MANAGEMENT CONTROL ECU (w/ Smart Key System)





(a) Disconnect the D89 power management control ECU connector.





(b) Measure the resistance according to the value(s) in the table below.

Text in Illustration





Standard Resistance: V1 Bus





Standard Resistance: V2 Bus





Standard Resistance: Power Management Bus





9. CHECK NETWORK GATEWAY ECU (w/o Smart Key System)





(a) Disconnect the D90 network gateway ECU connector.





(b) Measure the resistance according to the value(s) in the table below.

Text in Illustration





Standard Resistance: V1 Bus





Standard Resistance: V2 Bus





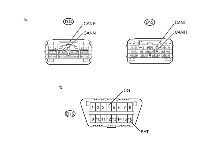
10. CHECK MAIN BODY ECU (INSTRUMENT PANEL JUNCTION BLOCK)





(a) Disconnect the D13 and D14 main body ECU connectors.





Text in Illustration





(b) Measure the resistance according to the value(s) in the table below.

Standard Resistance: V1 Bus





Standard Resistance: MS Bus





11. CHECK CERTIFICATION ECU (SMART KEY ECU) (w/Smart Key System)





(a) Disconnect the D88 certification ECU (smart key ECU) connector.





(b) Measure the resistance according to the value(s) in the table below.

Text in Illustration





Standard Resistance





12. CHECK SKID CONTROL ECU





(a) Disconnect the A4 skid control ECU connector.

(b) Measure the resistance according to the value(s) in the table below.

Text in Illustration





Standard Resistance





13. CHECK STEERING ANGLE SENSOR





(a) Disconnect the D22 steering angle sensor connector.

(b) Measure the resistance according to the value(s) in the table below.

Text in Illustration





Standard Resistance





14. CHECK YAW RATE SENSOR (w/ VDIM)





(a) Disconnect the L6 yaw rate sensor connector.





(b) Measure the resistance according to the value(s) in the table below.

Text in Illustration





Standard Resistance





15. CHECK AIR CONDITIONING AMPLIFIER





(a) Disconnect the D75 air conditioning amplifier connector.





(b) Measure the voltage and resistance according to the value(s) in the table below.

Text in Illustration





Standard Resistance





*1: w/ Smart Key System

*2: w/o Smart key System