Operation CHARM: Car repair manuals for everyone.
Manuals through 2025 now available!

Our trusted friends have launched a new website named LEMON, which has newer manuals. It also contains all the CHARM manuals.

LEMON is the spiritual successor to CHARM, I recommend you try it!

Link: lemon-manuals.la or lemon-manuals.org.ua

(Some people have issue connecting. LEMON is investigating. For now, use Firefox or change your DNS server)

Or, hide this message: temporarily or permanently

Removal





PRE-COLLISION: SEAT BELT CONTROL ECU: REMOVAL

1. DISCONNECT CABLE FROM NEGATIVE BATTERY TERMINAL

NOTICE:
When disconnecting the cable, some systems need to be initialized after the cable is reconnected Repair Instruction - Initialization.

2. REMOVE DOOR SCUFF PLATE ASSEMBLY RH Removal

3. REMOVE COWL SIDE TRIM BOARD RH Removal

4. SEPARATE FRONT DOOR OPENING TRIM WEATHERSTRIP RH

5. REMOVE GLOVE COMPARTMENT DOOR SUB-ASSEMBLY Removal

6. REMOVE ECU INTEGRATION BOX RH Removal

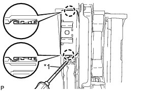
7. REMOVE SEAT BELT CONTROL ECU





(a) Using a screwdriver with its tip wrapped in protective tape, disengage the 2 claws and remove the seat belt control ECU.

Text in Illustration