Operation CHARM: Car repair manuals for everyone.
Manuals through 2025 now available!

Our trusted friends have launched a new website named LEMON, which has newer manuals. It also contains all the CHARM manuals.

LEMON is the spiritual successor to CHARM, I recommend you try it!

Link: lemon-manuals.la or lemon-manuals.org.ua

(Some people have issue connecting. LEMON is investigating. For now, use Firefox or change your DNS server)

Or, hide this message: temporarily or permanently

Part 2





2TR-FE ENGINE CONTROL SYSTEM: SFI SYSTEM: EVAP System
- EVAP System - Continued

18. CHECK HARNESS AND CONNECTOR (PURGE VSV - ECM)

(a) Disconnect the ECM connector and the purge VSV connector.

(b) Measure the resistance according to the value(s) in the table below.

Standard Resistance (Check for Open):





Standard Resistance (Check for Short):





(c) Reconnect the purge VSV connector.

(d) Reconnect the ECM connector.

NG -- REPAIR OR REPLACE HARNESS OR CONNECTOR

OK -- REPLACE ECM

19. PERFORM ACTIVE TEST USING TECHSTREAM (FOR VENT VALVE)





(a) Turn the ignition switch to ON.

(b) Enter the following menus: Powertrain / Engine and ECT / Active Test / Active the VSV for Vent Valve.

(c) Measure the voltage according to the value(s) in the table below.

Result





Text in Illustration





B -- REPLACE ECM

A -- INSPECT CANISTER PUMP MODULE (VENT VALVE OPERATION)

20. PERFORM ACTIVE TEST USING TECHSTREAM (FOR VENT VALVE)





(a) Turn the ignition switch to ON.

(b) Enter the following menus: Powertrain / Engine and ECT / Active Test / Activate the VSV for Vent Valve.

(c) Measure the voltage according to the value(s) in the table below.

Result





Text in Illustration





C -- REPLACE ECM

B -- INSPECT CANISTER PUMP MODULE (VENT VALVE OPERATION)
A -- Continue to next step.

21. CHECK TERMINAL VOLTAGE (POWER SOURCE OF VENT VALVE)





(a) Turn the ignition switch off.

(b) Disconnect the canister connector.

Text in Illustration





(c) Turn the ignition switch to ON.

(d) Measure the voltage according to the value(s) in the table below.

Result





(e) Reconnect the canister connector.

B -- REPAIR OR REPLACE HARNESS OR CONNECTOR
A -- Continue to next step.

22. INSPECT CANISTER PUMP MODULE (VENT VALVE OPERATION)





(a) Turn the ignition switch off.

(b) Disconnect the canister connector.

Text in Illustration





(c) Apply the battery voltage to terminals VLVB and VGND of the canister pump module.

(d) Touch the canister pump module to confirm the vent valve operation.

Result





(e) Reconnect the canister connector.

B -- REPLACE CHARCOAL CANISTER ASSEMBLY

A -- REPAIR OR REPLACE HARNESS OR CONNECTOR

23. PERFORM ACTIVE TEST USING TECHSTREAM (FOR CANISTER PUMP MODULE (LEAK DETECTION PUMP))





(a) Turn the ignition switch to ON.

(b) Enter the following menus: Powertrain / Engine and ECT / Active Test / Active the Vacuum Pump.

Text in Illustration





(c) Measure the voltage according to the value(s) in the table below.

Result





B -- REPLACE ECM
A -- Continue to next step.

24. CHECK HARNESS AND CONNECTOR (CANISTER PUMP MODULE - ECM)





(a) Turn the ignition switch off.

(b) Disconnect the canister connector.

Text in Illustration





(c) Turn the ignition switch to ON.

(d) Enter the following menus: Powertrain / Engine and ECT / Active Test / Active the Vacuum Pump.

(e) Turn the leak detection pump ON.

(f) Measure the voltage according to the value(s) in the table below.

Result





(g) Reconnect the canister connector.

B -- REPAIR OR REPLACE HARNESS OR CONNECTOR
A -- Continue to next step.

25. CHECK HARNESS AND CONNECTOR (CANISTER PUMP MODULE - GROUND)

(a) Disconnect the canister connector.

(b) Turn the ignition switch off.

(c) Measure the resistance according to the value(s) in the table below.

Result





(d) Reconnect the canister connector.

B -- REPAIR OR REPLACE HARNESS OR CONNECTOR

A -- REPLACE CHARCOAL CANISTER ASSEMBLY

26. INSPECT INTAKE MANIFOLD (EVAP PURGE PORT)

(a) Stop the engine.

(b) Disconnect the EVAP hose from the intake manifold.

(c) Start the engine.

(d) Use your finger to confirm that the port of the intake manifold has suction.

Result





(e) Reconnect the EVAP hose.

B -- INSPECT INTAKE MANIFOLD (EVAP PURGE PORT)

A -- REPLACE EVAP HOSE (INTAKE MANIFOLD - PURGE VSV)

27. CORRECTLY REINSTALL OR REPLACE FUEL CAP

HINT
* When reinstalling the fuel cap, tighten it until a few click sounds are heard.
* When replacing the fuel cap, use a fuel cap that meets OEM specifications, and install it until a few click sounds are heard.

NEXT -- PERFORM EVAPORATIVE SYSTEM CHECK (AUTOMATIC MODE)

28. REPLACE FUEL CAP ASSEMBLY

HINT
When installing the fuel cap, tighten it until a few click sounds are heard.

NEXT -- PERFORM EVAPORATIVE SYSTEM CHECK (AUTOMATIC MODE)

29. REPAIR EVAP LEAKING PART

(a) Reinstall the fuel cap.

(b) Disconnect the vent hose.





Text in Illustration





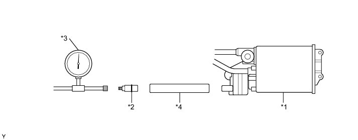
(c) Connect the EVAP pressure tester tool to the canister with the adapter.





Text in Illustration





(d) Pressurize the EVAP system to 3.2 to 3.7 kPa (24 to 28 mmHg).

(e) Apply soapy water to the piping and connecting parts of the EVAP system.

(f) Look for areas where bubbles appear. This indicates a leak point.

(g) Repair or replace the leak point.

HINT
Disconnect the hose between the canister and the fuel tank from the canister. Block the canister side and conduct an inspection. In this way, the fuel tank can be excluded as an area suspected of causing fuel leaks.

NEXT -- PERFORM EVAPORATIVE SYSTEM CHECK (AUTOMATIC MODE)

30. REPLACE CHARCOAL CANISTER ASSEMBLY

(a) Replace the canister assembly Removal.

HINT
When replacing the canister, check the canister pump module interior and related pipes for water, fuel or other liquids. If liquids are present, check for disconnections and/or cracks in the following: 1) the pipe from the air inlet port to the canister pump module; 2) the canister filter; and 3) the fuel tank vent hose.





Text in Illustration





NEXT -- PERFORM EVAPORATIVE SYSTEM CHECK (AUTOMATIC MODE)

31. REPLACE PURGE VSV





(a) Disconnect the connector and the 2 hoses from the purge VSV.

Text in Illustration





(b) Remove the purge VSV.

(c) Install a new purge VSV.

(d) Reconnect the connector and hoses.

NEXT -- PERFORM EVAPORATIVE SYSTEM CHECK (AUTOMATIC MODE)

32. REPAIR OR REPLACE HARNESS OR CONNECTOR

NEXT -- PERFORM EVAPORATIVE SYSTEM CHECK (AUTOMATIC MODE)

33. REPLACE EVAP HOSE (INTAKE MANIFOLD - PURGE VSV)

NEXT -- PERFORM EVAPORATIVE SYSTEM CHECK (AUTOMATIC MODE)

34. INSPECT INTAKE MANIFOLD (EVAP PURGE PORT)

(a) Check that the EVAP purge port of the intake manifold is not clogged. If necessary, replace the intake manifold.

NEXT -- PERFORM EVAPORATIVE SYSTEM CHECK (AUTOMATIC MODE)

35. REPLACE ECM

(a) Replace the ECM Removal.

NEXT -- PERFORM EVAPORATIVE SYSTEM CHECK (AUTOMATIC MODE)

36. REPAIR OR REPLACE PARTS AND COMPONENTS INDICATED BY OUTPUT DTCS

(a) Repair the malfunctioning areas indicated by the DTCs that had been confirmed when the vehicle was brought in.

NEXT -- PERFORM EVAPORATIVE SYSTEM CHECK (AUTOMATIC MODE)

37. PERFORM EVAPORATIVE SYSTEM CHECK (AUTOMATIC MODE)

NOTICE:
* The Evaporative System Check (Automatic Mode) consists of five steps performed automatically by the Techstream. It takes a maximum of approximately 18 minutes.
* Do not perform the Evaporative System Check when the fuel tank is more than 90 % full because the cut-off valve may be closed and making the leak check of the fuel tank unavailable.
* Do not run the engine in this step.
* When the temperature of the fuel is 35°C (95°F) or more, a large amount of vapor forms and any check results become inaccurate. When performing an Evaporative System Check, keep the temperature below 35°C (95°F).

(a) Clear DTCs DTC Check / Clear.

(b) Enter the following menus: Powertrain / Engine and ECT / Utility / Evaporative System Check / Automatic Mode.

(c) After the Evaporative System Check is completed, check for pending DTCs by entering the following menus: Powertrain / Engine and ECT / Trouble Codes / Pending.

HINT
If no pending DTC is found, the repair has been successfully completed.

NEXT -- COMPLETED

CONFIRMATION DRIVING PATTERN

HINT
After a repair, check Monitor Status by performing the Key-Off Monitor Confirmation and Purge Flow Monitor Confirmation described below.

1. KEY-OFF MONITOR CONFIRMATION

(a) Preconditions

The monitor will not run unless:

The vehicle has been driven for 10 minutes or more (in a city area or on a freeway)

The fuel tank is less than 90 % full

The altitude is less than 8000 ft (2400 m)

The engine coolant temperature is between 4.4°C and 35°C (40°F and 95°F)

The intake air temperature is between 4.4°C and 35°C (40°F and 95°F)

The vehicle remains stationary (the vehicle speed is 0 mph [0 km/h])

(b) Monitor Conditions

Allow the engine to idle for at least 5 minutes.

Turn the ignition switch off and wait for 6 hours (8 or 10.5 hours).

HINT
Do not start the engine until checking Monitor Status. If the engine is started, the steps described above must be repeated.

(c) Monitor Status

Connect the Techstream to the DLC3.

Turn the ignition switch to ON and turn the Techstream on.

Enter the following menus: Powertrain / Engine and ECT / Monitor / Evaporative System.

Check the Monitor Status displayed on the Techstream.

HINT
If Incomplete is displayed, the monitor is not completed. Make sure that the preconditions have been met, and perform the Monitor Conditions again.

2. PURGE FLOW MONITOR CONFIRMATION (P0441)

HINT
Perform this monitor confirmation after the Key-Off Monitor Confirmation shows Complete.

(a) Preconditions

The monitor will not run unless:

The vehicle has been driven for 10 minutes or more (in a city area or on a freeway)

The ECT is between 4.4°C and 35°C (40°F and 95°F)

The IAT is between 4.4°C and 35°C (40°F and 95°F)

(b) Monitor Conditions

Release the pressure from the fuel tank by removing and reinstalling the fuel cap.

Warm the engine up until the ECT reaches more than 75°C (167°F).

Increase the engine speed to 3000 rpm once.

Allow the engine to idle and turn the A/C ON for 1 minute.

(c) Monitor Status

Turn the ignition switch off (where ON or the engine is running).

Connect the Techstream to the DLC3.

Turn the ignition switch to ON and turn the Techstream on.

Enter the following menus: Powertrain / Engine and ECT / Monitor.

Check the Monitor Status displayed on the Techstream.

HINT
If Incomplete is displayed, the monitor is not completed. Make sure that the preconditions have been met, and perform the Monitor Conditions again.

MONITOR RESULT

Refer to Checking Monitor Status Mode 6 Data.