Operation CHARM: Car repair manuals for everyone.
Manuals through 2025 now available!

Our trusted friends have launched a new website named LEMON, which has newer manuals. It also contains all the CHARM manuals.

LEMON is the spiritual successor to CHARM, I recommend you try it!

Link: lemon-manuals.la or lemon-manuals.org.ua

(Some people have issue connecting. LEMON is investigating. For now, use Firefox or change your DNS server)

Or, hide this message: temporarily or permanently

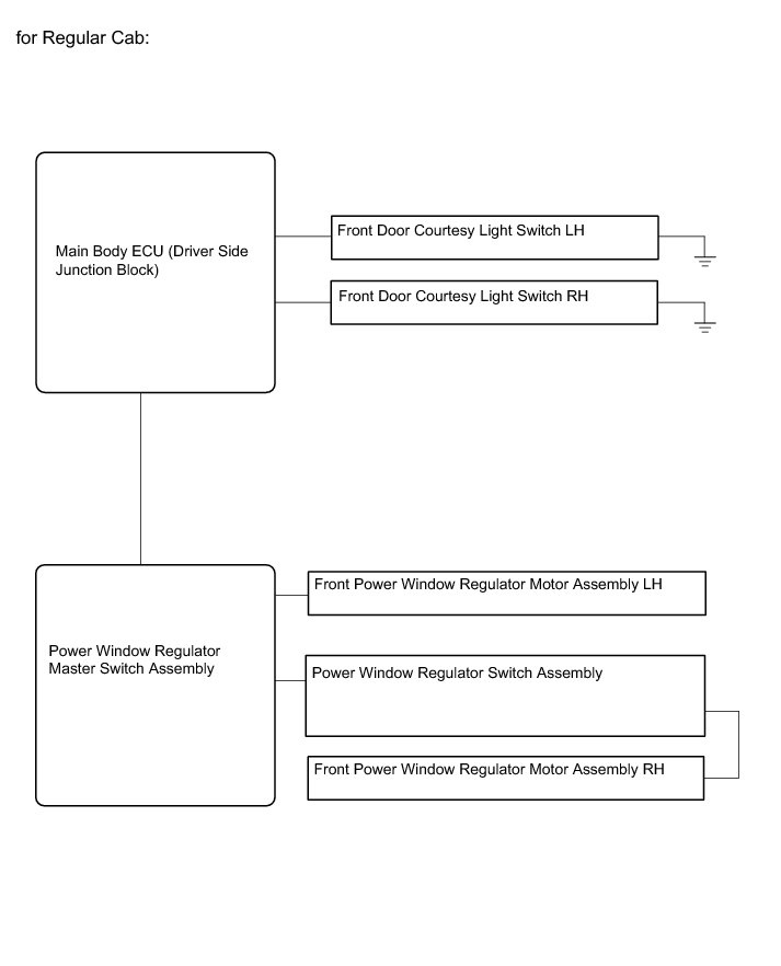
Power Window Control System (w/o Jam Protection Function)





WINDSHIELD / WINDOW GLASS: POWER WINDOW CONTROL SYSTEM (w/o Jam Protection Function): SYSTEM DIAGRAM


















SYSTEM DESCRIPTION

1. POWER WINDOW CONTROL SYSTEM DESCRIPTION

The power window control system controls the power window UP/DOWN function using the power window regulator motors.

The main controls of this system are the master switch, which is built into the driver side door, and the power window regulator switches, which are built into the front passenger side door and rear doors*1, *2.

* *1: for Double Cab

* *2: for CrewMax

Pressing either of the power window switch on the power window regulator switches or either of the power window switches on the master switch transmits an UP/DOWN signal to the corresponding power window regulator motor.

The power window control system (for back window glass) controls the power window open/close function using the power window regulator motor.

The main control of this system is the back door power window regulator switch assembly*1, *2.

* *1: for Double Cab, for Power Slide Type

* *2: for CrewMax

2. FUNCTION OF MAIN COMPONENT

The power window control system consists of the following components:





*1: for Double Cab

*2: for CrewMax

*3: for Double Cab, for Power Slide Type

3. SYSTEM FUNCTION

The power window control system has the following functions:





*1: for Double Cab

*2: for CrewMax