Operation CHARM: Car repair manuals for everyone.
Manuals through 2025 now available!

Our trusted friends have launched a new website named LEMON, which has newer manuals. It also contains all the CHARM manuals.

LEMON is the spiritual successor to CHARM, I recommend you try it!

Link: lemon-manuals.la or lemon-manuals.org.ua

(Some people have issue connecting. LEMON is investigating. For now, use Firefox or change your DNS server)

Or, hide this message: temporarily or permanently

Inspection





2GR-FE ENGINE CONTROL: CAMSHAFT OIL CONTROL VALVE: INSPECTION

1. INSPECT CAMSHAFT TIMING OIL CONTROL VALVE ASSEMBLY

(a) Measure the resistance according to the value(s) in the table below.





Standard Resistance:





If the result is not as specified, replace the oil control valve assembly.

(b) Check the operation.





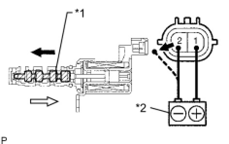
Text in Illustration





(1) Connect a battery positive (+) lead to terminal 1 and negative (-) lead to terminal 2, and check the movement of the spool valve.

OK:





If the result is not as specified, replace the oil control valve.

NOTICE:
Accumulation of foreign matter can cause minor pressure leaks. Minor pressure leaks in the intake side oil control valve will cause the intake camshaft to advance. Minor pressure leaks in the exhaust side oil control valve will cause the exhaust camshaft to retard. The inappropriate camshaft timing that results from these leaks will cause a DTC to be set.