Operation CHARM: Car repair manuals for everyone.
Manuals through 2025 now available!

Our trusted friends have launched a new website named LEMON, which has newer manuals. It also contains all the CHARM manuals.

LEMON is the spiritual successor to CHARM, I recommend you try it!

Link: lemon-manuals.la or lemon-manuals.org.ua

(Some people have issue connecting. LEMON is investigating. For now, use Firefox or change your DNS server)

Or, hide this message: temporarily or permanently

Front Door Window Regulator: Testing and Inspection





WINDSHIELD / WINDOW GLASS: POWER WINDOW REGULATOR MOTOR: INSPECTION

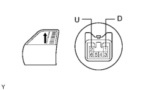
1. INSPECT POWER WINDOW REGULATOR MOTOR ASSEMBLY (for Driver Side)

(a) Check operation of the regulator motor.





(1) Remove the power window regulator motor assembly.

(2) Apply battery voltage to the motor terminals.

NOTICE:
Do not apply voltage to the terminals except 1 and 2.

(3) Check that the motor operates smoothly.

OK:





(b) Check the PTC operation inside the regulator motor.





NOTICE:
The work must be performed with the power window regulator and door glass installed in the vehicle.

(1) Disconnect the driver side power window regulator motor connector.

(2) Connect the ammeter's positive (+) lead to terminal 1 (D) of the wire harness side connector and the negative (-) lead to the battery's negative terminal.

(3) Connect the battery's positive (+) lead to terminal 2 (U) of the wire harness side connector, and raise the window to the fully closed position.

(4) Continue to apply voltage, and check that the current changes to less than 1 A within 4 to 90 seconds.

(5) Disconnect the leads from the terminals.

(6) Approximately 60 seconds later, connect the battery's positive (+) lead to terminal 1 (D) and the negative (-) lead to terminal 2 (U). Check that the window begins to descend.

If the result is not as specified, replace the motor assembly.

2. INSPECT POWER WINDOW REGULATOR MOTOR ASSEMBLY (for Front Passenger Side)

(a) Check operation of the regulator motor.





(1) Remove the power window regulator motor assembly.

(2) Apply battery voltage to the motor terminals.

NOTICE:
Do not apply voltage to the terminals except 1 and 2.

(3) Check that the motor operates smoothly.

OK:





(b) Check the PTC operation inside the regulator motor.





NOTICE:
The work must be performed with the power window regulator and door glass installed in the vehicle.

(1) Disconnect the driver side power window regulator motor connector.

(2) Connect the ammeter's positive (+) lead to terminal 2 (U) of the wire harness side connector and the negative (-) lead to the battery's negative terminal.

(3) Connect the battery's positive (+) lead to terminal 1 (D) of the wire harness side connector, and raise the window to the fully closed position.

(4) Continue to apply voltage, and check that the current changes to less than 1 A within 4 to 90 seconds.

(5) Disconnect the leads from the terminals.

(6) Approximately 60 seconds later, connect the battery's positive (+) lead to terminal 2 (U) and the negative (-) lead to terminal 1 (D). Check that the window begins to descend.

If the result is not as specified, replace the motor assembly.

3. INSPECT POWER WINDOW REGULATOR MOTOR ASSEMBLY (for Rear LH)

(a) Check operation of the regulator motor.





(1) Remove the power window regulator motor assembly.

(2) Apply battery voltage to the motor terminals.

NOTICE:
Do not apply voltage to the terminals except 1 and 2.

(3) Check that the motor operates smoothly.

OK:





(b) Check the PTC operation inside the regulator motor.





NOTICE:
The work must be performed with the power window regulator and door glass installed in the vehicle.

(1) Disconnect the driver side power window regulator motor connector.

(2) Connect the ammeter's positive (+) lead to terminal 1 (U) of the wire harness side connector and the negative (-) lead to the battery's negative terminal.

(3) Connect the battery's positive (+) lead to terminal 2 (D) of the wire harness side connector, and raise the window to the fully closed position.

(4) Continue to apply voltage, and check that the current changes to less than 1 A within 4 to 90 seconds.

(5) Disconnect the leads from the terminals.

(6) Approximately 60 seconds later, connect the battery's positive (+) lead to terminal 1 (U) and the negative (-) lead to terminal 2 (D). Check that the window begins to descend.

If the result is not as specified, replace the motor assembly.

4. INSPECT POWER WINDOW REGULATOR MOTOR ASSEMBLY (for Rear RH)

(a) Check operation of the regulator motor.





(1) Remove the power window regulator motor assembly.

(2) Apply battery voltage to the motor terminals.

NOTICE:
Do not apply voltage to the terminals except 1 and 2.

(3) Check that the motor operates smoothly.

OK:





(b) Check the PTC operation inside the regulator motor.





NOTICE:
The work must be performed with the power window regulator and door glass installed in the vehicle.

(1) Disconnect the driver side power window regulator motor connector.

(2) Connect the ammeter's positive (+) lead to terminal 2 (D) of the wire harness side connector and the negative (-) lead to the battery's negative terminal.

(3) Connect the battery's positive (+) lead to terminal 1 (U) of the wire harness side connector, and raise the window to the fully closed position.

(4) Continue to apply voltage, and check that the current changes to less than 1 A within 4 to 90 seconds.

(5) Disconnect the leads from the terminals.

(6) Approximately 60 seconds later, connect the battery's positive (+) lead to terminal 2 (D) and the negative (-) lead to terminal 1 (U). Check that the window begins to descend.

If the result is not as specified, replace the motor assembly.