Operation CHARM: Car repair manuals for everyone.
Manuals through 2025 now available!

Our trusted friends have launched a new website named LEMON, which has newer manuals. It also contains all the CHARM manuals.

LEMON is the spiritual successor to CHARM, I recommend you try it!

Link: lemon-manuals.la or lemon-manuals.org.ua

(Some people have issue connecting. LEMON is investigating. For now, use Firefox or change your DNS server)

Or, hide this message: temporarily or permanently

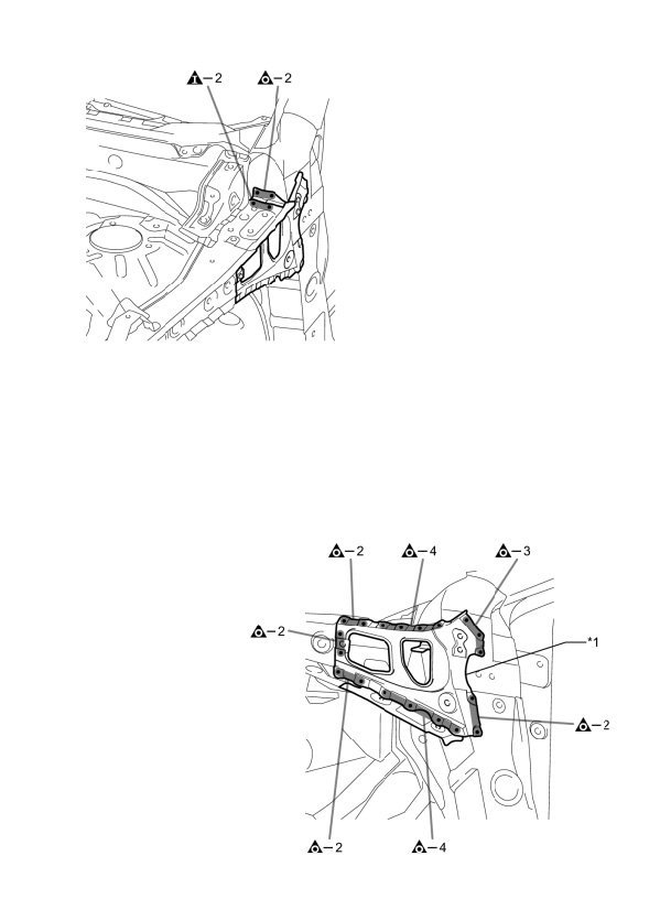
Cowl: Service and Repair








ASSEMBLY REPLACEMENT







1. REMOVAL







REMOVAL POINT


1. After removing the *1, remove the *2.










2. INSTALLATION







INSTALLATION POINT

1. Divide a new part of cowl side reinforcement in to *1 and *2 at the weld points. After welding the *1 to the vehicle side, install the *2.
2. After applying the top coat, apply anti-rust agent to the internal panel portion of the closed section structural weld points.