Operation CHARM: Car repair manuals for everyone.
Manuals through 2025 now available!

Our trusted friends have launched a new website named LEMON, which has newer manuals. It also contains all the CHARM manuals.

LEMON is the spiritual successor to CHARM, I recommend you try it!

Link: lemon-manuals.la or lemon-manuals.org.ua

(Some people have issue connecting. LEMON is investigating. For now, use Firefox or change your DNS server)

Or, hide this message: temporarily or permanently

Part 1





2AR-FE ENGINE MECHANICAL: ENGINE UNIT: INSPECTION

1. INSPECT NO. 1 VALVE ROCKER ARM SUB-ASSEMBLY

(a) Turn the roller by hand to check that it turns smoothly.





If the roller does not turn smoothly, replace the valve rocker arm sub-assembly.

2. INSPECT VALVE LASH ADJUSTER ASSEMBLY

NOTICE:
* Keep the adjuster free from dirt and foreign matter.
* Use only clean engine oil.





Text in Illustration





(a) Place the lash adjuster into a container full of new engine oil.

(b) Insert the tip of SST into the lash adjuster plunger and use the tip to press down on the check ball inside the plunger.

SST : 09276-75010

(c) Squeeze SST and the lash adjuster together to move the plunger up and down 5 to 6 times.

(d) Check the movement of the plunger and bleed the air.

OK:

Plunger moves up and down.

NOTICE:
When bleeding high-pressure air from the compression chamber, make sure that the tip of SST is actually pressing the check ball as shown in the illustration. If the check ball is not pressed, air will not bleed.

(e) After bleeding the air, remove SST. Then try to quickly and firmly press the plunger with your fingers.

OK:

Plunger is very difficult to move.

If the result is not as specified, replace the valve lash adjuster assembly.

3. INSPECT CAMSHAFT OIL CLEARANCE Testing and Inspection

4. INSPECT CAMSHAFT THRUST CLEARANCE Testing and Inspection

5. INSPECT CAMSHAFT

(a) Inspect the camshaft runout.





(1) Place the camshaft on V-blocks.

(2) Using a dial indicator, measure the circle runout at the center journal.

Maximum circle runout:

0.03 mm (0.00118 in.)

If the circle runout is more than the maximum, replace the camshaft sub-assembly.

HINT
Check the oil clearance after replacing the camshaft.

(b) Inspect the cam lobes.





(1) Using a micrometer, measure the cam lobe height.

Standard Cam Lobe Height:





Minimum Cam Lobe Height:





If the cam lobe height is less than the minimum, replace the camshaft sub-assembly.

(c) Inspect the camshaft journals.





(1) Using a micrometer, measure the journal diameter.

Standard Journal Diameter:





If the journal diameter is not as specified, check the oil clearance Testing and Inspection.

6. INSPECT CAMSHAFT TIMING GEAR ASSEMBLY

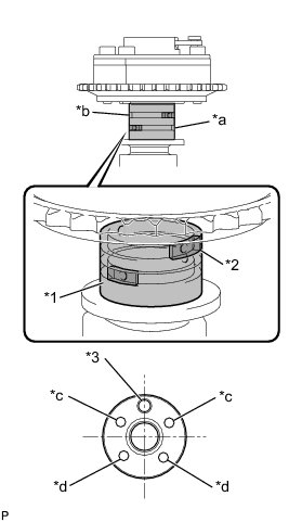
(a) Align and attach the knock pin of the No. 1 camshaft with the pin hole of the camshaft timing gear.





Text in Illustration





(b) Check that there is no clearance between the camshaft timing gear and camshaft flange.





Text in Illustration





(c) Secure the camshaft in place by hand, and then install the installation bolt of the camshaft timing gear by hand.

NOTICE:
Do not use any tools to install the bolt. If the bolt is installed using a tool, the lock pin will be damaged.

(d) Check the lock of the camshaft timing gear.

(1) Make sure that the camshaft timing gear is locked.

NOTICE:
Be careful not to damage the camshaft.

(e) Release the lock pin.





Text in Illustration





(1) Clean the camshaft journal with non-residue solvent.

(2) Cover the 4 oil paths of the cam journal with vinyl tape as shown in the illustration.

HINT
There are 4 oil paths in the grooves of the camshaft. Plug three of the paths with pieces of rubber.

(3) Open a hole at port A shown in the illustration.

(4) While applying approximately 200 kPa (2.0 kgf/ cm2, 29 psi) of air pressure to the oil path, forcibly turn the camshaft timing gear assembly in the advance direction (counterclockwise).





CAUTION:
Cover the paths with a piece of cloth when applying pressure to keep oil from splashing.

NOTICE:
Do not allow the camshaft timing gear assembly to lock. If it locks, release the lock pin again.

HINT
* The camshaft timing gear assembly may be turned in the advance direction without applying any force.
* If enough air pressure cannot be applied because of air leakage from the port, releasing the lock pin may be difficult.

(f) Check for smooth rotation.

(1) Turn the camshaft timing gear within its movable range (26.5 to 28.5°) 2 or 3 times, but do not turn it to the most retarded position. Make sure that the gear turns smoothly.

NOTICE:
Do not allow the camshaft timing gear assembly to lock.

If it locks, release the lock pin again.

(g) Remove the vinyl tape and rubber pieces from the camshaft.

(h) Remove the bolt and camshaft timing gear.

7. INSPECT CAMSHAFT TIMING EXHAUST GEAR ASSEMBLY

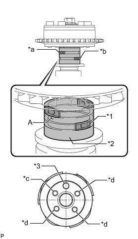
(a) Align and attach the knock pin of the No. 2 camshaft with the pin hole of the camshaft timing exhaust gear.





Text in Illustration





(b) Check that there is no clearance between the camshaft timing exhaust gear and camshaft flange.





Text in Illustration





(c) Secure the camshaft in place by hand, and then install the installation bolt of the camshaft timing exhaust gear by hand.

(d) Check the lock of the camshaft timing exhaust gear.

(1) Make sure that the camshaft timing exhaust gear is locked.

NOTICE:
Be careful not to damage the camshaft.

(e) Release the lock pin.





Text in Illustration





(1) Clean the camshaft journal with non-residue solvent.

(2) Cover the 4 oil paths of the cam journal with vinyl tape as shown in the illustration.

HINT
There are 4 oil paths in the grooves of the camshaft. Plug 2 paths with rubber pieces.

(3) Prick a hole in the tape placed on the advance side path. Prick a hole in the tape placed on the retard side path, on the opposite side to that of the advance side path, as shown in the illustration.

(4) Apply approximately 200 kPa (2.0 kgf/cm2, 29 psi) of air pressure to the two open paths (the advance side path and retard side path).





Text in Illustration





NOTICE:
Cover the paths with a piece of cloth when applying pressure to keep oil from splashing.

(5) Check that the camshaft timing exhaust gear turns in the retard direction when reducing the air pressure applied to the advance side path.





Text in Illustration





HINT
The lock pin is released and the camshaft timing exhaust gear turns in the retard direction.

(6) When the camshaft timing exhaust gear moves to the most retarded position, release the air pressure from the advance side path, and then release the air pressure from the retard side path.

NOTICE:
Be sure to release the air pressure from the advance side path first. If the air pressure of the retard side path is released first, the camshaft timing exhaust gear may abruptly shift in the advance direction and break the lock pin or other parts.

(f) Check for smooth rotation.

(1) Turn the camshaft timing exhaust gear within its movable range (21.5 to 23.5°) 2 or 3 times, but do not turn it to the most advanced position. Make sure that the gear turns smoothly.

NOTICE:
When the air pressure is released from the advance side path and then from the retard side path, the gear automatically returns to the most advanced position due to the advance assist spring operation, and locks. Gradually release the air pressure from the retard side path before performing the smooth rotation check.

(g) Check the lock at the most advanced position.

(1) Make sure that the camshaft timing exhaust gear locks at the most advanced position.

(h) Remove the vinyl tape and rubber pieces from the camshaft.

(i) Remove the bolt and camshaft timing gear.

8. INSPECT CHAIN SUB-ASSEMBLY





Text in Illustration





(a) Using a spring scale, pull the chain with a force of 147 N (15 kgf, 33.0 lbf) as shown in the illustration.

(b) Using a vernier caliper, measure the length of 15 pins.

Maximum chain elongation:

137.7 mm (5.42 in.)

HINT
Perform the measurement at 3 random places.

If the elongation is more than the maximum, replace the chain sub-assembly.