Operation CHARM: Car repair manuals for everyone.
Manuals through 2025 now available!

Our trusted friends have launched a new website named LEMON, which has newer manuals. It also contains all the CHARM manuals.

LEMON is the spiritual successor to CHARM, I recommend you try it!

Link: lemon-manuals.la or lemon-manuals.org.ua

(Some people have issue connecting. LEMON is investigating. For now, use Firefox or change your DNS server)

Or, hide this message: temporarily or permanently

Installation





HEATING / AIR CONDITIONING: FRONT EVAPORATOR TEMPERATURE SENSOR: INSTALLATION

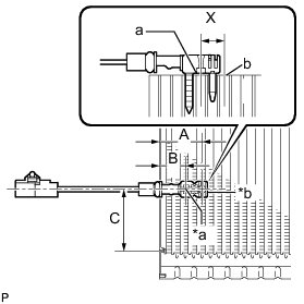
1. INSTALL NO. 1 COOLER THERMISTOR

(a) Install the No. 1 cooler thermistor as shown in the illustration.









Text in Illustration





NOTICE:
* Be sure to insert the thermistor only once because reinserting it into the same position will not allow it to be firmly secured.
* When reusing the evaporator, insert the thermistor one row next to the one that has been used previously (X in the illustration).
* After inserting the thermistor, do not apply excessive force to the wire.
* Directly insert the thermistor until the edge of plastic case "a" comes into contact with evaporator "b".

(b) Engage the 2 clamps.

2. INSTALL BLOWER ASSEMBLY WITH COOLER EVAPORATOR SUB-ASSEMBLY

Installation