Operation CHARM: Car repair manuals for everyone.
Manuals through 2025 now available!

Our trusted friends have launched a new website named LEMON, which has newer manuals. It also contains all the CHARM manuals.

LEMON is the spiritual successor to CHARM, I recommend you try it!

Link: lemon-manuals.la or lemon-manuals.org.ua

(Some people have issue connecting. LEMON is investigating. For now, use Firefox or change your DNS server)

Or, hide this message: temporarily or permanently

Heating and Air Conditioning: Service and Repair





HEATING / AIR CONDITIONING: REFRIGERANT: REPLACEMENT

1. RECOVER REFRIGERANT FROM AIR CONDITIONING SYSTEM

(a) Turn the A/C switch on.

(b) Operate the air conditioning with a set temperature of 25°C (77°F) and the blower at low for 10 minutes to circulate the refrigerant. This causes most of the compressor oil from the various components of the air conditioning system to collect in the air conditioning compressor.

(c) Turn the ignition switch off.

(d) Recover the refrigerant from the air conditioning system using a refrigerant recovery unit.

2. CHARGE AIR CONDITIONING SYSTEM WITH REFRIGERANT

(a) Perform vacuum purging using a vacuum pump or appropriate equipment.

(b) Charge the air conditioning system with refrigerant.

Refrigerant type:

HFC-134a (R134a)





Text in Illustration





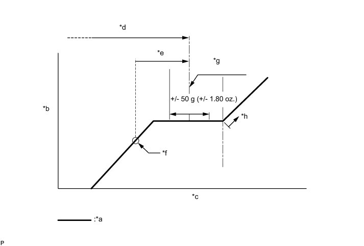
Standard charge amount:

480 to 580g (16.9 to 20.4oz.)

SST : 09985-20010

09985-02010

09985-02050

09985-02060

09985-02070

09985-02080

09985-02090

09985-02110

09985-02130

09985-02140

09985-02150

NOTICE:
* Do not turn the A/C switch on before charging the air conditioning system with refrigerant. Doing so may cause the compressor to work without refrigerant, resulting in overheating of the compressor.
* The refrigerant amount should be checked by quantity (weight).
* The graph above is shown for reference only. This vehicle is not equipped with a sight glass.

HINT
Ensure that sufficient refrigerant is available to recharge the system when using a refrigerant recovery unit. Refrigerant recovery units are not always able to recover 100% of the refrigerant from an air conditioning system.

3. WARM UP ENGINE

(a) Keep the A/C switch on for at least 2 minutes to warm up the compressor.

NOTICE:
To prevent damage to the compressor, be sure to warm up the compressor when turning the air conditioning on after removing and installing air conditioning system lines (including the compressor).

4. INSPECT FOR REFRIGERANT LEAK

(a) After recharging the air conditioning system with refrigerant, inspect for refrigerant leaks using a halogen leak detector.

(b) Carry out the test under the following conditions:

* Ignition switch off.

* Secure good ventilation (the halogen leak detector may react to volatile gases which are not refrigerant, such as gasoline vapor and exhaust gas).

* Repeat the inspection 2 or 3 times.

* Measure the pressure to make sure that there is some refrigerant remaining in the air conditioning system.

Pressure when the compressor is off: approx. 392 to 588 kPa (3.9 to 5.9 kgf/cm2, 57 to 85 psi)

(c) Using a halogen leak detector, inspect for refrigerant leaks from the air conditioning system.





Text in Illustration





(d) Bring the halogen leak detector close to the drain hose with the detector power off, and then turn the detector on.





Text in Illustration





HINT
* After the blower motor has stopped, leave the cooling unit for more than 15 minutes.
* Bring the halogen leak detector sensor under the drain hose.
* When bringing the halogen leak detector close to the drain hose, make sure that the halogen leak detector does not react to volatile gases. If it is not possible to avoid interference from volatile gases, the vehicle should be lifted up to allow checking for leaks.

(e) If a refrigerant leak is not detected from the drain hose, remove the blower motor control from the cooling unit. Insert the halogen leak detector sensor into the unit and check for a leak.

(f) Disconnect the pressure sensor connector and leave it for approximately 20 minutes. Bring the halogen leak detector close to the pressure sensor and check for a leak.

HINT
When checking for leaks, the presence of oily dirt at a joint can indicate a leak.