Operation CHARM: Car repair manuals for everyone.
Manuals through 2025 now available!

Our trusted friends have launched a new website named LEMON, which has newer manuals. It also contains all the CHARM manuals.

LEMON is the spiritual successor to CHARM, I recommend you try it!

Link: lemon-manuals.la or lemon-manuals.org.ua

(Some people have issue connecting. LEMON is investigating. For now, use Firefox or change your DNS server)

Or, hide this message: temporarily or permanently

Active Control Engine Mount System





2GR-FE ENGINE CONTROL: SFI SYSTEM: Active Control Engine Mount System
- Active Control Engine Mount System

DESCRIPTION

LOCATION





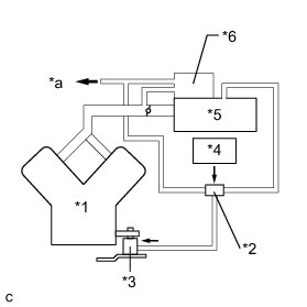
Text in Illustration





The active control engine mount system decreases engine vibration at a low engine speed using the duty vacuum switching valve (for active control engine mount). The duty vacuum switching valve (for active control engine mount) is controlled by a pulse signal transmitted to the duty vacuum switching valve (for active control engine mount) from the ECM. The frequency of this pulse signal is matched to the engine speed to decrease engine vibration.

WIRING DIAGRAM





INSPECTION PROCEDURE

NOTICE:
Inspect the fuses for circuits related to this system before performing the following inspection procedure.

PROCEDURE

1. CHECK VACUUM HOSES

(a) Check the air and vacuum hoses for looseness, disconnection and blockage.





OK:

No looseness, disconnection or blockage.

Text in Illustration





NG -- REPAIR OR REPLACE VACUUM HOSES
OK -- Continue to next step.

2. CHECK VACUUM

(a) Disconnect the vacuum hose from the air cleaner cap.





(b) Start the engine.

(c) Check that the disconnected port located on the vacuum tank applies suction to your finger.

OK:

Vacuum exists.

NG -- CHECK AND REPLACE VACUUM SOURCE AND HOSES
OK -- Continue to next step.

3. INSPECT DUTY VACUUM SWITCHING VALVE (FOR ACTIVE CONTROL ENGINE MOUNT) (OPERATION)

(a) Inspect the duty vacuum switching valve (for active control engine mount) operation Testing and Inspection.

NG -- REPLACE DUTY VACUUM SWITCHING VALVE (FOR ACTIVE CONTROL ENGINE MOUNT) Removal
OK -- Continue to next step.

4. INSPECT DUTY VACUUM SWITCHING VALVE (FOR ACTIVE CONTROL ENGINE MOUNT) (RESISTANCE)

(a) Inspect the duty vacuum switching valve (for active control engine mount) resistance Testing and Inspection.

NG -- REPLACE DUTY VACUUM SWITCHING VALVE (FOR ACTIVE CONTROL ENGINE MOUNT) Removal
OK -- Continue to next step.

5. INSPECT FRONT ENGINE MOUNTING INSULATOR ASSEMBLY

(a) Inspect the front engine mounting insulator assembly Active Control Engine Mount.

NG -- REPLACE FRONT ENGINE MOUNTING INSULATOR ASSEMBLY Removal
OK -- Continue to next step.

6. CHECK TERMINAL VOLTAGE (POWER SOURCE OF DUTY VACUUM SWITCHING VALVE (FOR ACTIVE CONTROL ENGINE MOUNT))

(a) Disconnect the duty vacuum switching valve (for active control engine mount) connector.





(b) Turn the engine switch on (IG).

(c) Measure the voltage according to the value(s) in the table below.

Standard Voltage:





Text in Illustration





NG -- CHECK HARNESS AND CONNECTOR (DUTY VACUUM SWITCHING VALVE (FOR ACTIVE CONTROL ENGINE MOUNT) - NO. 1 INTEGRATION RELAY)
OK -- Continue to next step.

7. CHECK HARNESS AND CONNECTOR (DUTY VACUUM SWITCHING VALVE (FOR ACTIVE CONTROL ENGINE MOUNT) - ECM)

(a) Disconnect the duty vacuum switching valve (for active control engine mount) connector.

(b) Disconnect the ECM connector.

(c) Measure the resistance according to the value(s) in the table below.

Standard Resistance:





NG -- REPAIR OR REPLACE HARNESS OR CONNECTOR

OK -- REPLACE ECM Removal

8. CHECK HARNESS AND CONNECTOR (DUTY VACUUM SWITCHING VALVE (FOR ACTIVE CONTROL ENGINE MOUNT) - NO. 1 INTEGRATION RELAY)

(a) Disconnect the duty vacuum switching valve (for active control engine mount) connector.

(b) Remove the No. 1 integration relay from the engine room relay block and junction block assembly.

(c) Measure the resistance according to the value(s) in the table below.

Standard Resistance:





NG -- REPAIR OR REPLACE HARNESS OR CONNECTOR

OK -- GO TO ECM POWER SOURCE CIRCUIT ECM Power Source Circuit